TOP
|
特許
|
意匠
|
商標
特許ウォッチ
Twitter
他の特許を見る
10個以上の画像は省略されています。
公開番号
2025147642
公報種別
公開特許公報(A)
公開日
2025-10-07
出願番号
2024047989
出願日
2024-03-25
発明の名称
液体吐出装置、及び、紫外線照射装置
出願人
セイコーエプソン株式会社
代理人
弁理士法人旺知国際特許事務所
主分類
B41J
2/01 20060101AFI20250930BHJP(印刷;線画機;タイプライター;スタンプ)
要約
【課題】照射ユニットから照射された紫外線の液体吐出ユニットへの到達を抑制する。
【解決手段】紫外線の照射により硬化する液体を媒体に吐出する液体吐出ユニットと、媒体上に吐出された液体に紫外線を照射する照射ユニットと、液体吐出ユニット及び照射ユニットを第1方向に並ぶように搭載し、媒体上を前記第1方向に移動するキャリッジと、キャリッジを移動させるためのモーターと、を備え、照射ユニットは、第1方向に交差する第2方向に向けて紫外線を出射する第1紫外線光源を含む複数の紫外線光源を含み、第1紫外線光源は、紫外線を出射する発光部と、発光部を封止するレンズ部と、を備え、レンズ部は、円柱形状の基台部と、第2方向において基台部に接続し、半球形状の先端部と、を含み、第2方向におけるレンズ部の長さは、基台部の直径よりも長い、ことを特徴とする液体吐出装置。
【選択図】図27
特許請求の範囲
【請求項1】
紫外線の照射により硬化する液体を媒体に吐出する液体吐出ユニットと、
前記媒体上に吐出された液体に紫外線を照射する照射ユニットと、
前記液体吐出ユニット及び前記照射ユニットを第1方向に並ぶように搭載し、前記媒体上を前記第1方向に移動するキャリッジと、
前記キャリッジを移動させるためのモーターと、
を備え、
前記照射ユニットは、前記第1方向に交差する第2方向に向けて紫外線を出射する第1紫外線光源を含む複数の紫外線光源を含み、
前記第1紫外線光源は、紫外線を出射する発光部と、前記発光部を封止するレンズ部と、を備え、
前記レンズ部は、円柱形状の基台部と、前記第2方向において前記基台部に接続し、半球形状の先端部と、を含み、
前記第2方向における前記レンズ部の長さは、前記基台部の直径よりも長い、
ことを特徴とする液体吐出装置。
続きを表示(約 1,600 文字)
【請求項2】
前記複数の紫外線光源は、前記第1方向と、前記第1方向及び前記第2方向に交差する第3方向とに並ぶように配置され、
前記複数の紫外線光源のうち前記第1方向に隣り合う2つの紫外線光源の間の距離は、
前記複数の紫外線光源のうち前記第3方向に隣り合う2つの紫外線光源の間の距離以上である、
ことを特徴とする、請求項1に記載の液体吐出装置。
【請求項3】
前記複数の紫外線光源は、前記第2方向に向けて紫外線を出射する第2紫外線光源を含み、
前記第1紫外線光源は、前記第3方向において前記第2紫外線光源と隣り合い、
前記第1紫外線光源から出射される紫外線の前記媒体上の照射範囲と、前記第2紫外線光源から出射される紫外線の前記媒体上の照射範囲とは、重複する、
ことを特徴とする、請求項1に記載の液体吐出装置。
【請求項4】
前記液体吐出装置は、ゴム製の特定部材を備え、
前記紫外線光源から出射される紫外線の波長は、250nm以上410nm以下である、
ことを特徴とする、請求項1に記載の液体吐出装置。
【請求項5】
前記照射ユニットは、前記複数の紫外線光源を冷却するためのヒートシンクを備える、
ことを特徴とする、請求項1に記載の液体吐出装置。
【請求項6】
前記照射ユニットは、前記紫外線光源と前記媒体との間に設けられた、紫外線を透過するカバー板を備える、
ことを特徴とする、請求項1に記載の液体吐出装置。
【請求項7】
前記紫外線光源を前記照射ユニットから取り外すことなく、前記カバー板を交換可能である、
ことを特徴とする、請求項6に記載の液体吐出装置。
【請求項8】
紫外線の照射により硬化する液体を媒体に吐出する液体吐出ユニットと、
前記液体吐出ユニットを搭載し、前記媒体上を第1方向に移動するキャリッジと、
前記キャリッジを移動させるためのモーターと、
を備える液体吐出装置に設けられ、
前記キャリッジにおいて前記液体吐出ユニットと前記第1方向に並ぶように搭載され、前記媒体上に吐出された液体に紫外線を照射する紫外線照射装置であって、
前記第1方向に交差する第2方向に向けて紫外線を出射する第1紫外線光源を含む複数の紫外線光源を備え、
前記第1紫外線光源は、紫外線を出射する発光部と、前記発光部を封止するレンズ部と、を備え、
前記レンズ部は、円柱形状の基台部と、前記第2方向において前記基台部に接続し、半球形状の先端部と、を含み、
前記第2方向における前記レンズ部の長さは、前記基台部の直径よりも長い、
ことを特徴とする紫外線照射装置。
【請求項9】
前記複数の紫外線光源は、前記第1方向と、前記第1方向及び前記第2方向に交差する第3方向とに並ぶように配置され、
前記複数の紫外線光源のうち前記第1方向に隣り合う2つの紫外線光源の間の距離は、
前記複数の紫外線光源のうち前記第3方向に隣り合う2つの紫外線光源の間の距離以上である、
ことを特徴とする、請求項8に記載の紫外線照射装置。
【請求項10】
前記複数の紫外線光源は、前記第2方向に向けて紫外線を出射する第2紫外線光源を含み、
前記第1紫外線光源は、前記第3方向において前記第2紫外線光源と隣り合い、
前記第1紫外線光源から出射される紫外線の前記媒体上の照射範囲と、前記第2紫外線光源から出射される紫外線の前記媒体上の照射範囲とは、重複する、
ことを特徴とする、請求項8に記載の紫外線照射装置。
(【請求項11】以降は省略されています)
発明の詳細な説明
【技術分野】
【0001】
本発明は、液体吐出装置、及び、紫外線照射装置に関する。
続きを表示(約 2,700 文字)
【背景技術】
【0002】
紫外線の照射により硬化する紫外線硬化インク(「液体」の一例)を媒体に吐出する液体吐出装置が知られている。例えば、特許文献1には、媒体に紫外線硬化インクを吐出する液体吐出ユニットと、媒体上に吐出された液体に紫外線を照射する照射ユニットと、液体吐出ユニット及び照射ユニットを搭載し、前記媒体上を移動するキャリッジと、キャリッジを移動させるためのモーターと、を備える液体吐出装置が開示されている。
【先行技術文献】
【特許文献】
【0003】
特開2022-017731号公報
【発明の概要】
【発明が解決しようとする課題】
【0004】
しかし、従来の技術によれば、照射ユニットから照射された紫外線が媒体で反射し、当該媒体で反射された紫外線が液体吐出ユニットに照射されることがあった。そして、液体吐出ユニットに対して紫外線が照射される場合、液体吐出ユニットのうち紫外線硬化インクを吐出するノズルの近傍において紫外線硬化インクが硬化してしまい、その結果、液体吐出ユニットから紫外線硬化インクを正常に吐出できなくなる吐出異常が発生することがあった。
【課題を解決するための手段】
【0005】
以上の課題を解決するために、本発明に係る液体吐出装置は、紫外線の照射により硬化する液体を媒体に吐出する液体吐出ユニットと、前記媒体上に吐出された液体に紫外線を照射する照射ユニットと、前記液体吐出ユニット及び前記照射ユニットを第1方向に並ぶように搭載し、前記媒体上を前記第1方向に移動するキャリッジと、前記キャリッジを移動させるためのモーターと、を備え、前記照射ユニットは、前記第1方向に交差する第2方向に向けて紫外線を出射する第1紫外線光源を含む複数の紫外線光源を含み、前記第1紫外線光源は、紫外線を出射する発光部と、前記発光部を封止するレンズ部と、を備え、前記レンズ部は、円柱形状の基台部と、前記第2方向において前記基台部に接続し、半球形状の先端部と、を含み、前記第2方向における前記レンズ部の長さは、前記基台部の直径よりも長い、ことを特徴とする。
【0006】
また、本発明に係る紫外線照射装置は、紫外線の照射により硬化する液体を媒体に吐出する液体吐出ユニットと、前記液体吐出ユニットを搭載し、前記媒体上を第1方向に移動するキャリッジと、前記キャリッジを移動させるためのモーターと、を備える液体吐出装置に設けられ、前記キャリッジにおいて前記液体吐出ユニットと前記第1方向に並ぶように搭載され、前記媒体上に吐出された液体に紫外線を照射する紫外線照射装置であって、前記第1方向に交差する第2方向に向けて紫外線を出射する第1紫外線光源を含む複数の紫外線光源を備え、前記第1紫外線光源は、紫外線を出射する発光部と、前記発光部を封止するレンズ部と、を備え、前記レンズ部は、円柱形状の基台部と、前記第2方向において前記基台部に接続し、半球形状の先端部と、を含み、前記第2方向における前記レンズ部の長さは、前記基台部の直径よりも長い、ことを特徴とする。
【図面の簡単な説明】
【0007】
本発明の第1実施形態に係るインクジェットプリンター1の構成の一例を示すブロック図である。
インクジェットプリンター1の概略的な内部構造の一例を示す斜視図である。
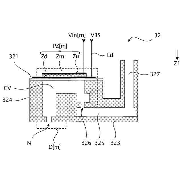
吐出部D[m]の構造の一例を説明するための断面図である。
キャリッジ110の搭載物の配置の一例を示す平面図である。
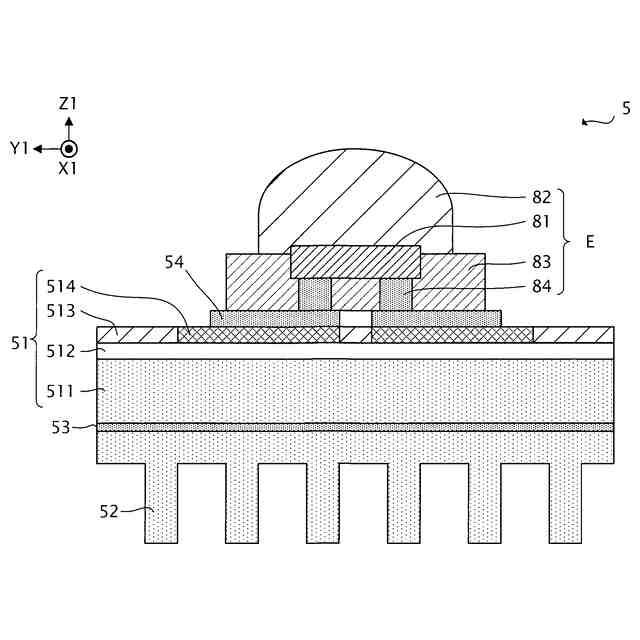
紫外線照射ユニット5の構成の一例を示す断面図である。
紫外線照射ユニット5及び紫外線光源Eの構成の一例を示す断面図である。
温度検出用集積回路7の構成の一例を示すブロック図である。
紫外線光源Eの放射束特性の一例を示す説明図である。
照度シミュレーションの前提を示す図である。
第1の照度シミュレーションの結果を示す図である。
従来例の概要を示すための説明図である。
各種金属の熱伝導率と比重を示す図である。
本発明の第2実施形態に係る紫外線照射ユニット5Bの構成の一例を示す断面図である。
照度シミュレーションの前提を示す図である。
第2の照度シミュレーションの結果を示す図である。
第3の照度シミュレーションの結果を示す図である。
第4の照度シミュレーションの結果を示す図である。
第5の照度シミュレーションの結果を示す図である。
第6の照度シミュレーションの結果を示す図である。
第7の照度シミュレーションの結果を示す図である。
第8の照度シミュレーションの結果を示す図である。
第2の照度シミュレーションから第8の照度シミュレーションまでの結果を示す図である。
本発明の第3実施形態に係る紫外線照射ユニット5Cの構成の一例を示す断面図である。
照度シミュレーションの前提を示す図である。
第9の照度シミュレーションの結果を示す図である。
第10の照度シミュレーションの結果を示す図である。
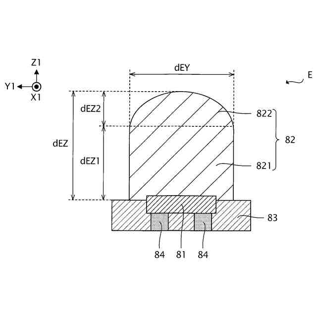
本発明の変形例1に係る紫外線光源Eの構成の一例を示す断面図である。
紫外線光源Eの指向特性の一例を示す断面図である。
【発明を実施するための形態】
【0008】
以下、本発明を実施するための形態について図面を参照して説明する。ただし、各図において、各部の寸法及び縮尺は、実際のものと適宜に異ならせてある。また、以下に述べる実施の形態は、本発明の好適な具体例であるから、技術的に好ましい種々の限定が付されているが、本発明の範囲は、以下の説明において特に本発明を限定する旨の記載がない限り、これらの形態に限られるものではない。
【0009】
<<A.第1実施形態>>
第1実施形態では、インクを吐出して記録用紙PPに画像を形成するインクジェットプリンター1を例示して、液体吐出装置を説明する。
【0010】
<<A.1.インクジェットプリンターの概要>>
以下、図1乃至図4を参照しつつ、第1実施形態に係るインクジェットプリンター1の構成の一例について説明する。
(【0011】以降は省略されています)
この特許をJ-PlatPat(特許庁公式サイト)で参照する
関連特許
個人
箔熱転写装置
29日前
シヤチハタ株式会社
印判
4か月前
キヤノン株式会社
記録装置
22日前
株式会社リコー
液体吐出装置
4か月前
株式会社リコー
画像形成装置
29日前
独立行政法人 国立印刷局
貼付機構
1か月前
株式会社リコー
液体吐出装置
5か月前
独立行政法人 国立印刷局
貼付装置
1か月前
株式会社リコー
液体吐出装置
1か月前
株式会社リコー
画像形成装置
10日前
株式会社リコー
印刷システム
10日前
株式会社リコー
画像形成装置
6日前
株式会社リコー
液体吐出装置
4か月前
理想科学工業株式会社
印刷装置
14日前
キヤノン株式会社
画像処理装置
4か月前
ブラザー工業株式会社
液体吐出ヘッド
22日前
キヤノン株式会社
画像形成装置
1か月前
ブラザー工業株式会社
プリンタ
4か月前
独立行政法人 国立印刷局
潜像印刷物
1か月前
キヤノン株式会社
画像形成装置
5か月前
独立行政法人 国立印刷局
潜像形成体
6日前
ブラザー工業株式会社
プリンタ
1か月前
キヤノン株式会社
画像形成装置
3か月前
キヤノン株式会社
画像記録装置
22日前
ブラザー工業株式会社
プリンタ
1か月前
株式会社リコー
画像形成システム
6日前
株式会社リコー
液体吐出装置
1か月前
独立行政法人 国立印刷局
潜像画像形成体
4か月前
独立行政法人 国立印刷局
インキ交換機構
2か月前
キヤノン株式会社
画像形成システム
10日前
株式会社リコー
画像記録装置
4か月前
株式会社リコー
液体を吐出する装置
7日前
個人
小型記録媒体への印刷システム
1か月前
株式会社リコー
感熱記録媒体
7日前
キヤノン株式会社
画像形成システム
10日前
ブラザー工業株式会社
タンク
4か月前
続きを見る
他の特許を見る