TOP
|
特許
|
意匠
|
商標
特許ウォッチ
Twitter
他の特許を見る
公開番号
2025147266
公報種別
公開特許公報(A)
公開日
2025-10-07
出願番号
2024047458
出願日
2024-03-25
発明の名称
把持を検出する検出システムおよび検出装置、ステアリング
出願人
豊田合成株式会社
代理人
弁理士法人明成国際特許事務所
主分類
B62D
1/06 20060101AFI20250930BHJP(鉄道以外の路面車両)
要約
【課題】ステアリングの把持を効果的に検出できる技術を提供する。
【解決手段】ステアリングの把持を検出する検出システムは、ステアリングを照射する照射光を発光する発光部と、ステアリングに設けられ、照射光を受光する受光部と、受光部において受光される照射光の受光結果を用いて、ステアリングの把持を検出する検出部と、を備える。
【選択図】図1
特許請求の範囲
【請求項1】
ステアリングの把持を検出する検出システムであって、
前記ステアリングを照射する照射光を発光する発光部と、
前記ステアリングに設けられ、前記照射光を受光する受光部と、
前記受光部において受光される前記照射光の受光結果を用いて、前記ステアリングの把持を検出する検出部と、を備える、検出システム。
続きを表示(約 1,600 文字)
【請求項2】
請求項1に記載の検出システムであって、
前記発光部は、前記ステアリングにおける第1領域および前記ステアリングにおける前記第1領域とは異なる第2領域を照射する照射光を発光し、
前記受光部は、
前記第1領域に設けられている第1受光部と、
前記第2領域に設けられている第2受光部と、を有し、
前記検出部は、前記第1受光部において受光される前記照射光の受光結果と前記第2受光部において受光される前記照射光の受光結果との少なくとも一方を用いて、前記ステアリングの把持を検出する、検出システム。
【請求項3】
請求項1または請求項2に記載の検出システムであって、更に、
前記ステアリングにおける運転者に把持される把持部に設けられ、前記運転者と前記把持部との間の静電容量を検出する静電センサ部を備え、
前記検出部は、前記受光結果と前記静電容量とを用いて、前記ステアリングの把持を検出する、検出システム。
【請求項4】
請求項3に記載の検出システムであって、
前記発光部は、車両を直進させるときの状態において運転者が正面から前記ステアリングを見た場合の鉛直方向における前記把持部の下部を照射する照射光を発光し、
前記受光部は、前記下部に設けられており、
前記静電センサ部は、前記鉛直方向における前記把持部の上部に設けられている、検出システム。
【請求項5】
請求項3に記載の検出システムであって、
前記発光部は、前記ステアリングの回転軸と接続される前記ステアリングの中央部に設けられており、前記把持部の内周部を照射する照射光を発光し、
前記受光部は、前記内周部に設けられており、
前記静電センサ部は、前記把持部の外周部に設けられている、検出システム。
【請求項6】
請求項3に記載の検出システムであって、
前記発光部は、前記把持部における前記静電センサ部が設けられている第3領域の少なくとも一部と重複する第4領域を照射する照射光を発光し、
前記受光部は、前記第4領域であって、前記把持部の芯金を中心とした径方向において前記静電センサ部よりも内側に設けられており、
前記静電センサ部は、前記第3領域に設けられており、前記第4領域において網目構造を有している、検出システム。
【請求項7】
請求項1または請求項2に記載の検出システムであって、
前記発光部は、前記ステアリングの回転軸と接続される前記ステアリングの中央部に設けられており、
前記受光部は、前記ステアリングにおける運転者に把持される把持部に設けられている、検出システム。
【請求項8】
請求項1または請求項2に記載の検出システムであって、
前記発光部は、前記ステアリングにおける運転者に把持される把持部に設けられており、
前記受光部は、前記ステアリングの回転軸と接続される前記ステアリングの中央部に設けられている、検出システム。
【請求項9】
ステアリングの把持を検出する検出装置であって、
前記ステアリングに設けられた受光素子から、発光素子によって前記ステアリングに照射された照射光の受光結果を取得する取得部と、
前記受光結果を用いて、前記ステアリングが把持されていることを検出する検出部と、を備える、検出装置。
【請求項10】
ステアリングであって、
前記ステアリングを照射する照射光を発光する発光部と、
前記照射光を受光する受光部と、
前記受光部において受光される前記照射光の受光結果を用いて、前記ステアリングの把持を検出する検出部と、を備える、ステアリング。
発明の詳細な説明
【技術分野】
【0001】
本開示は、把持を検出する検出システムおよび検出装置、ステアリングに関する。
続きを表示(約 2,400 文字)
【背景技術】
【0002】
運転者によるステアリングの把持を検出する技術が知られている。特許文献1には、感圧センサを用いて、ステアリングの把持を検出する技術が記載されている。
【先行技術文献】
【特許文献】
【0003】
特表2016-508917号公報
【発明の概要】
【発明が解決しようとする課題】
【0004】
しかし、感圧センサを用いてステアリングの把持を検出する場合、運転手の膝等の手以外の身体の他の部位がステアリングに接触している場合にも、運転者がステアリングを把持していると誤検出するおそれがあった。そのため、ステアリングの把持を効果的に検出できる技術が望まれていた。
【課題を解決するための手段】
【0005】
本開示は、上述の課題を解決するためになされたものであり、以下の形態として実現することが可能である。
【0006】
(1)本開示の一形態によれば、ステアリングの把持を検出する検出システムが提供される。この検出システムは、前記ステアリングを照射する照射光を発光する発光部と、前記ステアリングに設けられ、前記照射光を受光する受光部と、前記受光部において受光される前記照射光の受光結果を用いて、前記ステアリングの把持を検出する検出部と、を備える。
(2)上記形態の検出システムにおいて、前記発光部は、前記ステアリングにおける第1領域および前記ステアリングにおける前記第1領域とは異なる第2領域を照射する照射光を発光し、前記受光部は、前記第1領域に設けられている第1受光部と、前記第2領域に設けられている第2受光部と、を有し、前記検出部は、前記第1受光部において受光される前記照射光の受光結果と前記第2受光部において受光される前記照射光の受光結果との少なくとも一方を用いて、前記ステアリングの把持を検出してもよい。
(3)上記形態の検出システムにおいて、更に、前記ステアリングにおける運転者に把持される把持部に設けられ、前記運転者と前記把持部との間の静電容量を検出する静電センサ部を備え、前記検出部は、前記受光結果と前記静電容量とを用いて、前記ステアリングの把持を検出してもよい。
(4)上記形態の検出システムにおいて、前記発光部は、車両を直進させるときの状態において運転者が正面から前記ステアリングを見た場合の鉛直方向における前記把持部の下部を照射する照射光を発光し、前記受光部は、前記下部に設けられており、前記静電センサ部は、前記鉛直方向における前記把持部の上部に設けられてもよい。
(5)上記形態の検出システムにおいて、前記発光部は、前記ステアリングの回転軸と接続される前記ステアリングの中央部に設けられており、前記把持部の内周部を照射する照射光を発光し、前記受光部は、前記内周部に設けられており、前記静電センサ部は、前記把持部の外周部に設けられてもよい。
(6)上記形態の検出システムにおいて、前記把持部の芯金を中心とした径方向において前記静電センサ部よりも内側に設けられており、前記静電センサ部は、前記第3領域に設けられており、前記第4領域において網目構造を有してもよい。
(7)上記形態の検出システムにおいて、前記発光部は、前記ステアリングの回転軸と接続される前記ステアリングの中央部に設けられており、前記受光部は、前記ステアリングにおける運転者に把持される把持部に設けられてもよい。
(8)上記形態の検出システムにおいて、前記発光部は、前記ステアリングにおける運転者に把持される把持部に設けられており、前記受光部は、前記ステアリングの回転軸と接続される前記ステアリングの中央部に設けられてもよい。
【0007】
なお、本開示は、種々の形態で実現することが可能であり、例えば、ステアリングの把持を検出する方法等の態様で実現することが可能である。
【図面の簡単な説明】
【0008】
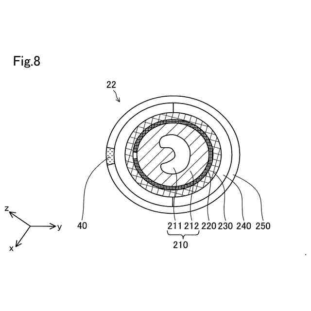
検出システムの概要を示す模式図である。
図1をII-IIラインで切断した断面模式図である。
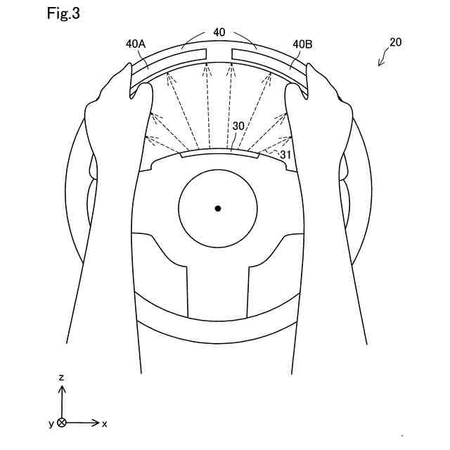
運転者に把持されたステアリングの一例を示す模式図である。
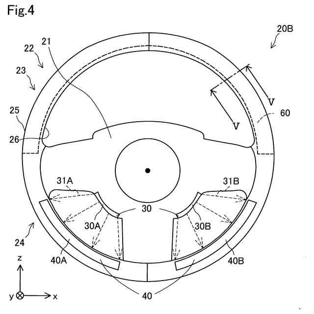
第2実施形態におけるステアリングの概要を示す模式図である。
図4をV-Vラインで切断した断面模式図である。
第3実施形態におけるステアリングの概要を示す模式図である。
図6をVII-VIIラインで切断した断面模式図である。
他の実施形態における把持部の一例の断面模式図である。
【発明を実施するための形態】
【0009】
A.第1実施形態:
図1は、本実施形態における検出システム100の概要を示す模式図である。検出システム100は、ステアリング20と、検出部54を有する検出装置50と、を備える。検出システム100は、運転者がステアリング20を把持していることを検出する。本実施形態において、ステアリング20は、車両の操舵装置の一部である。ステアリング20は、中央部21と把持部22と発光部30と受光部40とを有する。
【0010】
図1において、ステアリング20は、車両を直進させるときの状態で表している。図1には互いに直交するx軸、y軸、z軸を示している。x軸は、車両の左右方向である。y軸は、ステアリング20の回転軸に沿った方向である。z軸は、x軸、y軸と直交する方向である。z軸は、運転者から見て鉛直方向(鉛直上方および鉛直下方)から+y軸方向に向かって0度~10度の範囲で傾いた方向であり、単に上下方向ともいう。これらの軸は図1以降に示した軸に対応している。
(【0011】以降は省略されています)
この特許をJ-PlatPat(特許庁公式サイト)で参照する
関連特許
豊田合成株式会社
殺菌装置
25日前
豊田合成株式会社
発光素子
1か月前
豊田合成株式会社
表示装置
1か月前
豊田合成株式会社
操作装置
1か月前
豊田合成株式会社
着座装置
27日前
豊田合成株式会社
ガラスラン
11日前
豊田合成株式会社
半導体素子
1か月前
豊田合成株式会社
ガラスラン
18日前
豊田合成株式会社
ガラスラン
11日前
豊田合成株式会社
車両用内装品
13日前
豊田合成株式会社
車両用内装品
13日前
豊田合成株式会社
乗員保護装置
11日前
豊田合成株式会社
樹脂成形装置
19日前
豊田合成株式会社
流体殺菌装置
25日前
豊田合成株式会社
流体殺菌装置
25日前
豊田合成株式会社
車両用外装品
1か月前
豊田合成株式会社
車両用外装品
1か月前
豊田合成株式会社
車両用外装品
11日前
豊田合成株式会社
車載照明装置
1か月前
豊田合成株式会社
機器制御装置
11日前
豊田合成株式会社
流体殺菌装置
1か月前
豊田合成株式会社
乗員保護装置
5日前
豊田合成株式会社
流体殺菌装置
1か月前
豊田合成株式会社
流体殺菌装置
1か月前
豊田合成株式会社
電動液体ポンプ
11日前
豊田合成株式会社
空調用レジスタ
12日前
豊田合成株式会社
エアバッグ装置
5日前
豊田合成株式会社
空調用レジスタ
12日前
豊田合成株式会社
空調用レジスタ
12日前
豊田合成株式会社
電動液体ポンプ
11日前
豊田合成株式会社
立体エアバッグ
26日前
豊田合成株式会社
車両の前部構造
1か月前
豊田合成株式会社
ミスト噴射装置
1か月前
豊田合成株式会社
電動液体ポンプ
11日前
豊田合成株式会社
電動液体ポンプ
11日前
豊田合成株式会社
電動液体ポンプ
11日前
続きを見る
他の特許を見る