TOP
|
特許
|
意匠
|
商標
特許ウォッチ
Twitter
他の特許を見る
公開番号
2025128673
公報種別
公開特許公報(A)
公開日
2025-09-03
出願番号
2024025468
出願日
2024-02-22
発明の名称
操作装置
出願人
豊田合成株式会社
代理人
弁理士法人平田国際特許事務所
主分類
G06F
3/041 20060101AFI20250827BHJP(計算;計数)
要約
【課題】ユーザにプッシュ操作時の押し込んでいる触感を与えることができる操作装置を提供する。
【解決手段】操作装置1は、タッチ操作を受け付けるタッチ画像52を表示するタッチパネル5の表示面50上に配置される筐体2と、筐体2に支持され、プッシュ操作がなされる操作面300がタッチ画像52の上方に位置すると共にタッチ画像52を視認可能に透過させ、プッシュ操作によって先端部35が変位して表示面50と接触し、タッチパネル5にタッチ操作を受け付けさせるボタン部3と、を備えて概略構成されている。
【選択図】図2
特許請求の範囲
【請求項1】
タッチ操作を受け付けるタッチ画像を表示するタッチパネルの表示面上に配置される筐体と、
前記筐体に支持され、プッシュ操作がなされる操作面が前記タッチ画像の上方に位置すると共に前記タッチ画像を視認可能に透過させ、前記プッシュ操作によって先端部が変位して前記表示面と接触し、前記タッチパネルに前記タッチ操作を受け付けさせるボタン部と、
を備えた操作装置。
続きを表示(約 410 文字)
【請求項2】
前記筐体は、前記タッチ画像に応じて複数の前記ボタン部を有する、
請求項1に記載の操作装置。
【請求項3】
前記筐体は、前記タッチパネルからの光を遮光する、
請求項2に記載の操作装置。
【請求項4】
前記タッチ操作による前記ボタン部の変位をガイドするガイド部と、
前記ボタン部と前記ガイド部の間に配置され、前記プッシュ操作前の初期位置に前記ボタン部を復帰させる弾性力を付加する弾性部材と、
を備えた、
請求項3に記載の操作装置。
【請求項5】
前記ボタン部及び前記先端部は、導電性を有する、
請求項4に記載の操作装置。
【請求項6】
前記プッシュ操作による前記ボタン部の傾きながらの変位を抑制するパンタグラフ機構部を備えた、
請求項1乃至5のいずれか1項に記載の操作装置。
発明の詳細な説明
【技術分野】
【0001】
本発明は、操作装置に関する。
続きを表示(約 1,500 文字)
【背景技術】
【0002】
従来の技術として、タッチパネル部と操作指との間の距離に応じた値としての距離検出値及び当該操作指の位置を検出情報として出力する検出情報出力手段と、検出情報出力手段から出力される検出情報を参照し、プッシュ操作又はスライド操作を検出する操作検出手段と、を備えたタッチパネル装置が知られている(例えば、特許文献1参照。)。
【0003】
このタッチパネル装置の操作検出手段は、操作指がタッチパネル部と接触した前後における距離検出値の推移と、操作指の位置の推移から特定される操作指の移動方向とに基づいて、プッシュ操作とスライド操作とで検出感度を異ならせてプッシュ操作とスライド操作を検出することができる。
【先行技術文献】
【特許文献】
【0004】
特開2012-242924号公報
【発明の概要】
【発明が解決しようとする課題】
【0005】
従来のタッチパネル装置は、プッシュ操作に伴ってタッチパネル部が変位しないので、ユーザが物理スイッチのようなプッシュ操作時の押し込んでいる触感が得られない。
【0006】
従って本発明の目的は、ユーザにプッシュ操作時の押し込んでいる触感を与えることができる操作装置を提供することにある。
【課題を解決するための手段】
【0007】
本発明の一態様は、タッチ操作を受け付けるタッチ画像を表示するタッチパネルの表示面上に配置される筐体と、筐体に支持され、プッシュ操作がなされる操作面がタッチ画像の上方に位置すると共にタッチ画像を視認可能に透過させ、プッシュ操作によって先端部が変位して表示面と接触し、タッチパネルにタッチ操作を受け付けさせるボタン部と、を備えた操作装置を提供する。
【発明の効果】
【0008】
本発明によれば、ユーザにプッシュ操作時の押し込んでいる触感を与えることができる。
【図面の簡単な説明】
【0009】
図1(a)は、第1の実施の形態に係る操作装置の一例を示す斜視図であり、図1(b)は、操作装置の一例を示す上面図であり、図1(c)は、ボタン部の一例を示す上面図である。
図2(a)は、第1の実施の形態に係る操作装置を取り付ける前のタッチパネルの一例を示す図であり、図2(b)は、操作装置を取り付けた後のタッチパネルの一例を示す図であり、図2(c)は、操作装置の端部の一例を示す図である。
図3(a)は、第1の実施の形態に係る操作装置においてプッシュ操作前であって図1(c)におけるA-A線で切断した断面を矢印方向から見た断面図の一例であり、図3(b)は、プッシュ操作後の断面図の一例である。
図4(a)は、第2の実施の形態に係る操作装置のプッシュ操作前の一例を示す断面図であり、図4(b)は、プッシュ操作後の一例を示す断面図である。
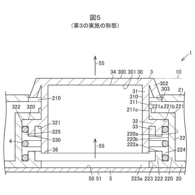
図5は、第3の実施の形態に係る操作装置の一例を示す断面図である。
【発明を実施するための形態】
【0010】
(実施の形態の要約)
実施の形態に係る操作装置は、タッチ操作を受け付けるタッチ画像を表示するタッチパネルの表示面上に配置される筐体と、筐体に支持され、プッシュ操作がなされる操作面がタッチ画像の上方に位置すると共にタッチ画像を視認可能に透過させ、プッシュ操作によって先端部が変位して表示面と接触し、タッチパネルにタッチ操作を受け付けさせるボタン部と、を備えて概略構成されている。
(【0011】以降は省略されています)
この特許をJ-PlatPat(特許庁公式サイト)で参照する
関連特許
豊田合成株式会社
積層体
11日前
豊田合成株式会社
調光装置
20日前
豊田合成株式会社
ガラスラン
1か月前
豊田合成株式会社
ガラスラン
1か月前
豊田合成株式会社
検知システム
6日前
豊田合成株式会社
機器制御装置
1か月前
豊田合成株式会社
車両用内装品
1か月前
豊田合成株式会社
乗員保護装置
26日前
豊田合成株式会社
車両用外装品
1か月前
豊田合成株式会社
乗員保護装置
7日前
豊田合成株式会社
車両用外装品
7日前
豊田合成株式会社
車両用ビーム
6日前
豊田合成株式会社
乗員保護装置
1か月前
豊田合成株式会社
車両用内装品
1か月前
豊田合成株式会社
車両用外装品
5日前
豊田合成株式会社
車両用ビーム
6日前
豊田合成株式会社
電動液体ポンプ
1か月前
豊田合成株式会社
車両用投影装置
13日前
豊田合成株式会社
電動液体ポンプ
1か月前
豊田合成株式会社
空調用レジスタ
1か月前
豊田合成株式会社
エアバッグ装置
26日前
豊田合成株式会社
空調用レジスタ
1か月前
豊田合成株式会社
立体エアバッグ
1か月前
豊田合成株式会社
空調用レジスタ
1か月前
豊田合成株式会社
車両用投影装置
7日前
豊田合成株式会社
電動液体ポンプ
1か月前
豊田合成株式会社
電動液体ポンプ
1か月前
豊田合成株式会社
車両用照明装置
13日前
豊田合成株式会社
電動液体ポンプ
1か月前
豊田合成株式会社
ステアリング装置
26日前
豊田合成株式会社
把持検知システム
1か月前
豊田合成株式会社
ステアリング装置
27日前
豊田合成株式会社
車両の前部構造体
20日前
豊田合成株式会社
ステアリング装置
27日前
豊田合成株式会社
車両の音出力装置
13日前
豊田合成株式会社
空調用レジスター
7日前
続きを見る
他の特許を見る