TOP
|
特許
|
意匠
|
商標
特許ウォッチ
Twitter
他の特許を見る
公開番号
2025125596
公報種別
公開特許公報(A)
公開日
2025-08-28
出願番号
2024021601
出願日
2024-02-16
発明の名称
流体殺菌装置
出願人
豊田合成株式会社
代理人
弁理士法人あいち国際特許事務所
主分類
A61L
2/10 20060101AFI20250821BHJP(医学または獣医学;衛生学)
要約
【課題】殺菌効率の高い流体殺菌装置を提供する。
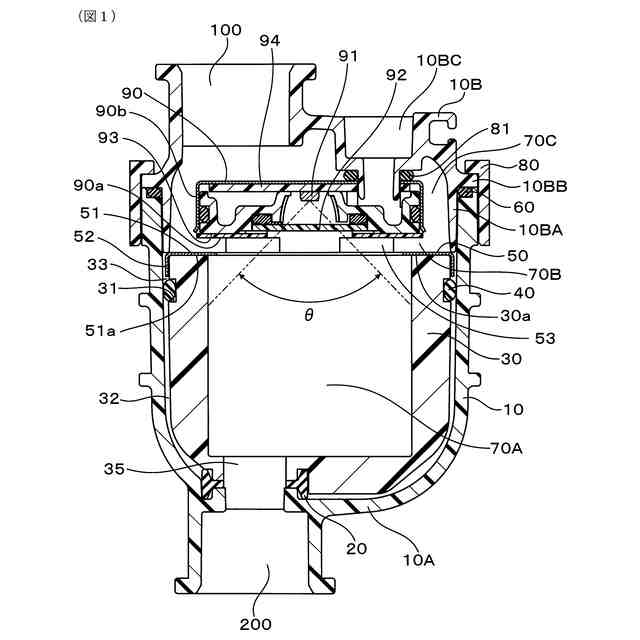
【解決手段】流体殺菌装置は、内部空間を有した筐体10と、内部空間に配置され、紫外光を放射し、紫外光の放射側の面である上面90aと、上面90aに角度を成す面である側面90bとを有し、側面90bと筐体10の内面との間に側部空間70Cを有するように配置された光源部90と、内部空間におい光源部90の上面90aに対向して配置され、光源部90側が開口した殺菌室70Aを有する殺菌室本体30と、内部空間において光源部90と殺菌室本体30の間に配置され、光源部90の上面90aに対向する整流面51aを有し、上面90aと整流面51aとの間に整流空間70Bを有するように配置された整流部51と、を有し、側部空間70Cから整流空間70Bを介して殺菌室70Aへと前記流体が流通する。
【選択図】図1
特許請求の範囲
【請求項1】
内部空間と、流体を前記内部空間に流入させるための流入口と、前記内部空間から前記流体を流出させるための流出口と、を有した筐体と、
前記内部空間に配置され、紫外光を放射し、前記紫外光の放射側の面である上面と、前記上面に角度を成す面である側面とを有し、前記側面と前記筐体の内面との間に側部空間を有するように配置された光源部と、
前記内部空間において前記光源部の前記上面に対向して配置され、前記光源部側が開口した殺菌室を有する殺菌室本体と、
前記内部空間において前記光源部と前記殺菌室本体の間に配置され、前記光源部の前記上面に対向する整流面を有し、前記上面と前記整流面との間に整流空間を有するように配置された整流部と、を有し、
前記側部空間から前記整流空間を介して前記殺菌室へ、または前記殺菌室から前記整流空間を介して前記側部空間へと前記流体が流通する、流体殺菌装置。
続きを表示(約 480 文字)
【請求項2】
前記整流部は、前記殺菌室本体の内面よりも前記殺菌室の中央側に突出している、請求項1に記載の流体殺菌装置。
【請求項3】
前記整流部は、前記殺菌室本体の軸方向における端面のうち前記光源部側の端面に接している、請求項1または請求項2に記載の流体殺菌装置。
【請求項4】
前記整流部は、前記紫外光の透過率が10%以下の材料からなる、請求項1に記載の流体殺菌装置。
【請求項5】
前記整流部は、SUSからなる、請求項4に記載の流体殺菌装置。
【請求項6】
前記整流部は、炭素を混合した樹脂からなる、請求項4に記載の流体殺菌装置。
【請求項7】
前記整流部に対しL字に接続する止水部をさらに有し、
前記筐体の内面と前記殺菌室本体の外面の間に隙間を有し、
前記止水部は前記隙間に挿入されている、請求項1または請求項2に記載の流体殺菌装置。
【請求項8】
前記整流部は、前記光源部の放射角の範囲外の領域に位置している、請求項1に記載の流体殺菌装置。
発明の詳細な説明
【技術分野】
【0001】
本発明は、流体殺菌装置に関する。
続きを表示(約 1,300 文字)
【背景技術】
【0002】
紫外光の照射によって流水中の細菌やウイルスを殺菌、不活化する殺菌装置が知られている。光源部には水銀ランプが広く用いられている。水銀ランプは水銀を用いているため毒性が強く、環境負荷が大きいという問題がある。また、水銀ランプを用いると殺菌装置が大型になる問題もある。そこで、水銀ランプから紫外LEDへの置き換えが進められている。
【0003】
特許文献1には、紫外LEDを用いた流体殺菌装置が記載されている。特許文献1の流体殺菌装置は、円柱状の殺菌室を有し、その殺菌室の一端に光源部を配置し、光源部の裏面側から流入した流体が、光源部の側方から殺菌室に流入し、殺菌室の他端から排出されるように構成されている。
【先行技術文献】
【特許文献】
【0004】
特開2023-10574号公報
【発明の概要】
【発明が解決しようとする課題】
【0005】
しかし、光源部の側方から流体が流れ込むように構成した場合、一部の流体は光源部の中心から離れてしまい、殺菌効率が十分でなかった。
【0006】
本発明は、かかる背景に鑑みてなされたものであり、殺菌効率の高い流体殺菌装置を提供しようとするものである。
【課題を解決するための手段】
【0007】
本発明の一態様は、
内部空間と、流体を前記内部空間に流入させるための流入口と、前記内部空間から前記流体を流出させるための流出口と、を有した筐体と、
前記内部空間に配置され、紫外光を放射し、前記紫外光の放射側の面である上面と、前記上面に角度を成す面である側面とを有し、前記側面と前記筐体の内面との間に側部空間を有するように配置された光源部と、
前記内部空間において前記光源部の前記上面に対向して配置され、前記光源部側が開口した殺菌室を有する殺菌室本体と、
前記内部空間において前記光源部と前記殺菌室本体の間に配置され、前記光源部の前記上面に対向する整流面を有し、前記上面と前記整流面との間に整流空間を有するように配置された整流部と、を有し、
前記側部空間から前記整流空間を介して前記殺菌室へ、または前記殺菌室から前記整流空間を介して前記側部空間へと前記流体が流通する、流体殺菌装置にある。
【発明の効果】
【0008】
上記態様では、整流部によって流体が側部空間から殺菌室の中央に導かれる。あるいは、殺菌室の中央から側部空間へと導かれる。殺菌室の中央は、紫外光の強度が高くなっている。そのため、流体の殺菌効率を向上させることができる。
【0009】
以上、上記態様によれば、殺菌効率の高い流体殺菌装置を実現することができる。
【図面の簡単な説明】
【0010】
実施形態における流体殺菌装置の構成を示した断面図。
実施形態における流体殺菌装置の外観を示した斜視図。
実施形態における流体殺菌装置の構成を示した分解図。
【発明を実施するための形態】
(【0011】以降は省略されています)
この特許をJ-PlatPat(特許庁公式サイト)で参照する
関連特許
豊田合成株式会社
着座装置
23日前
豊田合成株式会社
操作装置
1か月前
豊田合成株式会社
表示装置
1か月前
豊田合成株式会社
殺菌装置
21日前
豊田合成株式会社
発光素子
1か月前
豊田合成株式会社
半導体素子
29日前
豊田合成株式会社
ガラスラン
7日前
豊田合成株式会社
ガラスラン
14日前
豊田合成株式会社
ガラスラン
7日前
豊田合成株式会社
樹脂成形装置
15日前
豊田合成株式会社
車両用内装品
9日前
豊田合成株式会社
車両用内装品
9日前
豊田合成株式会社
流体殺菌装置
21日前
豊田合成株式会社
車両用外装品
7日前
豊田合成株式会社
機器制御装置
7日前
豊田合成株式会社
乗員保護装置
7日前
豊田合成株式会社
流体殺菌装置
21日前
豊田合成株式会社
車両用外装品
1か月前
豊田合成株式会社
流体殺菌装置
1か月前
豊田合成株式会社
乗員保護装置
1日前
豊田合成株式会社
車両用外装品
1か月前
豊田合成株式会社
車両用外装品
1か月前
豊田合成株式会社
車載照明装置
1か月前
豊田合成株式会社
流体殺菌装置
1か月前
豊田合成株式会社
流体殺菌装置
1か月前
豊田合成株式会社
情報処理装置
1か月前
豊田合成株式会社
乗員保護装置
1か月前
豊田合成株式会社
乗員保護装置
1か月前
豊田合成株式会社
空調用レジスタ
8日前
豊田合成株式会社
空調用レジスタ
8日前
豊田合成株式会社
空調用レジスタ
8日前
豊田合成株式会社
電動液体ポンプ
7日前
豊田合成株式会社
発光エンブレム
1か月前
豊田合成株式会社
ミスト噴射装置
1か月前
豊田合成株式会社
車両の前部構造
1か月前
豊田合成株式会社
立体エアバッグ
22日前
続きを見る
他の特許を見る