TOP
|
特許
|
意匠
|
商標
特許ウォッチ
Twitter
他の特許を見る
公開番号
2025119404
公報種別
公開特許公報(A)
公開日
2025-08-14
出願番号
2024014284
出願日
2024-02-01
発明の名称
車両用外装品
出願人
豊田合成株式会社
代理人
個人
,
個人
主分類
B60R
13/00 20060101AFI20250806BHJP(車両一般)
要約
【課題】コネクタ部が基材から剥離することを抑制できる車両用外装品を提供する。
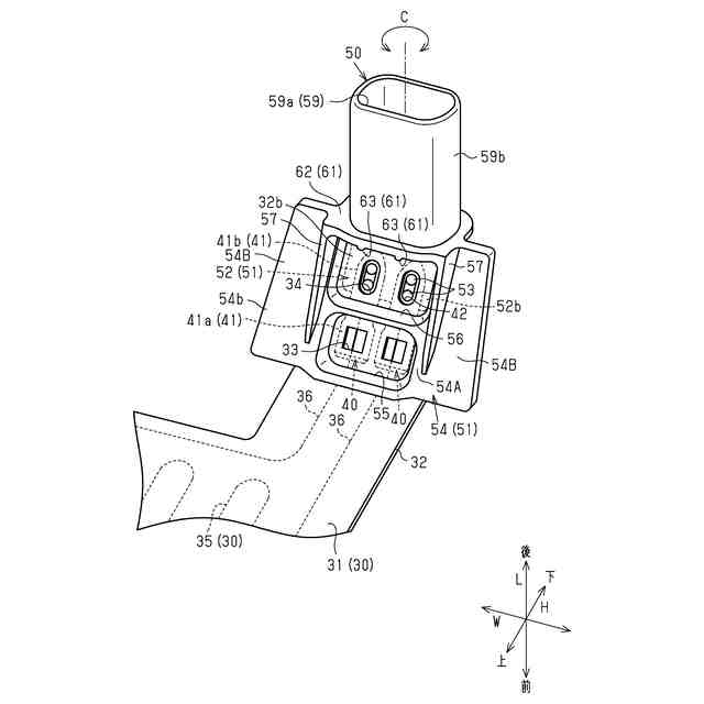
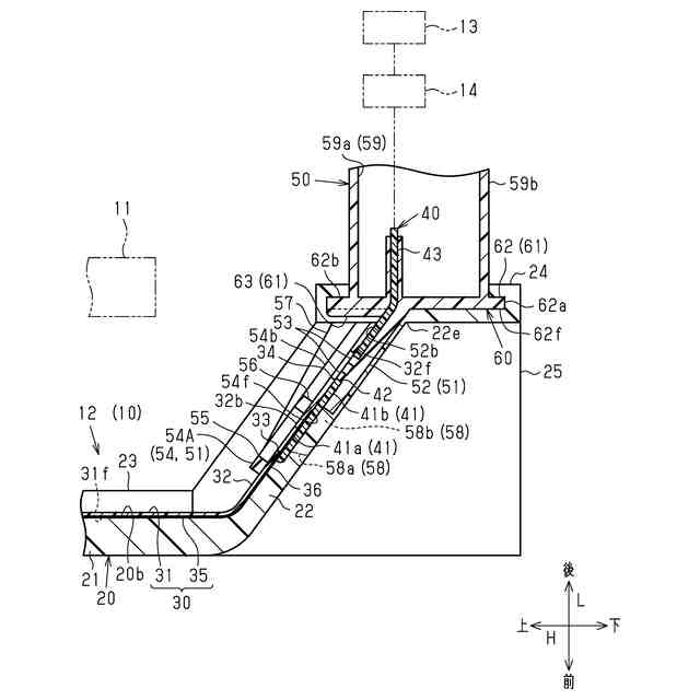
【解決手段】カバー12は、シート基材31及びヒータ線35を有するヒータ部30と、シート基材31に接合されたコネクタ部50と、ヒータ部30及びコネクタ部50をインサートしてヒータ部30及びコネクタ部50と一体に成形された樹脂製の基材20とを備えている。ハウジング59のうち基材20に埋設された部分には、ハウジング59の外周面59bから突出するとともに、前後方向Lの前面62f及び後面62bが基材20の第1壁部24に接合されたフランジ部61が設けられている。
【選択図】図3
特許請求の範囲
【請求項1】
樹脂製のシート基材及び前記シート基材に保持され、通電により発熱するヒータ線を有するヒータ部と、
前記シート基材に接合された樹脂製のコネクタ部と、
前記ヒータ部及び前記コネクタ部をインサートして前記ヒータ部及び前記コネクタ部と一体に成形された樹脂製の基材と、を備え、
前記コネクタ部は、一端が開口し、且つ他端が前記基材に埋設された筒状のハウジングを有する車両用外装品であって、
前記ハウジングの軸線に沿う方向を前記ハウジングの軸線方向とするとき、
前記ハウジングのうち前記基材に埋設された部分には、前記ハウジングの外周面から突出するとともに、前記軸線方向の一側及び他側の端面が前記基材に接合された突出部が設けられている、
車両用外装品。
続きを表示(約 500 文字)
【請求項2】
前記ハウジングの周方向を単に周方向とするとき、
前記突出部は、前記周方向において前記ハウジングの全体にわたって延在するフランジ部である、
請求項1に記載の車両用外装品。
【請求項3】
前記フランジ部は、前記周方向において前記ハウジングの全体にわたって延在するフランジ部本体と、前記フランジ部本体の一部に凹設または凸設された凹凸部と、を有しており、
前記周方向における前記凹凸部の端面が前記基材に接合されている、
請求項2に記載の車両用外装品。
【請求項4】
前記ヒータ線に電気的に接続される端子部をさらに備え、
前記コネクタ部は、前記ハウジングの前記他端に一体に連結されるとともに、前記端子部を保持する端子保持部を有しており、
前記端子保持部は、前記基材に接合されている、
請求項1~請求項3のいずれか一項に記載の車両用外装品。
【請求項5】
前記端子保持部は、前記基材に向けて突出するとともに前記基材に埋設されたリブを有している、
請求項4に記載の車両用外装品。
発明の詳細な説明
【技術分野】
【0001】
本発明は、車両用外装品に関する。
続きを表示(約 1,500 文字)
【背景技術】
【0002】
特許文献1には、レーダ装置の前方に配置される電磁波透過カバーが記載されている。この電磁波透過カバーは、樹脂製のカバー基材と、カバー基材の後面に隣接して配置されたヒータフィルムと、ヒータフィルムに接合されたコネクタとを備えている。
【0003】
カバー基材は、ヒータフィルム及びコネクタをインサートすることでヒータフィルム及びコネクタと一体に成形されている。
コネクタは、ヒータフィルムに電力を供給するための機器のコネクタ(以下、相手側コネクタ)が接続される樹脂製のコネクタハウジングを備えている。
【0004】
こうした電磁波透過カバーでは、コネクタハウジングの一部がカバー基材に埋設されることで、コネクタがカバー基材に支持されている。
【先行技術文献】
【特許文献】
【0005】
特開2023-67011号公報
【発明の概要】
【発明が解決しようとする課題】
【0006】
ところで、こうしたヒータフィルムを有する従来の車両用外装品においては、相手側コネクタがコネクタハウジングに接続される際、コネクタハウジングに対して例えば同コネクタハウジングの軸線方向または周方向に沿った荷重が印加される。このとき、上記荷重に対する応力は、コネクタハウジングとカバー基材との界面に集中する。その結果、コネクタがカバー基材から剥離するおそれがある。
【課題を解決するための手段】
【0007】
上記課題を解決するための車両用外装品の各態様を記載する。
[態様1]樹脂製のシート基材及び前記シート基材に保持され、通電により発熱するヒータ線を有するヒータ部と、前記シート基材に接合された樹脂製のコネクタ部と、前記ヒータ部及び前記コネクタ部をインサートして前記ヒータ部及び前記コネクタ部と一体に成形された樹脂製の基材と、を備え、前記コネクタ部は、一端が開口し、且つ他端が前記基材に埋設された筒状のハウジングを有する車両用外装品であって、前記ハウジングの軸線に沿う方向を前記ハウジングの軸線方向とするとき、前記ハウジングのうち前記基材に埋設された部分には、前記ハウジングの外周面から突出するとともに、前記軸線方向の一側及び他側の端面が前記基材に接合された突出部が設けられている、車両用外装品。
【0008】
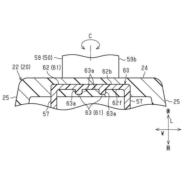
上記構成によれば、ハウジングのうち基材に埋設された部分(以下、埋設部分)には、突出部が設けられている。また、上記軸線方向における突出部の両端面は、基材に接合されている。このため、埋設部分と基材との界面に対して上記軸線方向に作用する応力が、突出部を設けることによって分散される。これにより、ハウジングに対して上記軸線方向に沿った荷重が印加された場合に、ハウジングが基材から剥離しにくくなる。したがって、コネクタ部が基材から剥離することを抑制できる。
【0009】
[態様2]前記ハウジングの周方向を単に周方向とするとき、前記突出部は、前記周方向において前記ハウジングの全体にわたって延在するフランジ部である、[態様1]に記載の車両用外装品。
【0010】
上記構成によれば、周方向においてハウジングの一部に突出部を設ける場合に比べて、ハウジングの軸線方向における突出部の両端面と基材との界面の面積が増大する。このため、埋設部分と基材との界面に対して上記軸線方向に作用する応力がより分散されるようになる。したがって、コネクタ部が基材から剥離することをより抑制できる。
(【0011】以降は省略されています)
この特許をJ-PlatPat(特許庁公式サイト)で参照する
関連特許
豊田合成株式会社
着座装置
22日前
豊田合成株式会社
発光素子
1か月前
豊田合成株式会社
殺菌装置
20日前
豊田合成株式会社
表示装置
1か月前
豊田合成株式会社
操作装置
1か月前
豊田合成株式会社
半導体素子
28日前
豊田合成株式会社
ガラスラン
6日前
豊田合成株式会社
ガラスラン
6日前
豊田合成株式会社
ガラスラン
13日前
豊田合成株式会社
機器制御装置
6日前
豊田合成株式会社
車両用外装品
6日前
豊田合成株式会社
車両用内装品
8日前
豊田合成株式会社
樹脂成形装置
14日前
豊田合成株式会社
乗員保護装置
6日前
豊田合成株式会社
流体殺菌装置
20日前
豊田合成株式会社
流体殺菌装置
20日前
豊田合成株式会社
車両用内装品
8日前
豊田合成株式会社
流体殺菌装置
1か月前
豊田合成株式会社
流体殺菌装置
1か月前
豊田合成株式会社
乗員保護装置
1か月前
豊田合成株式会社
乗員保護装置
今日
豊田合成株式会社
乗員保護装置
1か月前
豊田合成株式会社
情報処理装置
1か月前
豊田合成株式会社
流体殺菌装置
1か月前
豊田合成株式会社
車載照明装置
1か月前
豊田合成株式会社
車両用外装品
1か月前
豊田合成株式会社
車両用外装品
1か月前
豊田合成株式会社
ミスト噴射装置
1か月前
豊田合成株式会社
電動液体ポンプ
6日前
豊田合成株式会社
車両の前部構造
1か月前
豊田合成株式会社
空調用レジスタ
7日前
豊田合成株式会社
空調用レジスタ
7日前
豊田合成株式会社
立体エアバッグ
21日前
豊田合成株式会社
空調用レジスタ
7日前
豊田合成株式会社
電動液体ポンプ
6日前
豊田合成株式会社
電動液体ポンプ
6日前
続きを見る
他の特許を見る