TOP
|
特許
|
意匠
|
商標
特許ウォッチ
Twitter
他の特許を見る
公開番号
2025120859
公報種別
公開特許公報(A)
公開日
2025-08-18
出願番号
2024015990
出願日
2024-02-05
発明の名称
乗員保護装置
出願人
豊田合成株式会社
代理人
個人
主分類
B60R
21/207 20060101AFI20250808BHJP(車両一般)
要約
【課題】シートの前方に配置されたエアバッグから受ける反力によって後方に弾かれた乗員を保護することができる乗員保護装置を提供する。
【解決手段】乗員保護装置30は、助手席3の前方に配置され、膨張用ガスが供給されることによって膨張するエアバッグ50と、エアバッグ50に供給される膨張用ガスを放出するインフレーター14と、助手席3に配置され、膨張用ガスが供給されることによって膨張するエアバッグ61と、エアバッグ61に供給される膨張用ガスを放出するインフレーター62と、インフレーター14、62を制御する制御部90とを備える。制御部90は、エアバッグ50が膨張を完了した後にエアバッグ61が膨張を完了するように、インフレーター14、62を制御する。
【選択図】図8
特許請求の範囲
【請求項1】
車両のシートに着座する乗員を保護する乗員保護装置において、
前記シートの前方に配置され、膨張用ガスが供給されることによって膨張する第1エアバッグと、
前記第1エアバッグに供給される膨張用ガスを放出する第1インフレーターと、
前記シートに配置され、膨張用ガスが供給されることによって膨張する第2エアバッグと、
前記第2エアバッグに供給される膨張用ガスを放出する第2インフレーターと、
前記第1インフレーターと前記第2インフレーターとを制御する制御部と、
を備え、
前記制御部は、前記第1エアバッグが膨張を完了した後に前記第2エアバッグが膨張を完了するように、前記第1インフレーターと前記第2インフレーターとを制御することを特徴とする乗員保護装置。
続きを表示(約 340 文字)
【請求項2】
前記第1エアバッグは、前記車両のインストルメントパネルに配置されていることを特徴とする請求項1に記載の乗員保護装置。
【請求項3】
前記第1エアバッグは、前記車両のステアリングホイールに配置されていることを特徴とする請求項1に記載の乗員保護装置。
【請求項4】
前記シートは、背もたれ部と座部とを備え、
前記第2エアバッグは前記背もたれ部に配置されていることを特徴とする請求項1乃至3のいずれか1項に記載の乗員保護装置。
【請求項5】
前記シートは、背もたれ部と座部とを備え、
前記第2エアバッグは前記座部に配置されていることを特徴とする請求項1乃至3のいずれか1項に記載の乗員保護装置。
発明の詳細な説明
【技術分野】
【0001】
本発明は、車両のシートに着座する乗員を保護する乗員保護装置に関する。
続きを表示(約 1,600 文字)
【背景技術】
【0002】
特許文献1、2に記載の構成のように、車両のシートの前方に配置されたインストルメントパネルやステアリングホイールにエアバッグを設けることにより、シートに着座する乗員を保護する構成が従来から知られている。これらのエアバッグは、インフレーターから膨張用ガスが供給されることによって膨張し、車両の衝突により前方移動する乗員を受け止めて保護する。
【先行技術文献】
【特許文献】
【0003】
特開2011-230701号公報
特開2020-142607号公報
【発明の概要】
【発明が解決しようとする課題】
【0004】
特許文献1、2では、エアバッグに受け止められた後、エアバッグから受ける反力によって後方に弾かれた乗員を保護するための構成が記載されていない。
【0005】
そこで本発明は、シートの前方に配置されたエアバッグから受ける反力によって後方に弾かれた乗員を保護することができる乗員保護装置を提供することを目的とする。
【課題を解決するための手段】
【0006】
上記課題を解決するための本発明に係る乗員保護装置の代表的な構成は、車両のシートに着座する乗員を保護する乗員保護装置において、前記シートの前方に配置され、膨張用ガスが供給されることによって膨張する第1エアバッグと、前記第1エアバッグに供給される膨張用ガスを放出する第1インフレーターと、前記シートに配置され、膨張用ガスが供給されることによって膨張する第2エアバッグと、前記第2エアバッグに供給される膨張用ガスを放出する第2インフレーターと、前記第1インフレーターと前記第2インフレーターとを制御する制御部と、を備え、前記制御部は、前記第1エアバッグが膨張を完了した後に前記第2エアバッグが膨張を完了するように、前記第1インフレーターと前記第2インフレーターとを制御することを特徴とする。
【0007】
本発明によれば、乗員保護装置において、シートの前方に配置されたエアバッグから受ける反力によって後方に弾かれた乗員を保護することができる。
【図面の簡単な説明】
【0008】
インストルメントパネルの斜視概略図である。
車両の助手席の周囲を左側から見た図である。
第一エアバッグ装置の断面概略図である。
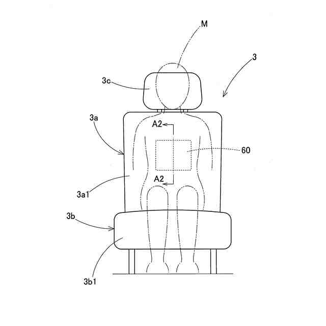
助手席の正面概略図である
助手席のフレームの斜視概略図である。
第二エアバッグ装置の断面概略図である。
車両が衝突した際の第一エアバッグ装置と第二エアバッグ装置の動作を示す模式図である。
車両が衝突した際の第一エアバッグ装置と第二エアバッグ装置の動作を示す模式図である。
【発明を実施するための形態】
【0009】
以下、本発明の一実施形態に係る乗員保護装置30について図面を参照しながら説明する。以下の説明では、特定的な記載がない限り、左右方向は車両1の助手席3に着座する乗員Mから見た左方向と右方向を意味し、前後方向は助手席3に着座する乗員Mから見た前方向と後方向を意味する。上下方向は、鉛直方向の上方向と下方向を意味する。なお、以下の説明中の構成部品の寸法、材質、形状等は、特定的な記載がない限り、この発明の範囲をそれらのみに限定する趣旨のものではない。
【0010】
図1は、車両1のインストルメントパネル2(以下、「インパネ2」という。)の斜視概略図である。図2は、車両1の助手席3の周囲を左側から見た図であり、インパネ2や第一エアバッグ装置10を図1に示すA1-A1断面で切断した断面で示し、膨張完了時のエアバッグ50の外形と乗員Mの外形を二点鎖線で示している。図3は、第一エアバッグ装置10の断面概略図である。
(【0011】以降は省略されています)
この特許をJ-PlatPat(特許庁公式サイト)で参照する
関連特許
豊田合成株式会社
殺菌装置
24日前
豊田合成株式会社
表示装置
1か月前
豊田合成株式会社
操作装置
1か月前
豊田合成株式会社
着座装置
26日前
豊田合成株式会社
ガラスラン
10日前
豊田合成株式会社
ガラスラン
10日前
豊田合成株式会社
半導体素子
1か月前
豊田合成株式会社
ガラスラン
17日前
豊田合成株式会社
機器制御装置
10日前
豊田合成株式会社
乗員保護装置
10日前
豊田合成株式会社
車両用内装品
12日前
豊田合成株式会社
車両用内装品
12日前
豊田合成株式会社
車両用外装品
10日前
豊田合成株式会社
樹脂成形装置
18日前
豊田合成株式会社
流体殺菌装置
24日前
豊田合成株式会社
流体殺菌装置
24日前
豊田合成株式会社
流体殺菌装置
1か月前
豊田合成株式会社
車両用外装品
1か月前
豊田合成株式会社
車両用外装品
1か月前
豊田合成株式会社
乗員保護装置
4日前
豊田合成株式会社
立体エアバッグ
25日前
豊田合成株式会社
空調用レジスタ
11日前
豊田合成株式会社
空調用レジスタ
11日前
豊田合成株式会社
空調用レジスタ
11日前
豊田合成株式会社
電動液体ポンプ
10日前
豊田合成株式会社
電動液体ポンプ
10日前
豊田合成株式会社
電動液体ポンプ
10日前
豊田合成株式会社
電動液体ポンプ
10日前
豊田合成株式会社
エアバッグ装置
4日前
豊田合成株式会社
電動液体ポンプ
10日前
豊田合成株式会社
車両の前部構造
1か月前
豊田合成株式会社
立体エアバッグ
10日前
豊田合成株式会社
ステアリング装置
5日前
豊田合成株式会社
車両の音出力装置
14日前
豊田合成株式会社
ステアリング装置
6日前
豊田合成株式会社
把持検知システム
6日前
続きを見る
他の特許を見る