TOP
|
特許
|
意匠
|
商標
特許ウォッチ
Twitter
他の特許を見る
10個以上の画像は省略されています。
公開番号
2025146972
公報種別
公開特許公報(A)
公開日
2025-10-03
出願番号
2025126602,2021122366
出願日
2025-07-29,2021-01-20
発明の名称
情報処理装置、情報処理方法及びプログラム
出願人
株式会社MIXI
代理人
主分類
G06Q
50/10 20120101AFI20250926BHJP(計算;計数)
要約
【課題】プレイヤが繰り返しクエストをプレイするように促すことを可能とする技術を提供すること。
【解決手段】1以上のクエストにおける複数のミッションの達成度を管理する管理部と、前記達成度に応じて、プレイヤが前記クエストで使用可能な効果を制御する制御部と、を有する、情報処理装置を提供する。
【選択図】図3
特許請求の範囲
【請求項1】
1以上のクエストにおける複数のミッションの達成度を管理する管理部と、
前記達成度に応じて、プレイヤが前記クエストで使用可能な効果を制御する制御部と、
を有する情報処理装置。
発明の詳細な説明
【技術分野】
【0001】
本発明は、情報処理装置、情報処理方法及びプログラムに関する。
続きを表示(約 1,200 文字)
【背景技術】
【0002】
デッキと呼ばれる、複数のキャラクタから構成されるチームを用いて、クエストをクリアしていくゲームが知られている。例えば、特許文献1には、プレイヤが所持するプレイヤキャラクタを用いてクエストを実行するゲームが開示されている。
【先行技術文献】
【特許文献】
【0003】
特開2020-044320号公報
【発明の概要】
【発明が解決しようとする課題】
【0004】
クエストをクリアしていくことを繰り返していると、プレイヤはゲームをプレイすることに飽きてしまう可能性がある。そのため、プレイヤが、長期間ゲームを楽しめるようにするための仕組みが必要である。
【0005】
そこで、本発明は、プレイヤが繰り返しクエストをプレイするように促すことを可能とする技術を提供することを目的とする。
【課題を解決するための手段】
【0006】
本発明の一態様に係る情報処理装置は、1以上のクエストにおける複数のミッションの達成度を管理する管理部と、前記達成度に応じて、プレイヤが前記クエストで使用可能な効果を制御する制御部と、を有する。
【発明の効果】
【0007】
本発明によれば、プレイヤが繰り返しクエストをプレイするように促すことを可能とする技術を提供することができる。
【図面の簡単な説明】
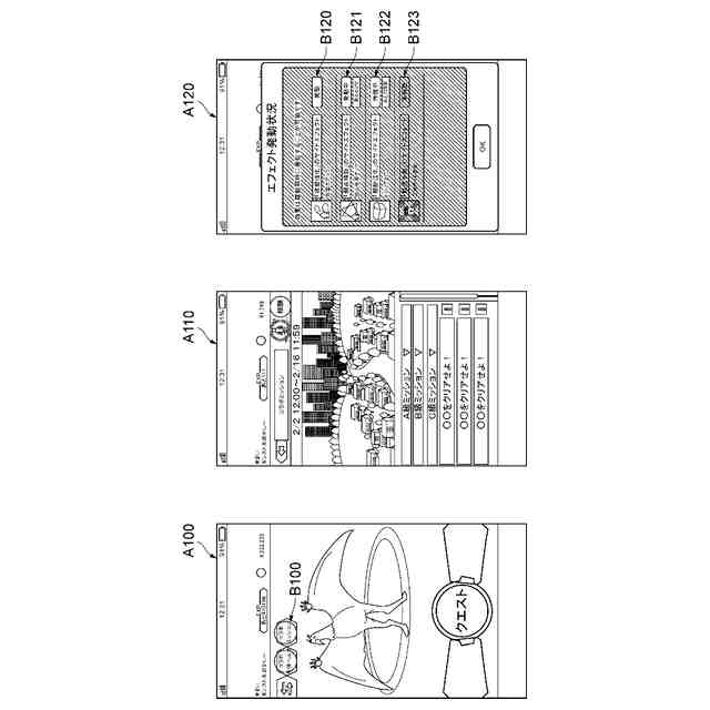
【0008】
本実施形態に係るゲームシステムのシステム構成の一例を示す図である。
ゲームサーバ及び端末のハードウェア構成の一例を示す図である。
ゲームサーバの機能ブロック構成例を示す図である。
プレイヤ管理DB及びミッション定義DBの一例を示す図である。
エフェクト設定DB及びエフェクト管理DBの一例を示す図である。
端末の機能ブロック構成例を示す図である。
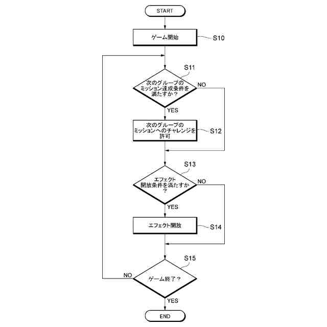
ゲームサーバが行う処理手順の一例を示すフローチャートである。
ゲームサーバが行う処理手順の一例を示すフローチャートである。
ゲーム画面の一例を示す図である。
ゲーム画面の一例を示す図である。
【発明を実施するための形態】
【0009】
添付図面を参照して、本発明の実施形態について説明する。なお、各図において、同一の符号を付したものは、同一又は同様の構成を有する。
【0010】
<システム構成>
図1は、本実施形態に係るゲームシステム1のシステム構成の一例を示す図である。図1に示すゲームシステム1は、ゲームサーバ10と、複数の端末20とを備える。ゲームサーバ10及び端末20は、インターネット、イントラネット、無線LAN又は移動通信等の通信ネットワークNを介して互いに通信可能に接続されている。
(【0011】以降は省略されています)
この特許をJ-PlatPat(特許庁公式サイト)で参照する
関連特許
株式会社MIXI
情報処理装置、情報処理方法、プログラム及びシステム
27日前
株式会社MIXI
情報処理装置、情報処理方法、プログラム及びゲームシステム
1か月前
株式会社MIXI
情報処理装置、情報処理方法、プログラム及び情報処理システム
26日前
株式会社MIXI
情報処理装置、情報処理方法、プログラム及び情報処理システム
1か月前
株式会社MIXI
情報処理装置、情報処理システム、情報処理方法、及びプログラム
1か月前
株式会社MIXI
情報処理装置、情報処理方法、情報処理プログラムおよび情報処理システム
2か月前
株式会社MIXI
ゲーム装置及びプログラム
2か月前
株式会社MIXI
情報処理装置及びプログラム
1か月前
株式会社MIXI
情報処理装置およびプログラム
1か月前
株式会社MIXI
情報処理装置、及びプログラム
25日前
株式会社MIXI
情報処理装置、およびプログラム
2か月前
株式会社MIXI
情報処理装置、及び情報処理プログラム
1か月前
株式会社MIXI
情報処理装置、情報処理方法及びプログラム
4日前
株式会社MIXI
情報処理装置、情報処理方法及びプログラム
1か月前
株式会社MIXI
情報処理装置、情報処理方法及びプログラム
11日前
株式会社MIXI
情報処理装置、情報処理方法及びプログラム
1か月前
株式会社MIXI
情報処理装置、情報処理方法及びプログラム
13日前
株式会社MIXI
情報処理装置、情報処理方法及びプログラム
1か月前
株式会社MIXI
情報処理装置、情報処理方法及びプログラム
1か月前
株式会社MIXI
情報処理装置、プログラム及び情報処理方法
1か月前
株式会社MIXI
情報処理装置、情報処理方法及びプログラム
1か月前
株式会社MIXI
情報処理装置、情報処理方法及びプログラム
1か月前
株式会社MIXI
情報処理装置、情報処理方法及びプログラム
1か月前
株式会社MIXI
情報処理装置、情報処理方法及びプログラム
1か月前
株式会社MIXI
情報処理装置、情報処理方法及びプログラム
2か月前
株式会社MIXI
情報処理装置、プログラム及び情報処理方法
25日前
株式会社MIXI
情報処理装置、プログラムおよび情報処理方法
2か月前
株式会社MIXI
情報処理装置、情報処理方法およびプログラム
4日前
株式会社MIXI
情報処理装置、情報処理方法、及びプログラム
1か月前
株式会社MIXI
情報処理装置、情報処理方法、及びプログラム
25日前
株式会社MIXI
情報処理装置、プログラムおよび情報処理方法
25日前
株式会社MIXI
情報処理装置、プログラム、及び情報処理方法
1か月前
株式会社MIXI
情報処理装置、情報処理方法およびプログラム
4日前
株式会社MIXI
情報処理装置、制御プログラム、及び制御方法
25日前
株式会社MIXI
情報処理システム、サーバ装置、およびプログラム
1か月前
株式会社MIXI
表示制御プログラム、情報処理装置及び情報処理方法
1か月前
続きを見る
他の特許を見る