TOP
|
特許
|
意匠
|
商標
特許ウォッチ
Twitter
他の特許を見る
公開番号
2025146893
公報種別
公開特許公報(A)
公開日
2025-10-03
出願番号
2025123748,2022551440
出願日
2025-07-24,2021-09-09
発明の名称
半導体装置の駆動方法
出願人
株式会社半導体エネルギー研究所
代理人
主分類
G11C
11/22 20060101AFI20250926BHJP(情報記憶)
要約
【課題】信頼性の高い半導体装置を提供する。
【解決手段】第1の強誘電キャパシタを有するメモリセルと、第2の強誘電キャパシタを有する参照メモリセルと、が設けられる半導体装置。第1の期間において、メモリセルへの第1の2値データの書き込み、及び参照メモリセルへの第1の参照2値データの書き込みを行う。第2の期間において、メモリセルからの第1の2値データの読み出し、及び参照メモリセルからの第1の参照2値データの読み出しを行う。第3の期間において、第1の2値データと、第1の参照2値データと、の論理演算を行う。第4の期間において、メモリセルへの第2の2値データの書き込み、及び参照メモリセルへの第2の参照2値データの書き込みを行う。第1の2値データの値と、第2の2値データの値と、は異なり、第1の参照2値データの値と、第2の参照2値データの値と、は異なる。
【選択図】図2
特許請求の範囲
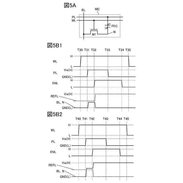
【請求項1】
強誘電キャパシタを有するメモリセルが設けられる半導体装置の駆動方法であって、
第1の期間において、前記メモリセルに、2値データを書き込み、
第2の期間において、前記メモリセルから、前記2値データを読み出し、
第3の期間において、前記強誘電キャパシタに分極反転を発生させることにより、前記メモリセルに前記2値データを書き戻す、半導体装置の駆動方法。
発明の詳細な説明
【技術分野】
【0001】
本発明の一態様は、半導体装置、及びその駆動方法に関する。
続きを表示(約 1,900 文字)
【0002】
なお本発明の一態様は、上記の技術分野に限定されない。本明細書等で開示する発明の技術分野は、物、駆動方法、又は、製造方法に関するものである。又は、本発明の一態様は、プロセス、マシン、マニュファクチャ、又は、組成物(コンポジション・オブ・マター)に関するものである。そのため、より具体的に本明細書で開示する本発明の一態様の技術分野としては、半導体装置、表示装置、液晶表示装置、発光装置、蓄電装置、撮像装置、記憶装置、信号処理装置、センサ、プロセッサ、電子機器、システム、それらの駆動方法、それらの製造方法、又はそれらの検査方法を一例として挙げることができる。
【背景技術】
【0003】
近年、半導体装置の開発が進められ、LSI、CPU、メモリ等が主に半導体装置に用いられている。CPUは、半導体ウェハを加工し、チップ化された半導体集積回路(少なくともトランジスタ及びメモリ)を有し、接続端子である電極が形成された半導体素子の集合体である。
【0004】
LSI、CPU、メモリ等の半導体回路(ICチップ)は、回路基板、例えばプリント配線基板に実装され、様々な電子機器の部品の一つとして用いられる。
【0005】
また、絶縁表面を有する基板上に形成された半導体薄膜を用いてトランジスタを構成する技術が注目されている。該トランジスタは集積回路(IC)、画像表示装置(単に表示装置とも表記する)のような電子デバイスに広く応用されている。トランジスタに適用可能な半導体薄膜としてシリコン系半導体材料、及び酸化物半導体等が知られている。
【0006】
また、非特許文献1に示すように、強誘電体(ferroelectric)を用いたメモリセルの研究開発が活発に行われている。また、次世代の強誘電性メモリのために、強誘電性のHfO
2
ベースの材料の研究(非特許文献2)、ハフニウム酸化物薄膜の強誘電性に関する研究(非特許文献3)、及びHfO
2
薄膜の強誘電性(非特許文献4)等、酸化ハフニウムに関する研究も活発に行われている。
【先行技術文献】
【非特許文献】
【0007】
T.S.Boescke,et al,“Ferroelectricity in hafnium oxide thin films”,APL99,2011
Zhen Fan,et al,“Ferroelectric HfO2-based materials for next-generation ferroelectric memories”,JOURNAL OF ADVANCED DIELECTRICS,Vol.6,No.2,2016
Jun Okuno,et al,“SoC compatible 1T1C FeRAM memory array based on ferroelectric Hf0.5Zr0.5O2”,VLSI 2020
鳥海 明、「HfO2薄膜の強誘電性」、応用物理学会、第88巻、第9号、2019
【発明の概要】
【発明が解決しようとする課題】
【0008】
強誘電体を用いたメモリセルに書き込まれたデータの読み出しを繰り返し行うと、強誘電体における分極反転が繰り返し行われる場合がある。これにより、疲労劣化が発生し、メモリセルへのデータの書き込み時等における強誘電体の分極が小さくなる場合がある。よって、半導体装置の信頼性が低下する場合がある。
【0009】
本発明の一態様は、信頼性の高い半導体装置、及びその駆動方法を提供することを課題の一とする。又は、本発明の一態様は、新規な半導体装置、及びその駆動方法を提供することを課題の一とする。
【0010】
なお本発明の一態様の課題は、上記列挙した課題に限定されない。上記列挙した課題は、他の課題の存在を妨げるものではない。なお他の課題は、以下の記載で述べる、本項目で言及していない課題である。本項目で言及していない課題は、当業者であれば明細書又は図面等の記載から導き出せるものであり、これらの記載から適宜抽出することができる。なお、本発明の一態様は、上記列挙した課題、及び他の課題のうち、少なくとも一つの課題を解決するものである。なお、本発明の一態様は、上記列挙した課題、及び他の課題の全てを解決する必要はない。
【課題を解決するための手段】
(【0011】以降は省略されています)
この特許をJ-PlatPat(特許庁公式サイト)で参照する
関連特許
日本発條株式会社
記録装置
1か月前
RAMXEED株式会社
記憶装置
26日前
株式会社ナノバブル研究所
データ消去装置
1か月前
ローム株式会社
RAM
1か月前
キオクシア株式会社
半導体記憶装置
2か月前
ローム株式会社
メモリ装置
2か月前
キオクシア株式会社
記憶装置
2か月前
キオクシア株式会社
記憶装置
2か月前
キオクシア株式会社
半導体記憶装置
1か月前
ローム株式会社
半導体記憶装置
2か月前
株式会社東芝
磁気ヘッド、及び、磁気記録装置
1か月前
ローム株式会社
半導体記憶装置
2か月前
株式会社東芝
磁気ヘッド、及び、磁気記録装置
2か月前
キオクシア株式会社
記憶装置
2か月前
ローム株式会社
半導体メモリ装置
26日前
ローム株式会社
不揮発性メモリ装置
1か月前
ローム株式会社
不揮発性メモリ装置
1か月前
ローム株式会社
不揮発性メモリ装置
1か月前
キオクシア株式会社
磁気記憶装置
2か月前
キオクシア株式会社
メモリシステム
2か月前
キオクシア株式会社
メモリデバイス
1か月前
キオクシア株式会社
メモリデバイス
1か月前
キオクシア株式会社
半導体記憶装置
2か月前
株式会社JVCケンウッド
車載装置
17日前
キオクシア株式会社
半導体記憶装置
1か月前
日本発條株式会社
記録装置、カバー、及びカバーの製造方法
1か月前
ローム株式会社
不揮発性半導体記憶装置
1か月前
キオクシア株式会社
半導体記憶装置、メモリシステム
2か月前
キオクシア株式会社
半導体記憶装置
1か月前
株式会社東芝
磁気ディスク装置
2か月前
株式会社東芝
磁気ディスク装置
2か月前
キオクシア株式会社
半導体装置及び記憶媒体
1か月前
キオクシア株式会社
半導体記憶装置
2か月前
ルネサスエレクトロニクス株式会社
半導体装置
1か月前
国立大学法人 東京大学
読出回路及び磁気メモリ装置
2か月前
ミネベアミツミ株式会社
ハードディスク駆動装置
2か月前
続きを見る
他の特許を見る