TOP
|
特許
|
意匠
|
商標
特許ウォッチ
Twitter
他の特許を見る
10個以上の画像は省略されています。
公開番号
2025146593
公報種別
公開特許公報(A)
公開日
2025-10-03
出願番号
2024146025
出願日
2024-08-27
発明の名称
調整装置、調整システム、制御方法、制御プログラム、および記録媒体
出願人
株式会社小糸製作所
代理人
主分類
B60Q
1/076 20060101AFI20250926BHJP(車両一般)
要約
【課題】灯具の出射方向の調整精度を向上できる調整装置を提供する。
【解決手段】調整装置10は、灯具の出射光Lの出射方向OAを調整するための調整装置10であって、出射方向OAを指定位置へ向けて変位させるアクチュエータ30A、30Bと、出射方向OAの変位量βX、βYを、アクチュエータ30A、30Bの停止位置精度である第1精度よりも高い第2精度で検出できる検出部60と、アクチュエータ30A、30Bを制御する制御部80と、を備え、制御部80は、出射方向OAを第1精度以上、且つ、第2精度未満で指定位置へ向けて変位させる第1駆動86の後、第2精度以上で指定位置へ向けて変位させる第2駆動88によって制御を行う。
【選択図】図6
特許請求の範囲
【請求項1】
灯具の出射光の出射方向を調整するための調整装置であって、
前記出射方向を指定位置へ向けて変位させるアクチュエータと、
前記出射方向の変位量を、前記アクチュエータの停止位置精度である第1精度よりも高い第2精度で検出できる検出部と、
前記アクチュエータを制御する制御部と、を備え、
前記制御部は、前記出射方向を前記第1精度以上、且つ、前記第2精度未満で前記指定位置へ向けて変位させる第1駆動の後、前記第2精度以上で前記指定位置へ向けて変位させる第2駆動によって制御を行う、調整装置。
続きを表示(約 1,300 文字)
【請求項2】
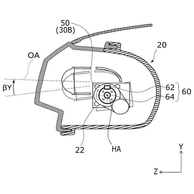
前記検出部は、リング状をなすマグネットと、前記マグネットの回転角を検出するホールICと、を備え、
前記アクチュエータは回転軸を中心に前記ランプを回動させることで前記ランプの出射方向を変化させ、
前記マグネットは前記回転軸の周囲に位置し、前記ランプの回動とともに回転する、請求項1に記載の調整装置。
【請求項3】
前記第1駆動の際に出射方向を指定位置へ向けて変位させる際の目標変位量と、前記第1駆動後における前記検出部の前記変位量との比率に基づき、前記アクチュエータの変位量を補正する請求項1に記載の調整装置。
【請求項4】
前記アクチュエータは、前記出射方向を回転駆動させる駆動部を収容する収容部を備え、
前記マグネットと前記ホールICは、前記アクチュエータと別体とされ、前記収容部の外側に設けられている、請求項2に記載の調整装置。
【請求項5】
前記アクチュエータは、前記出射方向を回転駆動させる駆動部を収容する収容部を備え、
前記マグネットは、前記収容部内における回転軸の周囲に設けられ、前記ホールICは、前記収容部内に設けられている、請求項2に記載の調整装置。
【請求項6】
前記出射光から前記出射方向を指定位置まで変位させる際の目標変位量を取得することが可能なテスターを備え、
前記制御部は、前記第2駆動の際に、前記検出部から取得した前記出射方向の変位量と、前記第1駆動後かつ前記第2駆動前に前記テスターから取得した前記目標量との比率に基づき、前記検出部の変位量を補正する請求項1または請求項2に記載の調整装置。
【請求項7】
前記アクチュエータは、前記出射方向を変位させるDCモータを備え、
前記制御部は、前記出射方向が前記指定位置に近づくにつれて前記DCモータに印加される電圧を下げていく制御を行う、請求項1に記載の調整装置。
【請求項8】
前記制御部は、PWM(Pulse Width Modulation)信号を生成し、
前記DCモータは、前記PWM信号に基づき駆動される、請求項7に記載の調整装置。
【請求項9】
前記灯具は車両に搭載され、
前記DCモータは車両のバッテリー電源により電源が供給され、
前記DCモータと前記バッテリー電源との間には、前記DCモータに一定のDC電圧を供給する定電圧回路が設けられている、請求項7に記載の調整装置。
【請求項10】
灯具の出射光の出射方向を調整するための調整システムであって、
前記出射方向を指定位置へ向けて変位させるアクチュエータと、
前記出射方向の変位量を、前記アクチュエータの停止位置精度である第1精度よりも高い第2精度で検出できる検出部と、
前記アクチュエータを制御する制御部と、を備え、
前記制御部は、前記出射方向を前記第1精度以上、且つ、前記第2精度未満で前記指定位置へ向けて変位させる第1駆動の後、前記第2精度以上で前記指定位置へ向けて変位させる第2駆動によって制御を行う、調整システム。
(【請求項11】以降は省略されています)
発明の詳細な説明
【技術分野】
【0001】
本明細書によって開示される技術は、灯具の出射方向を調整する調整装置に関する。
続きを表示(約 1,600 文字)
【背景技術】
【0002】
車両用前照灯を車両に組み付ける際は、その出射光の出射方向を調整する作業(いわゆる「エーミング」)が必要となる。特許文献1には、光源ユニットの出射方向をアクチュエータにより変位させることで、出射方向を調整する前照灯エーミングシステムが開示されている。
【先行技術文献】
【特許文献】
【0003】
特許第5331803号公報
【発明の概要】
【発明が解決しようとする課題】
【0004】
しかしながら、一般的に前照灯の出射方向の向きの調整は高い精度が求められるが、アクチュエータの取付け誤差等により出射方向を変位させた際の停止位置に一定量の誤差が生じるため、出射方向の調整制度を向上させる必要がある。
【0005】
本開示は、灯具の出射方向の調整精度を向上できる調整装置を提供することを目的としている。
【課題を解決するための手段】
【0006】
本明細書で開示される調整装置は、灯具の出射光の出射方向を調整するための調整装置であって、前記出射方向を指定位置へ向けて変位させるアクチュエータと、前記出射方向の変位量を、前記アクチュエータの停止位置精度である第1精度よりも高い第2精度で検出できる検出部と、前記アクチュエータを制御する制御部と、を備え、前記制御部は、前記出射方向を前記第1精度以上、且つ、前記第2精度未満で前記指定位置へ向けて変位させる第1駆動の後、前記第2精度以上で前記指定位置へ向けて変位させる第2駆動によって制御を行うこととされる。
【発明の効果】
【0007】
本明細書によって開示される調整装置によれば、灯具の出射方向の調整精度を向上できる。
【図面の簡単な説明】
【0008】
図1は、実施形態におけるエーミングシステムを示す図である。
図2は、前照灯を左右方向から見た断面図である。
図3は、前照灯の斜視図である。
図4は、アクチュエータの分解斜視図である。
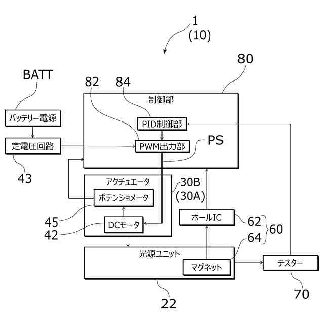
図5は、エーミングシステムのブロック図である。
図6は、エーミングシステムの動作を表すフローチャートである。
図7は、初期位置における配光パターンを表す図である。
図8は、第1駆動後の配光パターンを表す図である。
図9は、初期位置における配光パターンを表す図である。
図10(a)は、バッテリー電源の出力電圧の変動を表す図であり、図10(b)は、定電圧回路の出力電圧を表す図である。
図11(a)は、第1駆動時および第2駆動時の時間対目標位置のグラフであり、図11(b)は、DCモータへの時間対平均印加電圧のグラフである。
図12は、他の実施形態において、検出部をアクチュエータの収容部内に搭載した状態を表す図である。
【発明を実施するための形態】
【0009】
=====本開示に係る実施形態の概要=====
最初に本開示の実施態様を列挙して説明する。
【0010】
(1)本開示の調整装置は、灯具の出射光の出射方向を調整するための調整装置であって、前記出射方向を指定位置へ向けて変位させるアクチュエータと、前記出射方向の変位量を、前記アクチュエータの停止位置精度である第1精度よりも高い第2精度で検出できる検出部と、前記アクチュエータを制御する制御部と、を備え、前記制御部は、前記出射方向を前記第1精度以上、且つ、前記第2精度未満で前記指定位置へ向けて変位させる第1駆動の後、前記第2精度以上で前記指定位置へ向けて変位させる第2駆動によって制御を行う。
(【0011】以降は省略されています)
この特許をJ-PlatPat(特許庁公式サイト)で参照する
関連特許
株式会社小糸製作所
表示灯
17日前
株式会社小糸製作所
表示灯
10日前
株式会社小糸製作所
誘導装置
10日前
株式会社小糸製作所
照明装置
27日前
株式会社小糸製作所
照明装置
27日前
株式会社小糸製作所
投光装置
26日前
株式会社小糸製作所
投光装置
26日前
株式会社小糸製作所
車輌用灯具
11日前
株式会社小糸製作所
表示用灯具
3日前
株式会社小糸製作所
投影光学系
7日前
株式会社小糸製作所
表示用灯具
3日前
株式会社小糸製作所
車両用灯具
4日前
株式会社小糸製作所
水分解装置
7日前
株式会社小糸製作所
画像投影装置
17日前
株式会社小糸製作所
車両用前照灯
10日前
株式会社小糸製作所
画像生成装置
26日前
株式会社小糸製作所
水素発生装置
7日前
株式会社小糸製作所
画像投影装置
18日前
株式会社小糸製作所
車両検出システム
28日前
株式会社小糸製作所
車両用前照灯ユニット
11日前
株式会社小糸製作所
光学部材及び光軸調整機構
17日前
株式会社小糸製作所
誘導装置及び誘導システム
10日前
株式会社小糸製作所
ナット部材及び光軸調整機構
17日前
株式会社小糸製作所
発光素子搭載用基板および照明装置
7日前
株式会社小糸製作所
車両用灯具および車両用灯具の製造方法
10日前
株式会社小糸製作所
素子搭載基板、車両用灯具および素子搭載方法
7日前
株式会社小糸製作所
車両用灯具および車両用灯具に備えられる単一レンズ
7日前
株式会社小糸製作所
調整装置、調整システム、制御方法、制御プログラム、および記録媒体
3日前
株式会社小糸製作所
測定装置、測定装置の制御プログラム、および、コンピュータプログラムを記録したコンピュータ読み取り可能な記録媒体
27日前
個人
カーテント
4か月前
個人
タイヤレバー
2か月前
個人
車窓用防虫網戸
4か月前
個人
前輪キャスター
1か月前
個人
上部一体型自動車
3日前
個人
ルーフ付きトライク
1か月前
個人
タイヤ脱落防止構造
1か月前
続きを見る
他の特許を見る