TOP
|
特許
|
意匠
|
商標
特許ウォッチ
Twitter
他の特許を見る
10個以上の画像は省略されています。
公開番号
2025146476
公報種別
公開特許公報(A)
公開日
2025-10-03
出願番号
2024047282
出願日
2024-03-22
発明の名称
画像処理装置及び画像処理装置の制御方法
出願人
シャープ株式会社
代理人
個人
,
個人
,
個人
,
個人
主分類
H04N
1/60 20060101AFI20250926BHJP(電気通信技術)
要約
【課題】カラーバランス調整が容易な画像処理装置を提供する。
【解決手段】画像処理部、操作部及び記憶部を備える画像処理装置。記憶部は、第1の色値を含む入力画像データを黒及び第2の色値を含む出力画像データに変換するための第1及び第2の変換テーブルを記憶する。カラーバランス調整に係る指示が操作部から入力されていない場合、画像処理部は、第1の変換テーブルに基づいて変換を行う。カラーバランス調整に係る指示が操作部から入力された場合、画像処理部は、第2の変換テーブルに基づいて変換を行う。
【選択図】図11
特許請求の範囲
【請求項1】
画像処理部、操作部及び記憶部を備え、
前記記憶部は、第1の色値を含む入力画像データを黒及び第2の色値を含む出力画像データに変換するための第1及び第2の変換テーブルを記憶し、
前記画像処理部は、カラーバランス調整に係る指示が前記操作部から入力されていない場合、前記第1の変換テーブルに基づいて変換を行い、
前記画像処理部は、カラーバランス調整に係る指示が前記操作部から入力された場合、前記第2の変換テーブルに基づいて変換を行う、
画像処理装置。
続きを表示(約 740 文字)
【請求項2】
前記画像処理部は、前記入力画像データを文字領域と非文字領域とに識別し、
前記画像処理部は、カラーバランス調整に係る指示が前記操作部から入力された場合、前記非文字領域の画素数に基づいて選択された前記第1及び第2の変換テーブルのいずれか一方に基づいて変換を行う、
請求項1に記載の画像処理装置。
【請求項3】
前記画像処理部は、前記非文字領域の画素の彩度及び明度に基づいて前記選択を行う、請求項2に記載の画像処理装置。
【請求項4】
前記記憶部は、複数の前記第2の変換テーブルを記憶し、
前記画像処理部は、カラーバランス調整に係る指示が前記操作部から入力された場合、前記指示に基づいて選択された、前記複数の第2の変換テーブルのいずれかひとつに基づいて変換を行う、
請求項1に記載の画像処理装置。
【請求項5】
前記画像処理部は、カラーバランス調整に係る指示が前記操作部から入力された場合、前記非文字領域におけるグレーの画素の数に基づいて選択された前記第1及び第2の変換テーブルのいずれか一方に基づいて変換を行う、
請求項2に記載の画像処理装置。
【請求項6】
第1の色値を含む入力画像データを黒及び第2の色値を含む出力画像データに変換するための第1及び第2の変換テーブルを記憶し、
カラーバランス調整に係る指示が前記操作部から入力されていない場合、前記第1の変換テーブルに基づいて変換を行い、
カラーバランス調整に係る指示が前記操作部から入力された場合、前記第2の変換テーブルに基づいて変換を行う、
画像処理装置の制御方法。
発明の詳細な説明
【技術分野】
【0001】
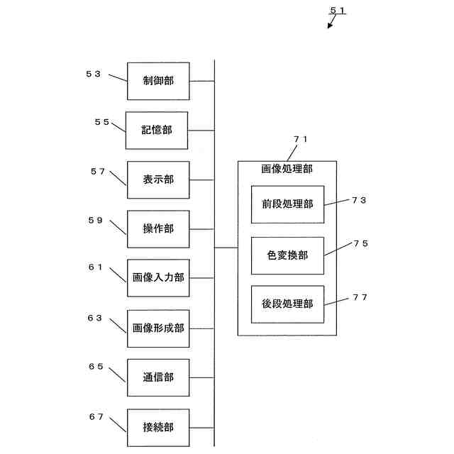
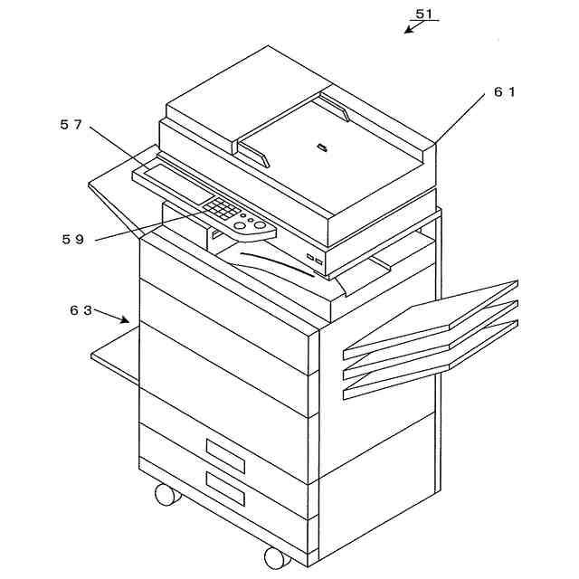
本開示は画像処理装置等に関する。
続きを表示(約 1,600 文字)
【背景技術】
【0002】
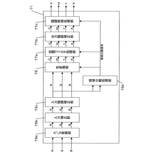
一般に、MFP(Multi-Function Printer/Peripheral)、カラープリンタ等の画像形成装置では、入力画像データが示す画像を紙等の媒体上に形成する際に、第1の色値(例えばRGB値)を含む入力画像データを、黒及び第2の色値(例えばCMYK値)からなる出力画像データに変換する画像処理が行われる。画像形成装置は出力画像データに基づいて媒体上に画像を形成する。
【0003】
CMYトナーの混色により無彩色(グレーや黒)を表現することも可能だが、Kトナーを使用することで、CMYトナーの一部を置き換えることできる。CMYトナーの一部をKトナーに置き換えることで、画像形成の際のCMYトナー消費量を抑制することができる。このため、一般的には、CMY値をK値に置き換える割合が高い色補正テーブルが用いられる。
【0004】
本開示に関連して、特許文献1には、色材信号より墨版生成及び下色除去の処理を行う下色除去手段1、平滑処理及びエッジ強調を行う空間フィルタ2、色材信号xに対して係数a、bを用いax+bの演算を行う演算回路3、及び濃度調整やコントラスト調整、ネガポジ反転、カラーバランス調整等を行う色調補正制御手段4を備え、原稿タイプや領域識別の結果に応じて係数a、bを設定するように構成し、演算回路3は、複数の係数a、bを持ち、切り換えるように構成した画像処理装置が開示されている。
【先行技術文献】
【特許文献】
【0005】
特開平6-86067号公報
【発明の概要】
【発明が解決しようとする課題】
【0006】
出力画像データに基づいて媒体上に形成された画像を見て、ユーザが色合いに不満をもつ場合がある。こうした場合に、CMYKを増減させることで色合いを調整するカラーバランス調整が行われることがある。従来の画像形成装置は、単一の色補正テーブルに基づいてカラーバランス調整を行う。上述のように、一般的な色補正テーブルはCMY値をK値に置き換える割合が高いので、CMYトナーの消費量を抑えることができる反面、カラーバランスを調整しても出力画像データに反映されにくいため、ユーザが意図するようにカラーバランス調整を行うことが困難だった。
【0007】
本開示が解決しようとする課題は、カラーバランス調整が容易な画像処理装置を提供することである。
【課題を解決するための手段】
【0008】
本開示は、画像処理部、操作部及び記憶部を備え、前記記憶部は、第1の色値を含む入力画像データを黒及び第2の色値を含む出力画像データに変換するための第1及び第2の変換テーブルを記憶し、カラーバランス調整に係る指示が前記操作部から入力されていない場合、前記画像処理部は、前記第1の変換テーブルに基づいて変換を行い、カラーバランス調整に係る指示が前記操作部から入力された場合、前記画像処理部は、前記第2の変換テーブルに基づいて変換を行う、画像処理装置を提供する。
【0009】
また、本開示は、第1の色値を含む入力画像データを黒及び第2の色値を含む出力画像データに変換するための第1及び第2の変換テーブルを記憶し、カラーバランス調整に係る指示が前記操作部から入力されていない場合、前記第1の変換テーブルに基づいて変換を行い、カラーバランス調整に係る指示が前記操作部から入力された場合、前記第2の変換テーブルに基づいて変換を行う、画像処理装置の制御方法を提供する。
【発明の効果】
【0010】
本開示によれば、カラーバランス調整が容易な画像処理装置を提供することができる。
【図面の簡単な説明】
(【0011】以降は省略されています)
この特許をJ-PlatPat(特許庁公式サイト)で参照する
関連特許
シャープ株式会社
表示装置
12日前
シャープ株式会社
加熱機器
11日前
シャープ株式会社
走行装置
18日前
シャープ株式会社
端末装置
18日前
シャープ株式会社
端末装置
13日前
シャープ株式会社
筐体構造
11日前
シャープ株式会社
通信端末
20日前
シャープ株式会社
表示装置
26日前
シャープ株式会社
画像形成装置
25日前
シャープ株式会社
画像形成装置
6日前
シャープ株式会社
画像形成装置
13日前
シャープ株式会社
画像形成装置
6日前
シャープ株式会社
アンテナ装置
12日前
シャープ株式会社
イオン発生装置
18日前
シャープ株式会社
緩衝材及び梱包体
13日前
シャープ株式会社
端末装置および通信方法
19日前
シャープ株式会社
トナー及びその製造方法
25日前
シャープ株式会社
通信装置および制御方法
27日前
シャープ株式会社
端末装置および測定方法
8日前
シャープ株式会社
情報処理装置及び設定方法
11日前
シャープ株式会社
端末および端末の制御方法
25日前
シャープ株式会社
決済システム及び決済方法
14日前
シャープ株式会社
給紙装置および画像形成装置
19日前
シャープ株式会社
動画像符号化装置、復号装置
14日前
シャープ株式会社
動画像符号化装置、復号装置
11日前
シャープ株式会社
補助電源回路および電源装置
28日前
シャープ株式会社
定着装置および画像形成装置
19日前
シャープ株式会社
端末装置、および、基地局装置
19日前
シャープ株式会社
端末装置、および、基地局装置
13日前
シャープ株式会社
端末装置、方法、および集積回路
1か月前
シャープ株式会社
端末装置、方法、および集積回路
1か月前
シャープ株式会社
端末装置、方法、および集積回路
1か月前
シャープ株式会社
給油管理装置、及び給油システム
11日前
シャープ株式会社
電子機器および電子機器の制御方法
26日前
シャープ株式会社
端末装置、方法、および、集積回路
13日前
シャープ株式会社
通信装置および通信装置の設置方法
27日前
続きを見る
他の特許を見る