TOP
|
特許
|
意匠
|
商標
特許ウォッチ
Twitter
他の特許を見る
10個以上の画像は省略されています。
公開番号
2025149091
公報種別
公開特許公報(A)
公開日
2025-10-08
出願番号
2024049534
出願日
2024-03-26
発明の名称
通信装置および通信装置の設置方法
出願人
シャープ株式会社
代理人
個人
,
個人
,
個人
,
個人
主分類
E03B
7/07 20060101AFI20251001BHJP(上水;下水)
要約
【課題】水道メータBOX内が浸水しても安定して無線通信を行うことができる通信装置を提供する。
【解決手段】水道メータから検針値を取得するための通信インターフェイス150と、当該検針値を無線送信するための無線通信アンテナ160と、通信インターフェイスと無線通信アンテナとを収納する筐体103と、筐体の上面に取り付けられて、筐体の上方に水が入りこまないようにするための構造物190と、を備える通信装置100が提供される。
【選択図】図6
特許請求の範囲
【請求項1】
水道メータから検針値を取得するための通信インターフェイスと、
当該検針値を無線送信するための無線通信アンテナと、
前記通信インターフェイスと前記無線通信アンテナとを収納する筐体と、
前記筐体の上面に取り付けられて、前記筐体の上方に水が入りこまないようにするための構造物と、を備える通信装置。
続きを表示(約 630 文字)
【請求項2】
前記構造物は、上方が閉じられて、下方が開放されて前記筐体の上部がはまり込むように構成されている、請求項1に記載の通信装置。
【請求項3】
前記構造物は、前記筐体の側部に水が入り込まないように構成されている、請求項1に記載の通信装置。
【請求項4】
前記構造物は、中空で、内部に水が入り込まないように構成されている、請求項1に記載の通信装置。
【請求項5】
前記構造物は、水を透過しない、電波を通過できる複数の素材で構成される、請求項1に記載の通信装置。
【請求項6】
前記筐体の上方に、複数の前記構造物が上下方向に重ねて取り付けられる、請求項1に記載の通信装置。
【請求項7】
前記構造物は、その下方にある構造物の側部に水が入り込まないように構成されている、請求項1に記載の通信装置。
【請求項8】
前記筐体を前記水道メータに固定するための固定具をさらに備える、請求項1に記載の通信装置。
【請求項9】
水道メータからの検針値を取得して無線送信するための通信装置の設置方法であって、
前記通信装置の上面に構造物を固定するステップと、
前記通信装置を、前記水道メータが設置されるボックスの蓋の下方に位置するように前記水道メータに固定するステップと、
前記蓋を閉じるステップと、を備える、通信装置の設置方法。
発明の詳細な説明
【技術分野】
【0001】
本発明は、水道メータなどの検針値を取得してサーバに無線送信するための技術に関する。
続きを表示(約 2,100 文字)
【背景技術】
【0002】
従来から、住宅やオフィスなどには、水道などの使用量を測定するための検針用メータが取り付けられている。そして、特開2007-288908号公報(引用文献1)には、電気接続箱および下カバーが開示されている。引用文献1によると、下カバーに電子部品が収納されて上カバーが嵌合された電気接続箱であって、下カバーのカバー嵌合面および電線出口は、端子接続最下位より下方に位置している。上カバーには、天面に傷付き防止リブが形成されている。電気接続箱が水没した場合、上カバー内に密閉空間ができ、空気層の圧力作用により、水は電気接続箱内に一定の水位(端子より下方)までしか浸入できなくなる。その結果、端子・バスバーへの被水が防止され、電気接続箱の防水性・排水性が保持される。傷付き防止リブにより、上カバーの天面にクラックが入るのを防止し、電気接続箱の防水性・排水性を長期にわたって維持できる。
【0003】
また、特開2014-226017号公報(引用文献2)には、電子部品収納ユニットの防水構造が開示されている。引用文献2によると、電子部品収納ユニットの車両上下方向の上部側に電線端末が接続する接続部を設け、電子部品収納ユニットの車両上下方向の上部側との間に接続部に接続された電線の端末が収容される隙間を形成した状態で車両上下方向の上方側から電子部品収納ユニットを覆う上部覆いカバーを備え、接続部から引き出された電線を上部覆いカバーの下部開口部から引き出す。
【先行技術文献】
【特許文献】
【0004】
特開2007-288908号公報
特開2014-226017号公報
【発明の概要】
【発明が解決しようとする課題】
【0005】
本発明の目的は、水道メータBOX内が浸水しても安定して無線通信を行うことができる通信装置を提供することである。
【課題を解決するための手段】
【0006】
この発明のある態様に従うと、水道メータから検針値を取得するための通信インターフェイスと、当該検針値を無線送信するための無線通信アンテナと、通信インターフェイスと無線通信アンテナとを収納する筐体と、筐体の上面に取り付けられて、筐体の上方に水が入りこまないようにするための構造物と、を備える通信装置が提供される。
【発明の効果】
【0007】
以上のように、本発明によれば、水道メータBOX内が浸水しても安定して無線通信を行うことができる。
【図面の簡単な説明】
【0008】
第1の実施の形態にかかるネットワークシステムの全体構成を示すイメージ図である。
第1の実施の形態にかかる水道メータBOXの外観を示す斜視図である。
第1の実施の形態にかかる水道メータBOXの内側を示す斜視図である。
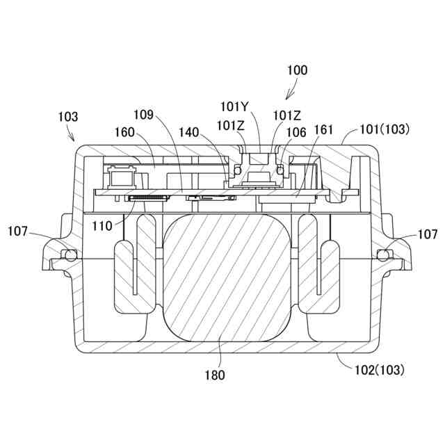
第1の実施の形態にかかる通信装置の側面断面図である。
第1の実施の形態にかかる通信装置に外カバーを取り付けた状態の水道メータBOXの内側を示すイメージ図である。
第1の実施の形態にかかる外カバーを取り付けた通信装置の側面断面図である。
第1の実施の形態にかかる外カバーを取り付けた通信装置の平面図である。
第1の実施の形態にかかる通信装置の主要な機能を示すブロック図である。
第1の実施の形態にかかる通信装置の設置方法を示すフローチャートである。
第2の実施の形態にかかる外カバーを取り付けた通信装置の側面断面図である。
第2の実施の形態にかかる外カバーを取り付けた通信装置の平面図である。
第2の実施の形態にかかる複数の外カバーを取り付けた通信装置の側面断面図である。
第4の実施の形態にかかる外カバーを取り付けた通信装置の側面断面図である。
第5の実施の形態にかかる外カバーを取り付けた通信装置の側面断面図である。
第6の実施の形態にかかる外カバーを取り付けた通信装置の側面断面図である。
第7の実施の形態にかかる外カバーを取り付けた通信装置の側面断面図である。
第2の実施の形態にかかる別の外カバーを取り付けた通信装置の側面断面図である。
【発明を実施するための形態】
【0009】
以下、図面を参照しつつ、本発明の実施の形態について説明する。以下の説明では、同一の部品には同一の符号を付してある。それらの名称および機能も同じである。したがって、それらについての詳細な説明は繰り返さない。
<第1の実施の形態>
<ネットワークシステム1の全体構成>
【0010】
まず、図1を参照して本実施の形態にかかるネットワークシステム1の全体構成について説明する。本実施の形態にかかるネットワークシステム1は、主に、測定装置200と、通信装置100と、ネットワーク500と、センタ側網制御装置400と、センタサーバ300などを含むものである。
(【0011】以降は省略されています)
この特許をJ-PlatPat(特許庁公式サイト)で参照する
関連特許
シャープ株式会社
端末装置
19日前
シャープ株式会社
筐体構造
12日前
シャープ株式会社
通信装置
今日
シャープ株式会社
表示装置
27日前
シャープ株式会社
端末装置
14日前
シャープ株式会社
表示装置
13日前
シャープ株式会社
加熱機器
12日前
シャープ株式会社
走行装置
19日前
シャープ株式会社
通信端末
21日前
シャープ株式会社
アンテナ装置
13日前
シャープ株式会社
画像形成装置
14日前
シャープ株式会社
画像形成装置
7日前
シャープ株式会社
画像形成装置
7日前
シャープ株式会社
画像形成装置
26日前
シャープ株式会社
イオン発生装置
19日前
シャープ株式会社
緩衝材及び梱包体
14日前
シャープ株式会社
端末装置および測定方法
9日前
シャープ株式会社
トナー及びその製造方法
26日前
シャープ株式会社
端末装置および通信方法
20日前
シャープ株式会社
端末および端末の制御方法
26日前
シャープ株式会社
情報処理装置及び設定方法
12日前
シャープ株式会社
決済システム及び決済方法
15日前
シャープ株式会社
動画像符号化装置、復号装置
15日前
シャープ株式会社
給紙装置および画像形成装置
20日前
シャープ株式会社
定着装置および画像形成装置
20日前
シャープ株式会社
動画像符号化装置、復号装置
12日前
シャープ株式会社
端末装置、および、基地局装置
20日前
シャープ株式会社
端末装置、および、基地局装置
14日前
シャープ株式会社
給油管理装置、及び給油システム
12日前
シャープ株式会社
電子機器および電子機器の制御方法
27日前
シャープ株式会社
端末装置、方法、および、集積回路
14日前
シャープ株式会社
端末装置、基地局装置および通信方法
1日前
シャープ株式会社
UE(User Equipment)
14日前
シャープ株式会社
端末装置、基地局装置、および、通信方法
19日前
シャープ株式会社
端末装置、基地局装置、および、通信方法
20日前
シャープ株式会社
後処理装置及びそれを備えた画像形成装置
今日
続きを見る
他の特許を見る