TOP
|
特許
|
意匠
|
商標
特許ウォッチ
Twitter
他の特許を見る
10個以上の画像は省略されています。
公開番号
2025146286
公報種別
公開特許公報(A)
公開日
2025-10-03
出願番号
2024046972
出願日
2024-03-22
発明の名称
液体吐出ヘッド、液体吐出ユニット、液体を吐出する装置およびアクチュエータ
出願人
株式会社リコー
代理人
個人
主分類
B41J
2/14 20060101AFI20250926BHJP(印刷;線画機;タイプライター;スタンプ)
要約
【課題】接着剤の流れ出しによる、接着剤と対面する面(接合界面)以外の汚染を防止すること。
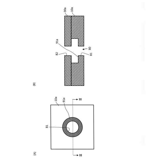
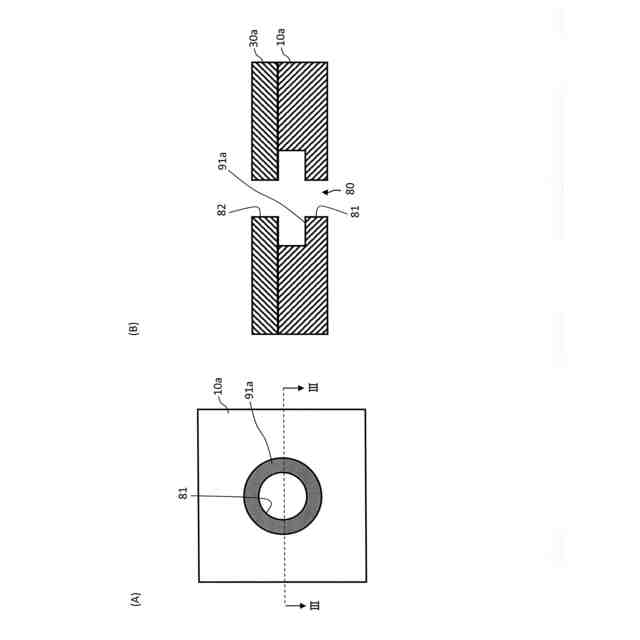
【解決手段】液体を吐出する少なくとも一つのノズルと、液体を蓄える液室が設けられた液室基板10aと、液室の液体を加圧する圧力を発生させる駆動手段と、液室基板10aと接合し、液室の少なくとも一部の壁面を形成する振動板30aと、を備える液体吐出ヘッドであって、液室基板10aと振動板30aとは、接合すると液室基板10aと振動板30aとを貫通する貫通穴80となる位置に、それぞれ穴(穴81、82)を有し、液室基板10aは、振動板30との接合面に、液室基板10aの穴の少なくとも一部を囲む溝91を有する。
【選択図】図3
特許請求の範囲
【請求項1】
液体を吐出する少なくとも一つのノズルと、
前記液体を蓄える液室が設けられた液室基板と、
前記液室の液体を加圧する圧力を発生させる駆動手段と、
前記液室基板と接合し、前記液室の少なくとも一部の壁面を形成する振動板と、を備える液体吐出ヘッドであって、
前記液室基板と前記振動板とは、接合すると前記液室基板と前記振動板とを貫通する貫通穴となる位置に、それぞれ穴を有し、
前記液室基板は、前記振動板との接合面に、前記液室基板の穴の少なくとも一部を囲む溝を有することを特徴とする液体吐出ヘッド。
続きを表示(約 890 文字)
【請求項2】
前記溝は、一以上形成されている
ことを特徴とする請求項1に記載の液体吐出ヘッド。
【請求項3】
少なくとも一つの前記ノズルは、前記ノズルが複数配列されたものであり、
前記溝は、前記ノズルが配列された方向で、一部分が途切れている
ことを特徴とする請求項1または2に記載の液体吐出ヘッド。
【請求項4】
前記液室基板と前記振動板とは異なる部材である
ことを特徴とする請求項1または2に記載の液体吐出ヘッド。
【請求項5】
前記振動板は、前記液室基板との接合面の反対側に、前記振動板の穴の少なくとも一部を囲む溝を有する
ことを特徴とする請求項1または2に記載の液体吐出ヘッド。
【請求項6】
前記液室基板と前記振動板とは、前記貫通穴にピンを挿入して接合位置を調節する
ことを特徴とする請求項1または2に記載の液体吐出ヘッド。
【請求項7】
少なくとも一つの前記ノズルを有するノズル板をさらに有し、
前記ノズル板は、前記液室基板と接合すると前記貫通穴が貫通する位置に穴を有する
ことを特徴とする請求項1または2に記載の液体吐出ヘッド。
【請求項8】
請求項1または2に記載の液体吐出ヘッドを有する液体吐出ユニット。
【請求項9】
請求項1または2に記載の液体吐出ヘッドまたは請求項8に記載の液体吐出ユニットを有する液体を吐出する装置。
【請求項10】
振動板と、
前記振動板を支持し、前記振動板と接合する支持手段と、
前記振動板を振動させる圧力を発生させる駆動手段と、を備えるアクチュエータであって、
前記支持手段と前記振動板とは、接合すると前記支持手段と前記振動板とを貫通する貫通穴となる位置に、それぞれ穴を有し、
前記支持手段は、前記振動板との接合面に、前記支持手段の穴の少なくとも一部を囲む溝を有することを特徴とするアクチュエータ。
発明の詳細な説明
【技術分野】
【0001】
本発明は、液体吐出ヘッド、液体吐出ユニット、液体を吐出する装置およびアクチュエータに関する。
続きを表示(約 2,700 文字)
【背景技術】
【0002】
インクジェットヘッドについて、記録速度の高速化、記録密度の高密度化の要求から、複数のノズルを有するマルチノズルヘッドを使用し、さらに一つのヘッドの長さを今までより長尺化することや複数のノズル列を有するヘッドが求められている。また、それに伴い要求する液滴のサイズをますます小さくする傾向にある。
そこで、高密度で高精度な液室を形成するために機械加工で形成した液室基板と駆動手段の変位を効率良く圧力変動に変換する為、剛性が低い薄肉部を形成した振動板を接合する。剛性が低い薄肉部を形成する為、液室基板と振動板とは異種部材で形成されることが多く、接着接合の硬化時に加熱すると線膨張の違いで接合時に反りが生じる易くなる。線膨張による変形を防止目的で、高荷重と接着剤厚膜化で反りを抑制する為、ピンによるアライメント方式が一般的であるが、ピンを挿入する穴から接着剤が這い上がってきて、非接合面を汚染する問題が生じている。
【0003】
例えば、特許文献1には、金属プレートの接合において、プレス加工で生じた変形により隙間が生じることを防止する目的で、変形による凸部に対面した面に逃げ溝を形成することで、接合面の隙間を防止することが開示されている。
しかしながら、接合で使用される接着剤が流れ出して、接着剤塗布面以外の面が汚染されるという問題は解消できていない。
【発明の概要】
【発明が解決しようとする課題】
【0004】
本発明は、接着剤の流れ出しによる、接着剤と対面する面(接合界面)以外の汚染を防止することを目的とする。
【課題を解決するための手段】
【0005】
上述した課題を解決するために、本発明の液体吐出ヘッドは、
液体を吐出する少なくとも一つのノズルと、
前記液体を蓄える液室が設けられた液室基板と、
前記液室の液体を加圧する圧力を発生させる駆動手段と、
前記液室基板と接合し、前記液室の少なくとも一部の壁面を形成する振動板と、を備える液体吐出ヘッドであって、
前記液室基板と前記振動板とは、接合すると前記液室基板と前記振動板とを貫通する貫通穴となる位置に、それぞれ穴を有し、
前記液室基板は、前記振動板との接合面に、前記液室基板の穴の少なくとも一部を囲む溝を有する。
【発明の効果】
【0006】
本発明によれば、接着剤の流れ出しによる、接着剤と対面する面(接合界面)以外の汚染を防止できる。
【図面の簡単な説明】
【0007】
本発明の実施形態のインクジェットヘッドの一例を説明する断面図である。
同インクジェットヘッドの一例を説明する平面図である。
アライメント穴の周囲に溝を一つ形成した例を説明する図である。
アライメント穴の周囲に溝を二つ形成した例を説明する図である。
アライメント穴の周囲に溝を二つ形成した他の例を説明する図である。
アライメント穴の周囲に、傾斜を有する溝を形成した例を説明する図である。
アライメント穴の周囲に、一部を変形させた形状の溝を形成した例を説明する図である。
アライメント穴の周囲に、一部を変形させた形状の溝を形成した他の例を説明する図である。
アライメント穴が長穴であり、一部を変形させた形状の溝を形成した例を説明する図である。
アライメント穴の周囲に溝を形成した液室基板と振動板とを接合したときの状態例を説明する図である。
両面に溝を形成した液室基板と振動板とを接合したときの状態例を説明する図である。
液室基板と振動板とに溝を形成したときの接合状態例を説明する図である。
液室基板と振動板とをピンアライメント方式以外で接合したときの状態例を説明する図である。
液室基板と振動板とフレームとを接合した状態例を説明する図である。
本発明に係る液体を吐出する装置の一例の概略説明図である。
同装置のヘッドユニットの一例の平面説明図である。
液体を吐出する装置の他の例における概略図である。
液体を吐出する装置の他の例における概略図である。
液体吐出ユニットの一例における概略図である。
液体吐出ユニットの他の例における概略図である。
本発明の実施形態に係る液体を吐出する装置としての電極の製造装置の一例を示す模式図である。
本発明の実施形態に係る液体吐出ヘッドの他の構成例を説明する断面図である。
実施形態に係るアクチュエータを超音波診断装置に適用した一例を示す概略説明図である。
超音波探触子の構成の一例を示す概略構成図である。
アクチュエータの一例を示す断面図である。
【発明を実施するための形態】
【0008】
以下、添付の図面に基づき、本発明の実施の形態について説明する。なお、本発明の実施の形態を説明するための各図面において、同一の機能もしくは形状を有する部材や構成部品等の構成要素については、判別が可能な限り同一符号を付すことにより一度説明した後ではその説明を省略する。
【0009】
インクジェットヘッドに用いられる接着接合方法として、接着剤を用いた技術が知られている。本発明は、複数枚の部品で形成される液室部を位置合わせする為の穴について、位置合わせする為の穴へ接着剤が流動して、接着剤が裏面側に侵入することを防ぐ為に、液室基板に形成した溝により冷却効率を上げることができることを特徴とする。
上記記載の本発明の特徴について、以下の図面を用いて詳細に解説する。
【0010】
本発明の実施形態に係る液体吐出ヘッドとしてのインクジェットヘッドの構成例を説明する。図1は、インクジェットヘッドの一例を説明する断面図であり、(A)にインクジェットヘッド全体の概略図、(B)に電極積層部の拡大図、(C)に電極層と圧電層との拡大図を示す。図2は図1の平面図である。また、図1は、図2に示すI-I線に沿った断面を示している。
インクジェットヘッドは、液室基板(「流路板」ともいう)10、ノズル板、振動板(「振動板部材」ともいう)30、駆動手段50、ベース基板60、及びフレーム70を備える。
(【0011】以降は省略されています)
この特許をJ-PlatPat(特許庁公式サイト)で参照する
関連特許
株式会社リコー
移動体
13日前
株式会社リコー
画像形成装置
18日前
株式会社リコー
画像形成システム
18日前
株式会社リコー
印刷装置および印刷システム
18日前
株式会社リコー
液体吐出装置及び液体吐出方法
18日前
株式会社リコー
システム、方法およびプログラム
18日前
株式会社リコー
表示装置、切替方法、プログラム
4日前
株式会社リコー
媒体処理装置及び画像形成システム
18日前
株式会社リコー
媒体処理装置及び画像形成システム
18日前
株式会社リコー
媒体処理装置及び画像形成システム
18日前
株式会社リコー
媒体処理装置及び画像形成システム
18日前
株式会社リコー
シート給紙装置、および画像形成装置
18日前
株式会社リコー
シート給送装置及び画像形成システム
今日
株式会社リコー
処理剤液塗布装置および画像形成装置
18日前
株式会社リコー
光源装置、画像投影装置および調整方法
4日前
株式会社リコー
ノード、データ共有方法、及びプログラム
11日前
株式会社リコー
通信装置、状態制御方法、及びプログラム
今日
株式会社リコー
画像形成装置、及び、プロセスカートリッジ
4日前
株式会社リコー
画像形成装置、情報処理方法およびプログラム
18日前
株式会社リコー
用紙処理装置、用紙処理方法、およびプログラム
18日前
株式会社リコー
表示装置、表示方法、プログラム、表示システム
12日前
株式会社リコー
画像処理装置、画像処理方法、およびプログラム
18日前
株式会社リコー
画像形成装置、画像形成方法、およびプログラム
18日前
株式会社リコー
対話装置、対話システム、対話方法及びプログラム
11日前
株式会社リコー
液体吐出ヘッド、ヘッドモジュール、液体吐出装置
18日前
株式会社リコー
液滴吐出ヘッド、ヘッドユニット及び液滴吐出装置
18日前
株式会社リコー
情報処理システム、情報処理装置および情報処理方法
11日前
株式会社リコー
電気機器、画像形成装置、制御方法、及びプログラム
7日前
株式会社リコー
液体吐出ヘッド、ヘッドモジュール及び液体吐出装置
18日前
株式会社リコー
情報処理装置、情報処理システムおよび情報処理方法
11日前
株式会社リコー
診断装置、加工システム、診断方法およびプログラム
18日前
株式会社リコー
画像形成装置、画像検査方法、および画像検査システム
18日前
株式会社リコー
情報処理システム、情報処理方法、および情報処理装置
18日前
株式会社リコー
液体吐出装置、印刷装置、液体吐出方法およびプログラム
18日前
株式会社リコー
液体吐出装置、印刷装置、液体吐出方法およびプログラム
18日前
株式会社リコー
液体吐出ヘッド、液体吐出ユニット及び液体を吐出する装置
18日前
続きを見る
他の特許を見る