TOP
|
特許
|
意匠
|
商標
特許ウォッチ
Twitter
他の特許を見る
10個以上の画像は省略されています。
公開番号
2025146157
公報種別
公開特許公報(A)
公開日
2025-10-03
出願番号
2024046788
出願日
2024-03-22
発明の名称
コンデンサ及びコンデンサの製造方法
出願人
株式会社東芝
代理人
弁理士法人鈴榮特許綜合事務所
主分類
H10D
1/68 20250101AFI20250926BHJP()
要約
【課題】基板へのダメージを低減することが可能なコンデンサ及びその製造方法を提供する。
【解決手段】実施形態のコンデンサの製造方法によれば、1以上の凹部5を有する主面2aを備えた半導体基板2と、半導体基板2の主面2aと1以上の凹部5内に設けられた導電層と、誘電体層3とを備えた処理基板1において、半導体基板2の主面2a上に位置する誘電体層3と導電層を開口して開口部6を設けること、開口部6内に位置する主面2a上に第1導電材料部8を設けること、導電層にドライエッチングを用いて、導電層から延出されて開口部6に繋がる接続部10を含むパターン形状を加工すること、第1コンタクト電極11と第2コンタクト電極12とを電気的に接続する第2導電材料部13を設けること、第1導電材料部8をドライエッチングにより除去すること、第2導電材料部13をウェットエッチングにより除去することを含む。
【選択図】 図17
特許請求の範囲
【請求項1】
1以上の凹部を有する主面を備えた半導体基板と、前記半導体基板の前記主面と前記1以上の凹部内に設けられた導電層と、前記導電層と前記半導体基板との間に配置された誘電体層とを備えた処理基板において、前記半導体基板の前記主面上に位置する前記誘電体層と前記導電層を開口して開口部を設けること、
前記開口部内に位置する前記主面上に第1導電材料部を設けること、
前記導電層にドライエッチングを用いて、前記導電層から延出されて前記開口部に繋がる接続部を含むパターン形状を加工すること、
前記導電層と電気的に接続される第1コンタクト電極と、前記半導体基板と電気的に接続される第2コンタクト電極と、前記第1コンタクト電極と前記第2コンタクト電極とを電気的に接続する第2導電材料部を設けること、
前記第1導電材料部をドライエッチングにより除去することにより前記接続部と前記半導体基板との電気的接続を切断すること、
前記第2導電材料部をウェットエッチングにより除去することにより前記第1コンタクト電極と前記第2コンタクト電極との電気的接続を切断すること
を含む、コンデンサの製造方法。
続きを表示(約 780 文字)
【請求項2】
前記半導体基板は、Siを含む基板であり、前記導電層と前記第1導電材料部は、それぞれ、ポリSiを含む、請求項1に記載のコンデンサの製造方法。
【請求項3】
前記第1コンタクト電極、前記第2コンタクト電極及び前記第2導電材料部は、それぞれ、Alを含む、請求項1に記載のコンデンサの製造方法。
【請求項4】
前記ドライエッチングは、前記処理基板が静電チャックに保持された状態でなされる、請求項1に記載のコンデンサの製造方法。
【請求項5】
前記第1導電材料部をドライエッチングにより除去した後に、前記第1コンタクト電極と電気的に接続される第1パッド電極と、前記第2コンタクト電極と電気的に接続される第2パッド電極と、前記開口部内に位置する前記半導体基板の前記主面と前記接続部とを電気的に接続するための第3導電材料部とを設けることをさらに含む、請求項1に記載のコンデンサの製造方法。
【請求項6】
1以上の凹部を有する主面を備えた半導体基板と、
前記半導体基板の前記1以上の凹部内と前記主面に設けられた導電層と、
前記導電層と前記半導体基板との間に配置された誘電体層と、
前記半導体基板の前記主面に位置する前記導電層が延出されてなる接続部と、
前記接続部に繋がっており、前記半導体基板の前記主面を底壁とする開口部と、
前記導電層と電気的に接続された第1コンタクト電極と、
前記半導体基板と電気的に接続された第2コンタクト電極と、
前記第1コンタクト電極と前記第2コンタクト電極との間に位置し、前記半導体基板の前記主面を底壁とする孔と、
前記開口部内及び前記孔内に設けられた絶縁層と
を備える、コンデンサ。
発明の詳細な説明
【技術分野】
【0001】
本発明の実施形態は、コンデンサ及びコンデンサの製造方法に関する。
続きを表示(約 3,100 文字)
【背景技術】
【0002】
Siコンデンサの作製過程では、Si基板にトレンチを形成した後、誘電膜とポリSi膜を成膜し、その後、ポリSi膜のパターニングが行われる。ポリSi膜のパターニングは、例えば、ケミカルドライエッチング(Chemical dry etching;CDE)などで行われる。CDEは、処理対象基板のSi基板を静電チャックでクランプした状態で行われる。ポリSi膜をパターニングすると、ポリSi膜とSi基板との接触が失われる。その結果、ポリSi膜に電荷が残留するため、デチャックを行ってもSi基板がステージから離れず、ステージからSi基板を導電性リフトピンで突き上げる際にSi基板にクラックなどのダメージが発生する。
【先行技術文献】
【特許文献】
【0003】
特開2010-258452号公報
特開2004-296462号公報
特開2023-102918号公報
特開2004-200640号公報
【発明の概要】
【発明が解決しようとする課題】
【0004】
発明が解決しようとする課題は、基板へのダメージを低減することが可能なコンデンサ及びその製造方法を提供することである。
【課題を解決するための手段】
【0005】
実施形態のコンデンサの製造方法によれば、1以上の凹部を有する主面を備えた半導体基板と、半導体基板の主面と1以上の凹部内に設けられた導電層と、導電層と半導体基板との間に配置された誘電体層とを備えた処理基板において、半導体基板の主面上に位置する誘電体層と導電層を開口して開口部を設けること、
開口部内に位置する主面上に第1導電材料部を設けること、
導電層にドライエッチングを用いて、導電層から延出されて開口部に繋がる接続部を含むパターン形状を加工すること、
導電層と電気的に接続される第1コンタクト電極と、半導体基板と電気的に接続される第2コンタクト電極と、第1コンタクト電極と第2コンタクト電極とを電気的に接続する第2導電材料部を設けること、
第1導電材料部をドライエッチングにより除去することにより接続部と半導体基板との電気的接続を切断すること、
第2導電材料部をウェットエッチングにより除去することにより第1コンタクト電極と第2コンタクト電極との電気的接続を切断すること
を含む。
【0006】
また、実施形態のコンデンサによれば、1以上の凹部を有する主面を備えた半導体基板と、
半導体基板の1以上の凹部内と主面に設けられた導電層と、
導電層と半導体基板との間に配置された誘電体層と、
半導体基板の主面に位置する導電層が延出されてなる接続部と、
接続部に繋がっており、半導体基板の主面を底壁とする開口部と、
導電層と電気的に接続された第1コンタクト電極と、
半導体基板と電気的に接続された第2コンタクト電極と、
第1コンタクト電極と第2コンタクト電極との間に位置し、半導体基板の主面を底壁とする孔と、
開口部内及び孔内に設けられた絶縁層と
を備える。
【図面の簡単な説明】
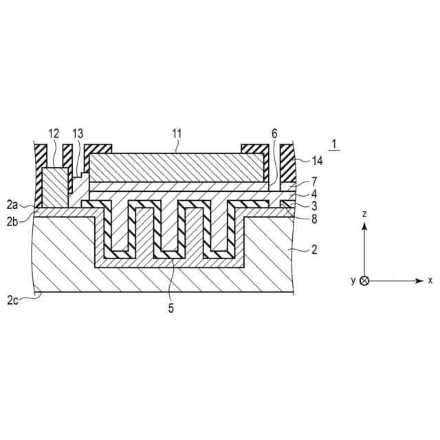
【0007】
実施形態の方法の第1工程が施される処理基板の上面図。
図1に示す処理基板をII-II線に沿って切断した断面図。
第1ヒューズ部(ポリSiヒューズ部)となる箇所の接続状態を示す概略回路図。
実施形態の方法の第2工程が施される処理基板の上面図。
図4に示す処理基板をV-V線に沿って切断した断面図。
実施形態の方法の第3工程が施される処理基板の上面図。
図6に示す処理基板をVII-VII線に沿って切断した断面図。
第1ヒューズ部(ポリSiヒューズ部)の接続状態を示す概略回路図。
実施形態の方法の第4工程が施される処理基板の上面図。
図9に示す処理基板をX-X線に沿って切断した断面図。
実施形態の方法の第5工程が施される処理基板の上面図。
図11に示す処理基板をXII-XII線に沿って切断した断面図。
実施形態の方法の第6工程が施される処理基板の上面図。
図13に示す処理基板をXIV-XIV線に沿って切断した断面図。
第1ヒューズ部(ポリSiヒューズ部)と第2ヒューズ部(Alヒューズ部)の接続状態を示す概略回路図。
実施形態の方法の第7工程が施される処理基板の上面図。
図16に示す処理基板をXVII-XVII線に沿って切断した断面図。
実施形態の方法の第8工程が施される処理基板の上面図。
図18に示す処理基板をXIX-XIX線に沿って切断した断面図。
第1ヒューズ部(ポリSiヒューズ部)と第2ヒューズ部(Alヒューズ部)の接続状態を示す概略回路図。
実施形態の方法の第9工程が施される処理基板の上面図。
図21に示す処理基板をXXII-XXII線に沿って切断した断面図。
第2ヒューズ部(Alヒューズ部)と第3ヒューズ部(Alヒューズ部)の接続状態を示す概略的な回路図。
実施形態の方法の第10工程が施される処理基板の上面図。
図24に示す処理基板をXXIIII-XXIIII線に沿って切断した断面図。
第2ヒューズ部(Alヒューズ部)と第3ヒューズ部(Alヒューズ部)の接続状態を示す概略的な回路図。
実施形態の方法の第11工程が施される処理基板をx軸方向に沿って切断した断面図。
実施形態の方法で製造されたコンデンサを示す上面図。
図28に示すコンデンサをXXVIIII-XXVIIII線に沿って切断した断面図。
ドライエッチングが施される処理基板を静電チャックのステージに取り付ける工程を示す模式図。
静電チャックのステージに取り付けられた処理基板の状態を示す模式図。
静電チャックのステージに処理基板がクランプされた状態を示す模式図。
静電チャックのステージに取り付けられた処理基板のドライエッチング後の状態を示す模式図。
図33に示す処理基板を静電チャックのステージからデチャックする際の処理基板の状態を示す模式図。
静電チャックのステージからデチャックする際に処理基板にダメージが発生した状態を示す模式図。
【発明を実施するための形態】
【0008】
以下、実施形態について、図面を参照しながら詳細に説明する。なお、同様又は類似した機能を発揮する構成要素には全ての図面を通じて同一の参照番号を付し、重複する説明は省略する。
【0009】
ドライエッチングは、反応室内にて処理基板が静電チャック(Electric Static Chuck; ESC)のステージにクランプされた状態でなされる。ドライエッチング処理で用いられる静電チャックについて、図30~図35を参照して説明する。
【0010】
図30は、ドライエッチングが施される処理基板を静電チャックのステージに取り付ける工程を示す模式図である。まず、ドライエッチングが施される前の処理基板100を、静電チャックのステージ200に導電性リフトピン201で押し当てる。
(【0011】以降は省略されています)
この特許をJ-PlatPat(特許庁公式サイト)で参照する
関連特許
株式会社東芝
モータ
18日前
株式会社東芝
センサ
23日前
株式会社東芝
センサ
23日前
株式会社東芝
センサ
1か月前
株式会社東芝
吸音装置
18日前
株式会社東芝
電子装置
2日前
株式会社東芝
電子装置
17日前
株式会社東芝
金型構造
23日前
株式会社東芝
半導体装置
20日前
株式会社東芝
半導体装置
4日前
株式会社東芝
半導体装置
4日前
株式会社東芝
半導体装置
4日前
株式会社東芝
半導体装置
20日前
株式会社東芝
粒子加速器
17日前
株式会社東芝
半導体装置
4日前
株式会社東芝
半導体装置
1か月前
株式会社東芝
半導体装置
5日前
株式会社東芝
半導体装置
4日前
株式会社東芝
電動送風機
1か月前
株式会社東芝
真空バルブ
3日前
株式会社東芝
半導体装置
20日前
株式会社東芝
半導体装置
20日前
株式会社東芝
ラック装置
1か月前
株式会社東芝
半導体装置
20日前
株式会社東芝
半導体装置
20日前
株式会社東芝
半導体装置
2日前
株式会社東芝
半導体装置
2日前
株式会社東芝
半導体装置
3日前
株式会社東芝
半導体装置
2日前
株式会社東芝
半導体装置
20日前
株式会社東芝
半導体装置
1か月前
株式会社東芝
電子デバイス
18日前
株式会社東芝
電子デバイス
18日前
株式会社東芝
重量測定装置
16日前
株式会社東芝
海水用構造体
1か月前
株式会社東芝
音響制御装置
16日前
続きを見る
他の特許を見る