TOP
|
特許
|
意匠
|
商標
特許ウォッチ
Twitter
他の特許を見る
10個以上の画像は省略されています。
公開番号
2025145842
公報種別
公開特許公報(A)
公開日
2025-10-03
出願番号
2024046295
出願日
2024-03-22
発明の名称
情報処理装置、情報処理方法、およびプログラム
出願人
理想科学工業株式会社
代理人
個人
,
個人
,
個人
主分類
G06Q
50/10 20120101AFI20250926BHJP(計算;計数)
要約
【課題】ユーザの手間を抑えつつ、端末装置の登録エラーを低減できる情報処理装置、情報処理方法、およびプログラムを提供する。
【解決手段】サーバ装置2のユーザ登録部23は、所定の上限数以下の複数の保護者端末5を互いに関連付けて登録する。ユーザ登録部23は、それぞれの保護者端末5の登録を解除可能である。
【選択図】図2
特許請求の範囲
【請求項1】
所定の上限数以下の複数の端末装置を互いに関連付けて登録する登録部を備え、
前記登録部は、それぞれの前記端末装置の登録を解除可能であることを特徴とする情報処理装置。
続きを表示(約 400 文字)
【請求項2】
前記登録部は、
前記複数の端末装置のそれぞれを少なくとも1つの関連付け対象に関連付け、前記複数の端末装置の間で各関連付け対象に関する情報を同期させるように前記複数の端末装置を登録するものであり、
前記端末装置の指示に応じて、他の前記端末装置の登録を解除することを特徴とする請求項1に記載の情報処理装置。
【請求項3】
コンピュータが実行する情報処理方法であって、
互いに関連付けられて登録された所定の上限数以下の複数の端末装置のうちの少なくともいずれかの前記端末装置の登録を解除するステップを含むことを特徴とする情報処理装置。
【請求項4】
互いに関連付けられて登録された所定の上限数以下の複数の端末装置のうちの少なくともいずれかの前記端末装置の登録を解除するステップをコンピュータに実行させることを特徴とするプログラム。
発明の詳細な説明
【技術分野】
【0001】
本発明は、情報処理装置、情報処理方法、およびプログラムに関する。
続きを表示(約 1,000 文字)
【背景技術】
【0002】
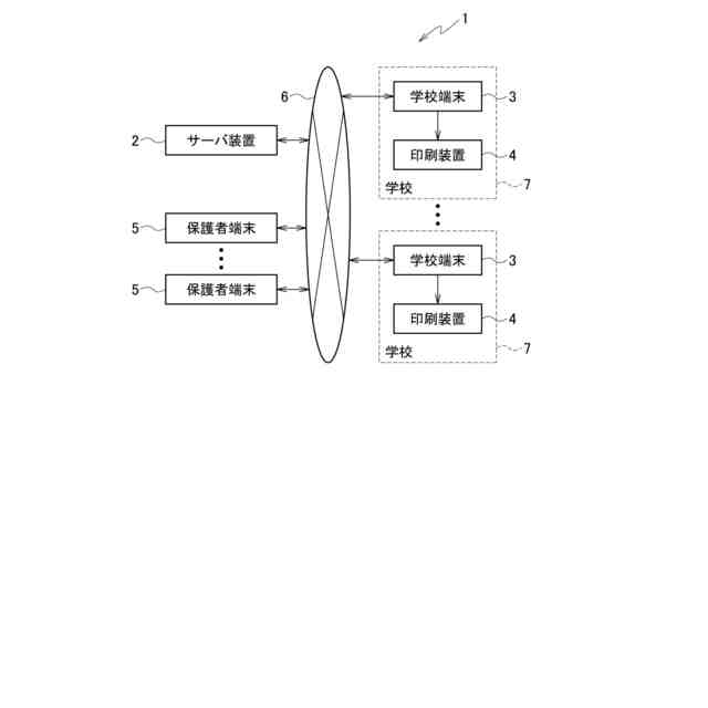
同じアプリケーションを使用する複数の端末装置の間で情報を同期させるために、複数の端末装置を互いに関連付けてシステムに登録することが行われている。このような技術として、特許文献1には、児童の2人の保護者がそれぞれ所有する2つの端末装置を互いに関連付けて登録し、それらの端末装置の間で情報を同期させるシステムが開示されている。
【先行技術文献】
【特許文献】
【0003】
特開2022-123771号公報
【発明の概要】
【発明が解決しようとする課題】
【0004】
ところで、上述のようなシステムにおいて、互いに関連付けて登録できる端末装置の上限数が設けられていることがある。
【0005】
このような場合において、例えば、登録された端末装置で誤操作等によりアプリケーションをアンインストールし、その後、再インストールして登録し直す際に、別の端末装置として扱われることで、上述の上限数を超えるとして登録エラーとなることがある。
【0006】
また、例えば、登録された端末装置の故障等により、正規の手順による機種変更が行われなかった場合に、機種変更後の端末装置を登録しようとすると、上述の上限数を超えるとして登録エラーとなることがある。
【0007】
例えば、各端末装置を新規の端末装置として登録し直すことで、上述のような登録エラーを回避することが可能である。しかし、この場合、ユーザに大きな手間がかかる。
【0008】
本発明は上記に鑑みてなされたもので、ユーザの手間を抑えつつ、端末装置の登録エラーを低減できる情報処理装置、情報処理方法、およびプログラムを提供することを目的とする。
【課題を解決するための手段】
【0009】
本発明の一態様によれば、所定の上限数以下の複数の端末装置を互いに関連付けて登録する登録部を備え、前記登録部は、それぞれの前記端末装置の登録を解除可能であることを特徴とする情報処理装置が提供される。
【0010】
本発明の他の態様によれば、コンピュータが実行する情報処理方法であって、互いに関連付けられて登録された所定の上限数以下の複数の端末装置のうちの少なくともいずれかの前記端末装置の登録を解除するステップを含むことを特徴とする情報処理装置が提供される。
(【0011】以降は省略されています)
この特許をJ-PlatPat(特許庁公式サイト)で参照する
関連特許
理想科学工業株式会社
包装物
18日前
理想科学工業株式会社
印刷装置
12日前
理想科学工業株式会社
印刷装置
18日前
理想科学工業株式会社
孔版印刷装置
1か月前
理想科学工業株式会社
画像形成装置
2か月前
理想科学工業株式会社
印刷システム
5日前
理想科学工業株式会社
画像処理装置
27日前
理想科学工業株式会社
シート搬送装置
8日前
理想科学工業株式会社
ワイピング装置
1か月前
理想科学工業株式会社
不吐出検出装置
1か月前
理想科学工業株式会社
印刷媒体設置装置
12日前
理想科学工業株式会社
メンテナンス装置
6日前
理想科学工業株式会社
インクジェット印刷装置
19日前
理想科学工業株式会社
インクジェット印刷装置
2か月前
理想科学工業株式会社
インクジェット印刷装置
1か月前
理想科学工業株式会社
インクジェット印刷装置
4日前
理想科学工業株式会社
搬送ローラの摩耗検知装置
2か月前
理想科学工業株式会社
油性インクジェットインク
18日前
理想科学工業株式会社
粘着シート、及び、被印刷物
18日前
理想科学工業株式会社
印刷装置および捺染物の製造方法
4日前
理想科学工業株式会社
捺染物の製造方法および印刷装置
4日前
理想科学工業株式会社
被覆ローラ及び被覆ローラの組立方法
1か月前
理想科学工業株式会社
インクジェットインク及びインクセット
2か月前
理想科学工業株式会社
再販支援システム、方法およびプログラム
5日前
理想科学工業株式会社
油性インクジェットインク及びその製造方法
1か月前
理想科学工業株式会社
捺染物の製造方法及び捺染物の製造システム
11日前
理想科学工業株式会社
予約管理装置、方法、プログラムおよびシステム
4日前
理想科学工業株式会社
画像処理装置、画像処理方法、及び、プログラム
1か月前
理想科学工業株式会社
情報処理装置、情報処理方法、およびプログラム
11日前
理想科学工業株式会社
予約管理装置、方法、プログラムおよびシステム
4日前
理想科学工業株式会社
印刷システム、印刷方法、および印刷プログラム
8日前
理想科学工業株式会社
予約管理装置、方法、プログラムおよびシステム
4日前
理想科学工業株式会社
予約管理装置、方法、プログラムおよびシステム
4日前
理想科学工業株式会社
情報処理装置、情報処理方法、およびプログラム
4日前
理想科学工業株式会社
学習支援装置、学習支援方法、及び、プログラム
4日前
理想科学工業株式会社
画像処理装置、画像処理方法、及び、プログラム
4日前
続きを見る
他の特許を見る