TOP
|
特許
|
意匠
|
商標
特許ウォッチ
Twitter
他の特許を見る
10個以上の画像は省略されています。
公開番号
2025141788
公報種別
公開特許公報(A)
公開日
2025-09-29
出願番号
2024214302
出願日
2024-12-09
発明の名称
シート搬送装置
出願人
理想科学工業株式会社
代理人
インフォート弁理士法人
主分類
B65H
7/06 20060101AFI20250919BHJP(運搬;包装;貯蔵;薄板状または線条材料の取扱い)
要約
【課題】小型な構造で高精度にシートの斜行を修正可能なシート搬送装置を提供する。
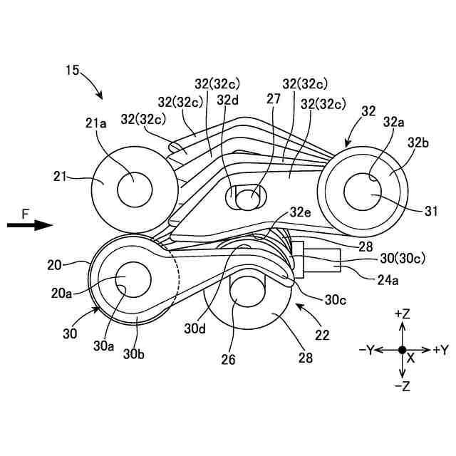
【解決手段】搬送されるシート(S)の搬送方向(F)に対する斜行量を検出する斜行検出手段(17)と、シートの斜行を修正する斜行修正手段(15)とを備えたシート搬送装置(12)であり、斜行修正手段は、シートを幅方向に沿って支持するガイド部材(30c、32c、28)を備え、シートの斜行量に応じて、ガイド部材によって支持されるシートの幅方向の領域を、搬送方向と平行な軸線の周りに回動させるようにガイド部材を変位させる。
【選択図】図7
特許請求の範囲
【請求項1】
搬送されるシートの搬送方向に対する斜行量を検出する斜行検出手段と、前記シートの斜行を修正する斜行修正手段とを備えたシート搬送装置であって、
前記斜行修正手段は、前記シートを幅方向に沿って支持するガイド部材を備え、前記斜行検出手段によって検出された前記シートの斜行量に応じて、前記ガイド部材によって支持される前記シートの幅方向の領域を、搬送方向と平行な軸線の周りに回動させるように前記ガイド部材を変位させることを特徴とするシート搬送装置。
続きを表示(約 800 文字)
【請求項2】
前記ガイド部材は、前記シートを搬送方向と直交する方向に弛ませて支持し、
前記ガイド部材の変位によって、前記シートの幅方向の両側における弛み量を相対的に変化させて搬送経路長を変更することを特徴とする請求項1記載のシート搬送装置。
【請求項3】
前記斜行修正手段は、前記シートの搬送方向と直交する方向であって前記シートの搬送経路を挟んで一方の側と他方の側に配置され、それぞれが前記シートの幅方向に延びる第1支持軸と第2支持軸とを備え、前記シートの斜行量に応じて、前記第1支持軸と前記第2支持軸を搬送方向と平行な軸線の周りに一体に回動させ、
前記ガイド部材は、前記第1支持軸に追従して動作する第1ガイド部材と、前記第2支持軸に追従して動作する第2ガイド部材とを備え、前記第1ガイド部材と前記第2ガイド部材によって前記シートの両側の面を支持することを特徴とする請求項1又は2記載のシート搬送装置。
【請求項4】
前記シートの幅方向に間隔を空けて、複数の前記第1ガイド部材と複数の前記第2ガイド部材を備え、
前記第1支持軸と前記第2支持軸の少なくとも一方に、前記シートの幅方向で複数の前記第1ガイド部材及び複数の前記第2ガイド部材の間に位置する複数の回転可能なローラが支持されることを特徴とする請求項3記載のシート搬送装置。
【請求項5】
前記ガイド部材は、前記シートの搬送方向と直交する方向であって前記シートの搬送経路を挟んで一方の側と他方の側に配置され、前記シートの両側の面を挟んで支持する第1ベルト部材と第2ベルト部材とを備え、
前記斜行修正手段は、前記シートの斜行量に応じて、前記第1ベルト部材と前記第2ベルト部材のそれぞれの支持面形状を変化させることを特徴とする請求項1又は2記載のシート搬送装置。
発明の詳細な説明
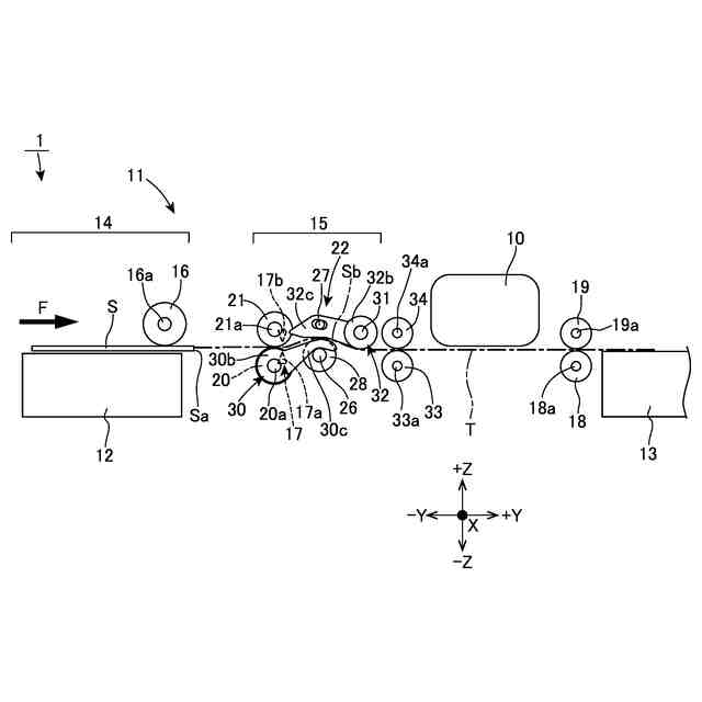
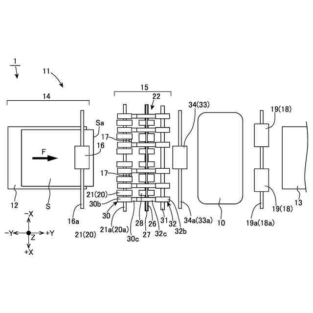
【技術分野】
【0001】
本発明は、シート搬送装置に関する。
続きを表示(約 1,800 文字)
【背景技術】
【0002】
枚葉の記録媒体(以下、用紙と呼ぶ)に対して画像形成を行う画像形成装置は、用紙を1枚ずつ分離させて画像形成部に供給し、画像形成部によって用紙への画像形成を行う。画像形成装置において用紙の搬送を行う搬送機構は、画像形成前の用紙を画像形成部まで搬送する給紙手段を備えている。画像形成開始指示が画像形成装置に入力されると、給紙手段は、分離搬送部によって用紙を1枚ずつ分離させ、各々の用紙を画像形成部まで順次搬送する。
【0003】
給紙手段によって画像形成部まで用紙を搬送する際に、用紙が正規の搬送方向に対して傾いた斜行状態で搬送されると、画像形成部で用紙に形成される画像品質の低下(用紙上の画像の位置ずれ、用紙からの画像のはみ出し等)や、用紙の搬送不良といった問題が生じる。その対策として、給紙手段において、分離搬送部から画像形成部までの間に斜行修正搬送部を設け、画像形成タイミングに合わせて分離搬送部から搬送された用紙の斜行を斜行修正搬送部によって修正してから、用紙を画像形成部に供給することが行われている。
【0004】
例えば、特許文献1に開示される斜行修正搬送部では、回転動作状態と回転停止状態とを選択可能なレジストローラを備え、回転停止状態のレジストローラに用紙先端を突き当てて用紙を弛ませることによって、斜行を修正している。所定のタイミングでレジストローラを回転させて、斜行修正後の用紙を画像形成部に搬送する。
【0005】
レジストローラは、回転と停止のサイクルを繰り返しながら用紙の斜行修正を行うため、単位時間当たりの用紙の搬送回数が増加すると、回転慣性の影響等の物理的な要因によって、動作の要求性能を満たすことが難しくなる。例えば、レジストローラにおいて非常に短い間隔で回転と停止を繰り返し行わせると、実際の回転指示や停止指示の入力からずれたタイミングでレジストローラの回転や停止が行われ、レジストローラから画像形成部に搬送された用紙に対する画像形成の位置精度が悪くなる。このような理由から、レジストローラの回転と停止のサイクルを繰り返す形態の斜行修正搬送部は、搬送精度を確保できる動作速度の限界があり、斜行修正搬送部が用紙搬送の速度向上(単位時間当たりの画像形成枚数)を制限する要因になっていた。
【0006】
用紙の搬送速度に関して斜行修正搬送部がボトルネックになることを解消するべく、給紙手段の動作の高速化を図る技術が提案されている。例えば、特許文献2に記載の発明では、レジストローラ対としての搬送ローラ対を、用紙の搬送方向(スラスト方向)に沿って角度を変更可能に構成している。そして、用紙の搬送中にセンサによって斜行量を検出し、搬送ローラ対のニップ線が用紙の先端と平行になるまで搬送ローラ対の角度を変更し、搬送ローラ対に用紙が挟持されると、搬送ローラ対の角度を搬送方向に対して直角に戻す。このような搬送ローラ対の動作によって用紙の斜行を修正する。特許文献2と類似の発明が、特許文献3に開示されている。
【0007】
特許文献4に記載の発明では、検知した用紙の斜行量に応じて、搬送方向に平行に配置した2つの搬送ローラの各々に異なった回転数を与えることによって、用紙の斜行を修正している。
【先行技術文献】
【特許文献】
【0008】
特開平10-35910号公報
特開平6-234441号公報
特開平4-153149号公報
特開平4-144859号公報
【発明の概要】
【発明が解決しようとする課題】
【0009】
特許文献2のように、用紙の搬送方向に沿って搬送ローラ対の角度を変化させて用紙の斜行を修正する構成では、斜行修正搬送部を配置するために搬送方向に広いスペースが必要になり、用紙の搬送経路が長くなる。その結果、画像形成装置が搬送方向に大型化してしまう。
【0010】
特許文献4のように、2つの搬送ローラに速度差を持たせて用紙の斜行を修正する構成では、2つの搬送ローラの速度差によって用紙に歪みを与えるおそれがあり、用紙の剛性や搬送ローラの摩擦係数等を考慮した適切な搬送ローラの動作制御を行うことが難しいという問題がある。
(【0011】以降は省略されています)
この特許をJ-PlatPat(特許庁公式サイト)で参照する
関連特許
理想科学工業株式会社
包装物
17日前
理想科学工業株式会社
印刷装置
17日前
理想科学工業株式会社
印刷装置
11日前
理想科学工業株式会社
印刷システム
4日前
理想科学工業株式会社
シート搬送装置
7日前
理想科学工業株式会社
メンテナンス装置
5日前
理想科学工業株式会社
印刷媒体設置装置
11日前
理想科学工業株式会社
インクジェット印刷装置
18日前
理想科学工業株式会社
インクジェット印刷装置
3日前
理想科学工業株式会社
油性インクジェットインク
17日前
理想科学工業株式会社
粘着シート、及び、被印刷物
17日前
理想科学工業株式会社
捺染物の製造方法および印刷装置
3日前
理想科学工業株式会社
印刷装置および捺染物の製造方法
3日前
理想科学工業株式会社
再販支援システム、方法およびプログラム
4日前
理想科学工業株式会社
捺染物の製造方法及び捺染物の製造システム
10日前
理想科学工業株式会社
印刷システム、印刷方法、および印刷プログラム
7日前
理想科学工業株式会社
情報処理装置、情報処理方法、およびプログラム
10日前
理想科学工業株式会社
予約管理装置、方法、プログラムおよびシステム
3日前
理想科学工業株式会社
予約管理装置、方法、プログラムおよびシステム
3日前
理想科学工業株式会社
画像処理装置、画像処理方法、及び、プログラム
3日前
理想科学工業株式会社
学習支援装置、学習支援方法、及び、プログラム
3日前
理想科学工業株式会社
情報処理装置、情報処理方法、およびプログラム
3日前
理想科学工業株式会社
予約管理装置、方法、プログラムおよびシステム
3日前
理想科学工業株式会社
予約管理装置、方法、プログラムおよびシステム
3日前
理想科学工業株式会社
画像処理装置、画像処理方法、及び、プログラム
3日前
理想科学工業株式会社
予約管理装置、方法、プログラムおよびシステム
3日前
理想科学工業株式会社
予約管理装置、方法、プログラムおよびシステム
3日前
理想科学工業株式会社
予約管理装置、方法、プログラムおよびシステム
3日前
理想科学工業株式会社
手話情報生成装置、方法、プログラムおよびシステム
3日前
理想科学工業株式会社
リマインダ通知装置、方法、プログラムおよびシステム
3日前
理想科学工業株式会社
印刷装置、印刷システム、印刷方法、及び、プログラム
7日前
理想科学工業株式会社
広告画像管理装置、広告画像管理方法、及び、プログラム
11日前
理想科学工業株式会社
デザイン支援装置、デザイン支援方法、及び、プログラム
3日前
理想科学工業株式会社
手話動画情報収集装置、方法、プログラムおよびシステム
3日前
理想科学工業株式会社
手話動画情報収集装置、方法、プログラムおよびシステム
3日前
理想科学工業株式会社
熱転写シート用インクセット及び熱転写シートの製造方法
7日前
続きを見る
他の特許を見る