TOP
|
特許
|
意匠
|
商標
特許ウォッチ
Twitter
他の特許を見る
公開番号
2025139615
公報種別
公開特許公報(A)
公開日
2025-09-29
出願番号
2024038547
出願日
2024-03-13
発明の名称
印刷装置、印刷システム、印刷方法、及び、プログラム
出願人
理想科学工業株式会社
代理人
インフォート弁理士法人
主分類
B41J
3/407 20060101AFI20250919BHJP(印刷;線画機;タイプライター;スタンプ)
要約
【課題】印刷装置、印刷システム、印刷方法、及びプログラムにおいて、組み立て状態の包材の複数の印刷面に簡素な構成で印刷を行う。
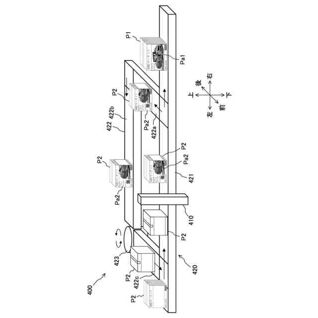
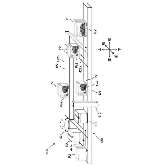
【解決手段】商品を収容する包材P(P1,P2)を搬送する搬送機構420は、印刷部410において包材Pを搬送する印刷搬送部421と、この印刷搬送部の印刷部410よりも搬送方向下流側から分岐し、印刷搬送部421の印刷部410よりも搬送方向上流側に合流する循環搬送部422と、この循環搬送部において包材P(第2包材P2)を回転させる回転部423とを有する。制御部は、包材Pに印刷される印刷画像(広告画像Pa)及びこの印刷画像の印刷面情報を取得する印刷面情報取得部と、印刷画像に基づいて印刷部410を制御する印刷制御部と、印刷面情報に基づいて包材P(P2)を循環搬送部422に搬送させるように搬送機構420を制御する搬送制御部とを有する。
【選択図】図2
特許請求の範囲
【請求項1】
商品を収容する包材を搬送する搬送機構と、
前記搬送機構によって搬送される前記包材に印刷を行う印刷部と、
前記搬送機構及び前記印刷部を制御する制御部とを備え、
前記搬送機構は、前記印刷部において前記包材を搬送する印刷搬送部と、当該印刷搬送部の前記印刷部よりも搬送方向下流側から分岐し、前記印刷搬送部の前記印刷部よりも搬送方向上流側に合流する循環搬送部と、当該循環搬送部において前記包材を回転させる回転部とを有し、
前記制御部は、前記包材に印刷される印刷画像及び当該印刷画像の印刷面情報を取得する印刷面情報取得部と、前記印刷画像に基づいて前記印刷部を制御する印刷制御部と、前記印刷面情報に基づいて前記包材を前記循環搬送部に搬送させるように前記搬送機構を制御する搬送制御部とを有する
ことを特徴とする印刷装置。
続きを表示(約 1,200 文字)
【請求項2】
印刷装置と、印刷内容決定装置とを備える印刷システムであって、
前記印刷装置は、
商品を収容する包材を搬送する搬送機構と、
前記搬送機構によって搬送される前記包材に印刷を行う印刷部と、
前記搬送機構及び前記印刷部を制御する制御部とを備え、
前記搬送機構は、前記印刷部において前記包材を搬送する印刷搬送部と、当該印刷搬送部の前記印刷部よりも搬送方向下流側から分岐し、前記印刷搬送部の前記印刷部よりも搬送方向上流側に合流する循環搬送部と、当該循環搬送部において前記包材を回転させる回転部とを有し、
前記制御部は、前記包材に印刷される印刷画像及び当該印刷画像の印刷面情報を取得する印刷面情報取得部と、前記印刷画像に基づいて前記印刷部を制御する印刷制御部と、前記印刷面情報に基づいて前記包材を前記循環搬送部に搬送させるように前記搬送機構を制御する搬送制御部とを有し、
前記印刷内容決定装置は、
前記印刷画像及び前記包材の包材情報に基づいて前記印刷画像の前記印刷面情報を決定する印刷面情報決定部を備える
ことを特徴とする印刷システム。
【請求項3】
商品を収容する包材を搬送する搬送機構と、当該搬送機構によって搬送される前記包材に印刷を行う印刷部とを備え、前記搬送機構は、前記印刷部において前記包材を搬送する印刷搬送部と、当該印刷搬送部の前記印刷部よりも搬送方向下流側から分岐し、前記印刷搬送部の前記印刷部よりも搬送方向上流側に合流する循環搬送部と、当該循環搬送部において前記包材を回転させる回転部とを有する印刷装置のコンピュータによって行われる印刷方法であって、
前記包材に印刷される印刷画像及び当該印刷画像の印刷面情報を取得することと、
前記印刷画像に基づいて前記印刷部を制御することと、
前記印刷面情報に基づいて前記包材を前記循環搬送部に搬送させるように前記搬送機構を制御することと
を含むことを特徴とする印刷方法。
【請求項4】
商品を収容する包材を搬送する搬送機構と、当該搬送機構によって搬送される前記包材に印刷を行う印刷部とを備え、前記搬送機構は、前記印刷部において前記包材を搬送する印刷搬送部と、当該印刷搬送部の前記印刷部よりも搬送方向下流側から分岐し、前記印刷搬送部の前記印刷部よりも搬送方向上流側に合流する循環搬送部と、当該循環搬送部において前記包材を回転させる回転部とを有する印刷装置のコンピュータに、
前記包材に印刷される印刷画像及び当該印刷画像の印刷面情報を取得する機能と、
前記印刷画像に基づいて前記印刷部を制御する機能と、
前記印刷面情報に基づいて前記包材を前記循環搬送部に搬送させるように前記搬送機構を制御する機能と
を実現させるプログラム。
発明の詳細な説明
【技術分野】
【0001】
本発明は、印刷装置と、印刷装置及び印刷内容決定装置を備える印刷システムと、印刷方法と、プログラムとに関する。
続きを表示(約 1,500 文字)
【背景技術】
【0002】
従来、組み立て前の液体用の紙容器などの広告宣伝媒体に対して、広告表示部、商品表示部等の印刷を行った後、広告宣伝媒体を組み立てる手法が知られている(例えば、特許文献1参照)。
【0003】
また、組み立て後の印刷媒体に対して印刷を行う手法として、ベルトコンベア上を搬送される立体物の印刷媒体の側面に対して液滴を吐出する手法が知られている(例えば、特許文献2参照)。
【先行技術文献】
【特許文献】
【0004】
特開2005-181573号公報
特開2023-144290号公報
【発明の概要】
【発明が解決しようとする課題】
【0005】
ところで、EC(Electronic Commerce)サイトで販売された商品の梱包を行う場合、包材に収容される商品に応じて決定される広告画像などは、組み立て前の包材に印刷することができない。また、組み立て状態の包材に対して上述のようにベルトコンベア上で印刷を行う場合、印刷面が複数であると、複数の印刷装置を配置する必要がある。
【0006】
本発明の目的は、組み立て状態の包材の複数の印刷面に簡素な構成で印刷を行うことができる、印刷装置、印刷システム、印刷方法、及びプログラムを提供することである。
【課題を解決するための手段】
【0007】
1つの態様では、印刷装置は、商品を収容する包材を搬送する搬送機構と、前記搬送機構によって搬送される前記包材に印刷を行う印刷部と、前記搬送機構及び前記印刷部を制御する制御部とを備え、前記搬送機構は、前記印刷部において前記包材を搬送する印刷搬送部と、当該印刷搬送部の前記印刷部よりも搬送方向下流側から分岐し、前記印刷搬送部の前記印刷部よりも搬送方向上流側に合流する循環搬送部とを有し、前記制御部は、前記包材に印刷される印刷画像及び当該印刷画像の印刷面情報を取得する印刷面情報取得部と、前記印刷画像に基づいて前記印刷部を制御する印刷制御部と、前記印刷面情報に基づいて前記包材を前記循環搬送部に搬送させるように前記搬送機構を制御する搬送制御部とを有する。
【発明の効果】
【0008】
前記態様によれば、組み立て状態の包材の複数の印刷面に簡素な構成で印刷を行うことができる。
【図面の簡単な説明】
【0009】
一実施の形態における印刷装置、印刷内容決定装置等の構成を示すブロック図である。
一実施の形態における印刷装置を示す斜視図である。包材への掲載広告画像の印刷を説明するための説明図である。
一実施の形態における印刷依頼情報の一例を説明するための説明図である。
一実施の形態における単一の印刷面に印刷される第1広告画像及び複数の印刷面に印刷される第2広告画像を説明するための説明図である。
一実施の形態における各装置の機能の概要を説明するための説明図である。
一実施の形態における印刷内容決定方法を説明するためのフローチャートである。
一実施の形態における印刷方法を説明するためのフローチャートである。
一実施の形態の変形例における印刷装置、印刷内容決定装置等の構成を示すブロック図である。
【発明を実施するための形態】
【0010】
以下、本発明の実施の形態に係る、印刷装置、印刷システム、印刷方法、及びプログラムについて、図面を参照しながら説明する。
(【0011】以降は省略されています)
この特許をJ-PlatPat(特許庁公式サイト)で参照する
関連特許
理想科学工業株式会社
包装物
17日前
理想科学工業株式会社
印刷装置
11日前
理想科学工業株式会社
印刷装置
17日前
理想科学工業株式会社
印刷システム
4日前
理想科学工業株式会社
画像処理装置
26日前
理想科学工業株式会社
孔版印刷装置
1か月前
理想科学工業株式会社
不吐出検出装置
1か月前
理想科学工業株式会社
シート搬送装置
7日前
理想科学工業株式会社
ワイピング装置
1か月前
理想科学工業株式会社
印刷媒体設置装置
11日前
理想科学工業株式会社
メンテナンス装置
5日前
理想科学工業株式会社
インクジェット印刷装置
3日前
理想科学工業株式会社
インクジェット印刷装置
18日前
理想科学工業株式会社
油性インクジェットインク
17日前
理想科学工業株式会社
粘着シート、及び、被印刷物
17日前
理想科学工業株式会社
捺染物の製造方法および印刷装置
3日前
理想科学工業株式会社
印刷装置および捺染物の製造方法
3日前
理想科学工業株式会社
被覆ローラ及び被覆ローラの組立方法
1か月前
理想科学工業株式会社
再販支援システム、方法およびプログラム
4日前
理想科学工業株式会社
捺染物の製造方法及び捺染物の製造システム
10日前
理想科学工業株式会社
印刷システム、印刷方法、および印刷プログラム
7日前
理想科学工業株式会社
予約管理装置、方法、プログラムおよびシステム
3日前
理想科学工業株式会社
情報処理装置、情報処理方法、およびプログラム
10日前
理想科学工業株式会社
予約管理装置、方法、プログラムおよびシステム
3日前
理想科学工業株式会社
画像処理装置、画像処理方法、及び、プログラム
3日前
理想科学工業株式会社
学習支援装置、学習支援方法、及び、プログラム
3日前
理想科学工業株式会社
情報処理装置、情報処理方法、およびプログラム
3日前
理想科学工業株式会社
予約管理装置、方法、プログラムおよびシステム
3日前
理想科学工業株式会社
予約管理装置、方法、プログラムおよびシステム
3日前
理想科学工業株式会社
予約管理装置、方法、プログラムおよびシステム
3日前
理想科学工業株式会社
予約管理装置、方法、プログラムおよびシステム
3日前
理想科学工業株式会社
予約管理装置、方法、プログラムおよびシステム
3日前
理想科学工業株式会社
画像処理装置、画像処理方法、及び、プログラム
3日前
理想科学工業株式会社
手話情報生成装置、方法、プログラムおよびシステム
3日前
理想科学工業株式会社
印刷装置、印刷システム、印刷方法、及び、プログラム
7日前
理想科学工業株式会社
リマインダ通知装置、方法、プログラムおよびシステム
3日前
続きを見る
他の特許を見る