TOP
|
特許
|
意匠
|
商標
特許ウォッチ
Twitter
他の特許を見る
10個以上の画像は省略されています。
公開番号
2025146639
公報種別
公開特許公報(A)
公開日
2025-10-03
出願番号
2024211844
出願日
2024-12-04
発明の名称
予約管理装置、方法、プログラムおよびシステム
出願人
理想科学工業株式会社
代理人
個人
主分類
G06Q
10/02 20120101AFI20250926BHJP(計算;計数)
要約
【課題】リスケジュールの回数を減らすことができ、手間をかけることなく、効率的にスケジュールの調整を行うことができる予約管理装置、方法、プログラムおよびシステムを提供する。
【解決手段】ホストが用意した複数の予約枠が予め設定された予約枠設定部11と、複数の予約枠に対して予約を行う複数のゲストの特性情報が記憶されたゲスト特性情報記憶部12と、複数のゲストの希望予約枠を受け付ける希望予約枠受付部13と、各ゲストの希望予約枠と各ゲストの特性情報に基づいて、複数の予約枠に対して各ゲストの予約をそれぞれ割り当てる割り当て部14とを備える。
【選択図】図1
特許請求の範囲
【請求項1】
ホストが用意した複数の予約枠が予め設定された予約枠設定部と、
前記複数の予約枠に対して予約を行う複数のゲストの特性情報が記憶されたゲスト特性情報記憶部と、
前記複数のゲストの希望予約枠を受け付ける希望予約枠受付部と、
前記各ゲストの希望予約枠と前記各ゲストの特性情報に基づいて、前記複数の予約枠に対して各ゲストの予約をそれぞれ割り当てる割り当て部とを備えた予約管理装置。
続きを表示(約 1,200 文字)
【請求項2】
前記割り当て部が、希望予約枠への割り当てができないゲストの端末装置に対して、希望予約枠の変更要求を通知し、該変更要求に応じて変更された希望予約枠に基づいて、前記予約枠への再割り当てを行うとともに、全てのゲストへの予約枠の割り当てが完了するまで、前記変更要求の通知と前記再割り当てを繰り返して行う請求項1記載の予約管理装置。
【請求項3】
前記割り当て部が、前記希望予約枠の変更を行ったゲストに対して、次回以降の予約枠への割り当の際に優先して割り当てる優先予約情報を付加する請求項2記載の予約管理装置。
【請求項4】
前記ゲストの特性情報が、前記ゲストの評価に基づいて設定されている請求項1記載の予約管理装置。
【請求項5】
前記ホストが学校であり、
前記ゲストが前記学校に通う生徒の保護者であり、
前記予約枠が前記学校の先生と前記保護者との面談の予約枠である請求項1記載の予約管理装置。
【請求項6】
前記ゲストの特性情報が、前記生徒または保護者の評価に基づいて設定されている請求項5記載の予約管理装置。
【請求項7】
前記ゲストの特性情報が、前記ホストによって前記ゲストに対して予め設定された優先度であり、
前記割り当て部が、前記ゲストの希望予約枠よりも前記優先度を優先して各ゲストの予約をそれぞれ割り当てる請求項1記載の予約管理装置。
【請求項8】
前記割り当て部が、同一の前記優先度の前記ゲストの希望予約枠に基づいて各ゲストに予約をそれぞれ割り当てる際、前記ゲストの希望予約枠として、任意の日時を指定しているゲストを抽出し、該抽出したゲストのうち予約枠割り当て対象のゲストを選択し、前記予約枠割り当て対象のゲスト以外の全てのゲストであって、まだ予約が割り当てられていないゲストの希望予約枠に基づいて予約枠への仮割り当てを行い、該仮割り当ての数に基づいて、前記予約枠割り当て対象のゲストの予約を割り当てる請求項7記載の予約管理装置。
【請求項9】
前記ゲストの特性情報が、前記ホストによって前記ゲストに対して予め設定された優先度であり、
前記割り当て部が、前記ゲストの優先度よりも前記ゲストの希望予約枠を優先して各ゲストの予約をそれぞれ割り当てる請求項1記載の予約管理装置。
【請求項10】
前記割り当て部が、前記ゲストの希望予約枠として、任意の日時を指定しているゲストを抽出し、該抽出したゲストのうち予約枠割り当て対象のゲストを選択し、前記予約枠割り当て対象のゲスト以外の全てのゲストであって、まだ予約が割り当てられていないゲストの希望予約枠に基づいて予約枠への仮割り当てを行い、該仮割り当ての数に基づいて、前記予約枠割り当て対象のゲストの予約を割り当てる請求項9記載の予約管理装置。
(【請求項11】以降は省略されています)
発明の詳細な説明
【技術分野】
【0001】
本発明は、ホストが用意した予約枠に対してゲストの予約を割り当てる予約管理装置、方法、プログラムおよびシステムに関するものである。
続きを表示(約 2,000 文字)
【背景技術】
【0002】
従来、学校の先生が保護者との面談を行う場合、面談の日時を全ての保護者と調整する必要がある。一般的には、全ての保護者から希望日のアンケートを取り、学校側で希望日時に沿うようスケジュールを組むことが行われる。
【0003】
この際、学校側から見て早い時間帯に面談すべき保護者がいたり、最後の枠で時間をかけて面談しなければならない保護者がいたりするため、このような事情を考慮してスケジュールを調整する必要がある。また、希望日に面談できない保護者に対してリスケジュールの依頼を出す必要があるが、その依頼やリスケジュール後のスケジュール調整が非常に手間である。
【0004】
特許文献1には、求人担当者と求職者の面接の日程調整をより簡易に行うことが可能な面接日程調整装置が提案されている。具体的には、特許文献1では、求人担当者のスケジュール情報に基づいて面接を行うことが可能な日時である面接日時を複数特定する面接日程調整装置が提案されている。
【先行技術文献】
【特許文献】
【0005】
特開2021-170151号公報
【発明の概要】
【発明が解決しようとする課題】
【0006】
しかしながら、特許文献1では、求人担当者(面接者)の都合は参照されるが、求職者(被面接者)の都合は参照されないため、面接日が求職者にとって都合が良い日とは限らず、リスケジュールの回数が多くなる問題がある。
【0007】
本発明は、上記事情に鑑み、リスケジュールの回数を減らすことができ、手間をかけることなく、効率的にスケジュールの調整を行うことができる予約管理装置、方法、プログラムおよびシステムを提供することを目的とするものである。
【課題を解決するための手段】
【0008】
本発明の予約管理装置は、ホストが用意した複数の予約枠が予め設定された予約枠設定部と、複数の予約枠に対して予約を行う複数のゲストの特性情報が記憶されたゲスト特性情報記憶部と、複数のゲストの希望予約枠を受け付ける希望予約枠受付部と、各ゲストの希望予約枠と各ゲストの特性情報に基づいて、複数の予約枠に対して各ゲストの予約をそれぞれ割り当てる割り当て部とを備える。
【発明の効果】
【0009】
本発明の予約管理装置によれば、各ゲストの希望予約枠と各ゲストの特性情報に基づいて、複数の予約枠に対して各ゲストの予約をそれぞれ割り当てるようにしたので、リスケジュールの回数を減らすことができ、手間をかけることなく、効率的にスケジュールの調整を行うことができる。
【図面の簡単な説明】
【0010】
本発明の予約管理装置の一実施形態を用いた予約管理システムの概略構成を示すブロック図
予め設定された予約枠の一例を示す図
各保護者の特性情報を示す特性情報テーブルの一例を示す図
各保護者の希望予約枠の一例を示す図
複数の予約枠に対して各保護者の予約を割り当てたスケジュールの一例を示す図
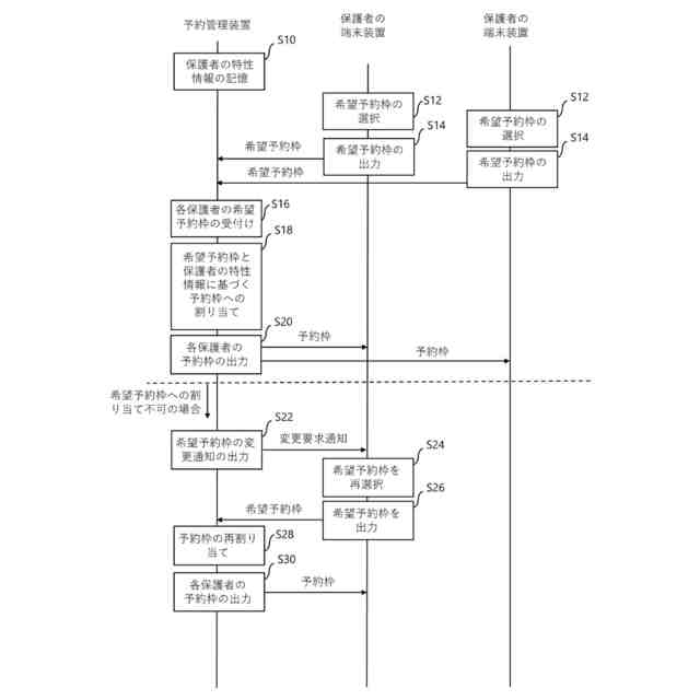
図1に示す予約管理システムの処理の流れを説明するためのシーケンス図
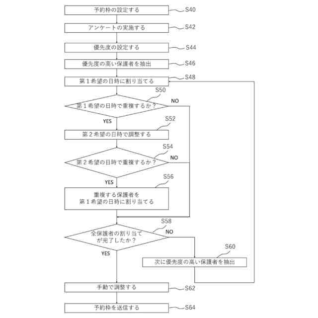
保護者の希望予約枠よりも優先度を優先して予約を割り当てる方法を説明するためのフローチャート
任意の日時を指定した保護者の予約を予約枠全体に対して満遍なく割り当てる方法を説明するためのフローチャート
面談調整画面の一例を示す図
図8に示すフローチャートのサブルーチンAを説明するためのフローチャート
予約枠と保護者の第2希望の一例を示す図
出席番号22~25の保護者の希望予約枠を仮割り当てした状態を示す図
出席番号21の保護者の予約を割り当てた状態を示す図
出席番号23~25の保護者の希望予約枠を仮割り当てした状態を示す図
出席番号22の保護者の予約を割り当てた状態を示す図
出席番号24~25の保護者の希望予約枠を仮割り当てした状態を示す図
出席番号23の保護者の予約を割り当てた状態を示す図
出席番号25の保護者の希望予約枠を仮割り当てした状態を示す図
出席番号24の保護者の予約を割り当てた状態を示す図
出席番号25の保護者の希望予約枠を示す図
出席番号25の保護者の予約を割り当てた状態を示す図
図10に示すサブルーチンAの変形例を示す図
保護者の優先度よりも希望予約枠を優先して予約を割り当てる方法を説明するためのフローチャート
保護者の優先度よりも希望予約枠を優先して予約を割り当てる方法においてサブルーチンAを実行する場合のフローチャートを示す図
【発明を実施するための形態】
(【0011】以降は省略されています)
この特許をJ-PlatPat(特許庁公式サイト)で参照する
関連特許
理想科学工業株式会社
包装物
17日前
理想科学工業株式会社
印刷装置
11日前
理想科学工業株式会社
印刷装置
17日前
理想科学工業株式会社
画像形成装置
2か月前
理想科学工業株式会社
印刷システム
4日前
理想科学工業株式会社
画像処理装置
26日前
理想科学工業株式会社
孔版印刷装置
1か月前
理想科学工業株式会社
不吐出検出装置
1か月前
理想科学工業株式会社
ワイピング装置
1か月前
理想科学工業株式会社
シート搬送装置
7日前
理想科学工業株式会社
メンテナンス装置
5日前
理想科学工業株式会社
印刷媒体設置装置
11日前
理想科学工業株式会社
インクジェット印刷装置
3日前
理想科学工業株式会社
インクジェット印刷装置
1か月前
理想科学工業株式会社
インクジェット印刷装置
18日前
理想科学工業株式会社
インクジェット印刷装置
1か月前
理想科学工業株式会社
油性インクジェットインク
17日前
理想科学工業株式会社
粘着シート、及び、被印刷物
17日前
理想科学工業株式会社
印刷装置および捺染物の製造方法
3日前
理想科学工業株式会社
捺染物の製造方法および印刷装置
3日前
理想科学工業株式会社
被覆ローラ及び被覆ローラの組立方法
1か月前
理想科学工業株式会社
インクジェットインク及びインクセット
2か月前
理想科学工業株式会社
再販支援システム、方法およびプログラム
4日前
理想科学工業株式会社
捺染物の製造方法及び捺染物の製造システム
10日前
理想科学工業株式会社
油性インクジェットインク及びその製造方法
1か月前
理想科学工業株式会社
予約管理装置、方法、プログラムおよびシステム
3日前
理想科学工業株式会社
画像処理装置、画像処理方法、及び、プログラム
1か月前
理想科学工業株式会社
情報処理装置、情報処理方法、およびプログラム
10日前
理想科学工業株式会社
予約管理装置、方法、プログラムおよびシステム
3日前
理想科学工業株式会社
印刷システム、印刷方法、および印刷プログラム
7日前
理想科学工業株式会社
画像処理装置、画像処理方法、及び、プログラム
3日前
理想科学工業株式会社
予約管理装置、方法、プログラムおよびシステム
3日前
理想科学工業株式会社
予約管理装置、方法、プログラムおよびシステム
3日前
理想科学工業株式会社
予約管理装置、方法、プログラムおよびシステム
3日前
理想科学工業株式会社
予約管理装置、方法、プログラムおよびシステム
3日前
理想科学工業株式会社
予約管理装置、方法、プログラムおよびシステム
3日前
続きを見る
他の特許を見る