TOP
|
特許
|
意匠
|
商標
特許ウォッチ
Twitter
他の特許を見る
公開番号
2025146073
公報種別
公開特許公報(A)
公開日
2025-10-03
出願番号
2024046664
出願日
2024-03-22
発明の名称
予約管理装置、方法、プログラムおよびシステム
出願人
理想科学工業株式会社
代理人
個人
主分類
G06Q
10/02 20120101AFI20250926BHJP(計算;計数)
要約
【課題】リスケジュールの回数を減らすことができ、手間をかけることなく、効率的にスケジュールの調整を行うことができる予約管理装置、方法、プログラムおよびシステムを提供する。
【解決手段】ホストが用意した複数の予約枠が予め設定された予約枠設定部11と、複数の予約枠に対して予約を行う複数のゲストの特性情報が記憶されたゲスト特性情報記憶部12と、複数のゲストの希望予約枠を受け付ける希望予約枠受付部13と、各ゲストの希望予約枠と各ゲストの特性情報に基づいて、複数の予約枠に対して各ゲストの予約をそれぞれ割り当てる割り当て部14とを備え、割り当て部14が、所定のゲストの予約枠に対して複数のホストが参加する場合、各ホストにそれぞれ属するゲストの特性情報および希望予約枠に基づいて、各ホストの予約枠に対して各ゲストの予約を割り当てる。
【選択図】図1
特許請求の範囲
【請求項1】
ホストが用意した複数の予約枠が予め設定された予約枠設定部と、
前記複数の予約枠に対して予約を行う複数のゲストの特性情報が記憶されたゲスト特性情報記憶部と、
前記複数のゲストの希望予約枠を受け付ける希望予約枠受付部と、
前記各ゲストの希望予約枠と前記各ゲストの特性情報に基づいて、前記複数の予約枠に対して各ゲストの予約をそれぞれ割り当てる割り当て部とを備え、
前記割り当て部が、所定のゲストの予約枠に対して複数の前記ホストが参加する場合、前記各ホストにそれぞれ属する前記ゲストの特性情報および前記希望予約枠に基づいて、前記各ホストの予約枠に対して各ゲストの予約を割り当てる予約管理装置。
続きを表示(約 1,100 文字)
【請求項2】
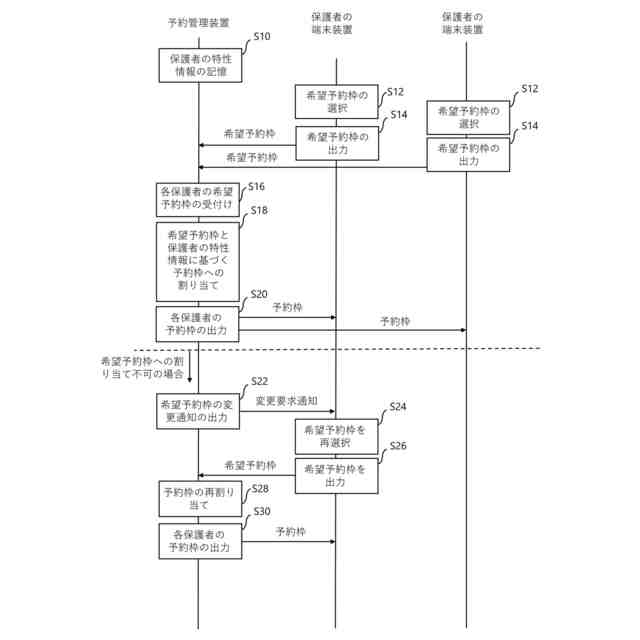
前記割り当て部が、希望予約枠への割り当てができないゲストの端末装置に対して、希望予約枠の変更要求を通知し、該変更要求に応じて変更された希望予約枠に基づいて、前記予約枠への再割り当てを行うとともに、全てのゲストへの予約枠の割り当てが完了するまで、前記変更要求の通知と前記再割り当てを繰り返して行う請求項1記載の予約管理装置。
【請求項3】
前記割り当て部が、前記希望予約枠の変更を行ったゲストに対して、次回以降の予約枠への割り当の際に優先して割り当てる優先予約情報を付加する請求項2記載の予約管理装置。
【請求項4】
前記ゲストの特性情報が、前記ゲストの評価に基づいて設定されている請求項1記載の予約管理装置。
【請求項5】
前記ホストが学校であり、
前記ゲストが前記学校に通う生徒の保護者であり、
前記予約枠が前記学校の先生と前記保護者との面談の予約枠である請求項1記載の予約管理装置。
【請求項6】
前記ゲストの特性情報が、前記生徒または保護者の評価に基づいて設定されている請求項5記載の予約管理装置。
【請求項7】
請求項1記載の予約管理装置と、前記ゲストの端末装置を備えた予約管理システム。
【請求項8】
ホストが用意した複数の予約枠を予め設定し、前記複数の予約枠に対して予約を行う複数のゲストの特性情報を予め記憶し、前記複数のゲストの希望予約枠を受け付け、前記各ゲストの希望予約枠と前記各ゲストの特性情報に基づいて、前記複数の予約枠に対して各ゲストの予約をそれぞれ割り当てる予約管理方法であって、
所定のゲストの予約枠に対して複数の前記ホストが参加する場合、各ホストにそれぞれ属する前記ゲストの特性情報と前記希望予約枠に基づいて、前記各ホストの予約枠に対して各ゲストの予約を割り当てる予約管理装方法。
【請求項9】
ホストが用意した複数の予約枠を予め設定するステップと、前記複数の予約枠に対して予約を行う複数のゲストの特性情報を予め記憶するステップと、前記複数のゲストの希望予約枠を受け付けるステップと、前記各ゲストの希望予約枠と前記各ゲストの特性情報に基づいて、前記複数の予約枠に対して各ゲストの予約をそれぞれ割り当てるステップとをコンピュータに実行させる予約管理プログラムであって、
所定のゲストの予約枠に対して複数の前記ホストが参加する場合、各ホストにそれぞれ属する前記ゲストの特性情報と前記希望予約枠に基づいて、前記各ホストの予約枠に対して各ゲストの予約を割り当てる予約管理装プログラム。
発明の詳細な説明
【技術分野】
【0001】
本発明は、ホストが用意した予約枠に対してゲストの予約を割り当てる予約管理装置、方法、プログラムおよびシステムに関するものである。
続きを表示(約 1,500 文字)
【背景技術】
【0002】
従来、学校の先生が保護者との面談を行う場合、面談の日時を全ての保護者と調整する必要がある。一般的には、全ての保護者から希望日のアンケートを取り、学校側で希望日時に沿うようスケジュールを組むことが行われる。
【0003】
この際、学校側から見て早い時間帯に面談すべき保護者がいたり、最後の枠で時間をかけて面談しなければならない保護者がいたりするため、このような事情を考慮してスケジュールを調整する必要がある。また、希望日に面談できない保護者に対してリスケジュールの依頼を出す必要があるが、その依頼やリスケジュール後のスケジュール調整が非常に手間である。
【0004】
特許文献1には、求人担当者と求職者の面接の日程調整をより簡易に行うことが可能な面接日程調整装置が提案されている。具体的には、特許文献1では、求人担当者のスケジュール情報に基づいて面接を行うことが可能な日時である面接日時を複数特定する面接日程調整装置が提案されている。
【先行技術文献】
【特許文献】
【0005】
特開2021-170151号公報
【発明の概要】
【発明が解決しようとする課題】
【0006】
しかしながら、特許文献1では、求人担当者(面接者)の都合は参照されるが、求職者(被面接者)の都合は参照されないため、面接日が求職者にとって都合が良い日とは限らず、リスケジュールの回数が多くなる問題がある。
【0007】
さらに、たとえば学校の面談においては、クラスの担任の先生だけでなく、学年主任のような指導力ある先生を同席させて、学校側が2名以上で面談に参加することが望ましい場合もある。その際、学年主任自身も担当のクラスがあるため、学年主任の空き時間も考慮しなければならず、スケジュール構築が非常に手間となる。
【0008】
本発明は、上記事情に鑑み、リスケジュールの回数を減らすことができ、手間をかけることなく、効率的にスケジュールの調整を行うことができる予約管理装置、方法、プログラムおよびシステムを提供することを目的とするものである。
【課題を解決するための手段】
【0009】
本発明の予約管理装置は、ホストが用意した複数の予約枠が予め設定された予約枠設定部と、複数の予約枠に対して予約を行う複数のゲストの特性情報が記憶されたゲスト特性情報記憶部と、複数のゲストの希望予約枠を受け付ける希望予約枠受付部と、各ゲストの希望予約枠と各ゲストの特性情報に基づいて、複数の予約枠に対して各ゲストの予約をそれぞれ割り当てる割り当て部とを備え、割り当て部が、所定のゲストの予約枠に対して複数のホストが参加する場合、各ホストにそれぞれ属するゲストの特性情報および希望予約枠に基づいて、各ホストの予約枠に対して各ゲストの予約を割り当てる。
【発明の効果】
【0010】
本発明の予約管理装置によれば、各ゲストの希望予約枠と各ゲストの特性情報に基づいて、複数の予約枠に対して各ゲストの予約をそれぞれ割り当てるとともに、所定のゲストの予約枠に対して複数のホストが参加する場合、各ホストにそれぞれ属するゲストの特性情報および希望予約枠に基づいて、各ホストの予約枠に対して各ゲストの予約を割り当てるようにしたので、リスケジュールの回数を減らすことができ、手間をかけることなく、効率的にスケジュールの調整を行うことができる。
【図面の簡単な説明】
(【0011】以降は省略されています)
この特許をJ-PlatPat(特許庁公式サイト)で参照する
関連特許
理想科学工業株式会社
包装物
18日前
理想科学工業株式会社
印刷装置
12日前
理想科学工業株式会社
印刷装置
18日前
理想科学工業株式会社
印刷システム
5日前
理想科学工業株式会社
孔版印刷装置
1か月前
理想科学工業株式会社
画像処理装置
27日前
理想科学工業株式会社
ワイピング装置
1か月前
理想科学工業株式会社
不吐出検出装置
1か月前
理想科学工業株式会社
シート搬送装置
8日前
理想科学工業株式会社
印刷媒体設置装置
12日前
理想科学工業株式会社
メンテナンス装置
6日前
理想科学工業株式会社
インクジェット印刷装置
19日前
理想科学工業株式会社
インクジェット印刷装置
1か月前
理想科学工業株式会社
インクジェット印刷装置
4日前
理想科学工業株式会社
油性インクジェットインク
18日前
理想科学工業株式会社
粘着シート、及び、被印刷物
18日前
理想科学工業株式会社
印刷装置および捺染物の製造方法
4日前
理想科学工業株式会社
捺染物の製造方法および印刷装置
4日前
理想科学工業株式会社
被覆ローラ及び被覆ローラの組立方法
1か月前
理想科学工業株式会社
再販支援システム、方法およびプログラム
5日前
理想科学工業株式会社
油性インクジェットインク及びその製造方法
1か月前
理想科学工業株式会社
捺染物の製造方法及び捺染物の製造システム
11日前
理想科学工業株式会社
情報処理装置、情報処理方法、およびプログラム
11日前
理想科学工業株式会社
印刷システム、印刷方法、および印刷プログラム
8日前
理想科学工業株式会社
画像処理装置、画像処理方法、及び、プログラム
1か月前
理想科学工業株式会社
予約管理装置、方法、プログラムおよびシステム
4日前
理想科学工業株式会社
予約管理装置、方法、プログラムおよびシステム
4日前
理想科学工業株式会社
情報処理装置、情報処理方法、およびプログラム
4日前
理想科学工業株式会社
予約管理装置、方法、プログラムおよびシステム
4日前
理想科学工業株式会社
予約管理装置、方法、プログラムおよびシステム
4日前
理想科学工業株式会社
予約管理装置、方法、プログラムおよびシステム
4日前
理想科学工業株式会社
予約管理装置、方法、プログラムおよびシステム
4日前
理想科学工業株式会社
画像処理装置、画像処理方法、及び、プログラム
4日前
理想科学工業株式会社
予約管理装置、方法、プログラムおよびシステム
4日前
理想科学工業株式会社
画像処理装置、画像処理方法、及び、プログラム
4日前
理想科学工業株式会社
学習支援装置、学習支援方法、及び、プログラム
4日前
続きを見る
他の特許を見る