TOP
|
特許
|
意匠
|
商標
特許ウォッチ
Twitter
他の特許を見る
10個以上の画像は省略されています。
公開番号
2025143192
公報種別
公開特許公報(A)
公開日
2025-10-01
出願番号
2025007278
出願日
2025-01-20
発明の名称
メンテナンス装置
出願人
理想科学工業株式会社
代理人
インフォート弁理士法人
主分類
B41J
2/165 20060101AFI20250924BHJP(印刷;線画機;タイプライター;スタンプ)
要約
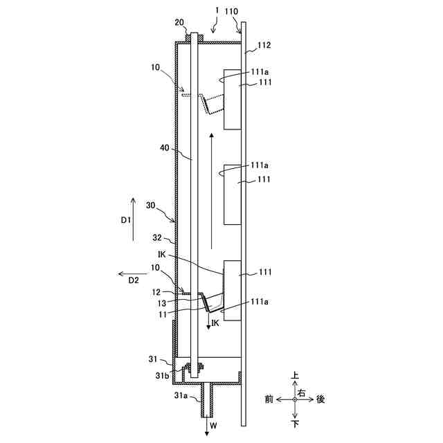
【課題】メンテナンス装置において、インクを横方向に吐出するインクジェットヘッドを、簡素な構成で且つ劣化させずにワイプする。
【解決手段】メンテナンス装置1は、インクIKを鉛直方向とは異なる方向のインク吐出方向D2に吐出するインクジェットヘッド111をワイプするワイパ11と、インクジェットヘッド111を水平方向よりも上向きのワイプ方向D1にワイプするようにワイパ11を移動させるワイパ駆動部20とを備える。
【選択図】図3
特許請求の範囲
【請求項1】
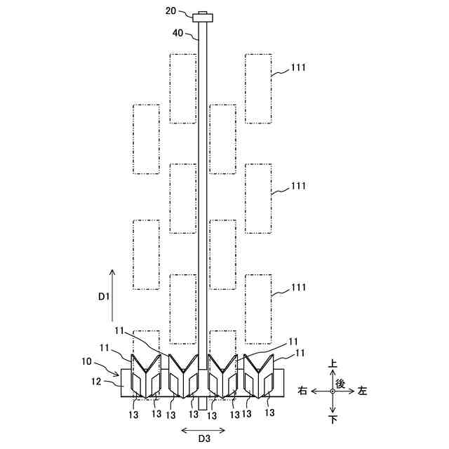
インクを鉛直方向とは異なる方向のインク吐出方向に吐出するインクジェットヘッドをワイプするワイパと、
前記インクジェットヘッドを水平方向よりも上向きのワイプ方向にワイプするように前記ワイパを移動させるワイパ駆動部と
を備えることを特徴とするメンテナンス装置。
続きを表示(約 780 文字)
【請求項2】
前記インクジェットヘッドの周囲を覆い、前記ワイパによってワイプされた廃液を回収する廃液回収部を更に備える
ことを特徴とする請求項1記載のメンテナンス装置。
【請求項3】
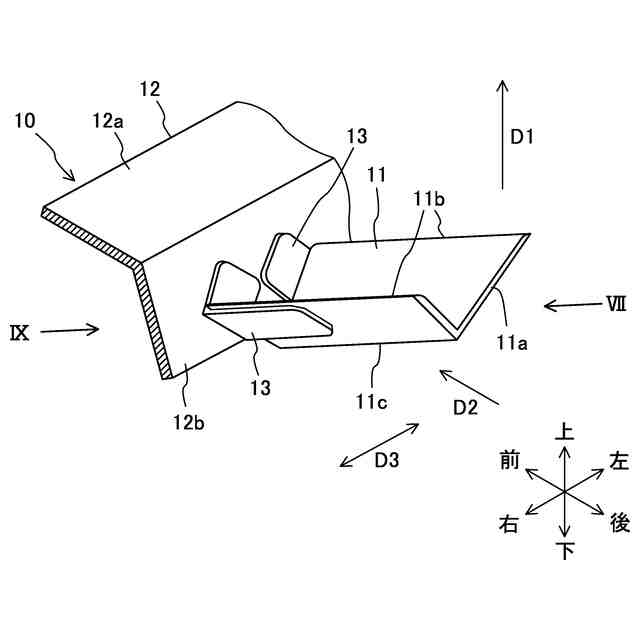
前記ワイパは、前記インク吐出方向にかけて水平方向よりも下向きに傾いている
ことを特徴とする請求項1記載のメンテナンス装置。
【請求項4】
前記ワイパは、前記ワイプ方向と前記インク吐出方向とに交差する幅方向において、両端から中央にかけて鉛直下方向に窪んでいる
ことを特徴とする請求項1記載のメンテナンス装置。
【請求項5】
前記ワイパは、前記ワイプ方向と前記インク吐出方向とに交差する幅方向において、中央から両端にかけて鉛直下方向に傾いている
ことを特徴とする請求項1記載のメンテナンス装置。
【請求項6】
前記ワイパの前記幅方向における前記中央を挟んだ両片の向きを調整する調整機構を更に備える
ことを特徴とする請求項4又は5記載のメンテナンス装置。
【請求項7】
前記インクジェットヘッドが吐出する前記インクの物性及びメンテナンス時の吐出量のうちの少なくとも一方に基づいて前記向きを調整するように前記調整機構を制御する制御部を更に備える
ことを特徴とする請求項6記載のメンテナンス装置。
【請求項8】
前記ワイパによってワイプされた廃液を当該ワイパから伝わせて流す廃液ガイド部材を更に備える
ことを特徴とする請求項1記載のメンテナンス装置。
【請求項9】
前記ワイパとともに移動し、当該ワイパによってワイプされた廃液を受ける可動廃液受けを更に備える
ことを特徴とする請求項1記載のメンテナンス装置。
発明の詳細な説明
【技術分野】
【0001】
本発明は、インクジェットヘッドをワイプするワイパを備えるメンテナンス装置に関する。
続きを表示(約 1,600 文字)
【背景技術】
【0002】
従来、インクジェットヘッドのインク吐出面に付着したインク滴や紙粉等の付着物を取り除くため、例えば、インクジェットヘッド内のインクを圧力で押し出してから(パージ動作)、ワイパによってインクジェットヘッドをワイプする手法が知られている。
【0003】
インクジェットヘッドは、鉛直下方向にインクを吐出するものが多いが、水平方向にインクを吐出するインクジェットヘッドもある。このように水平方向にインクを吐出するインクジェットヘッドをワイプするために、ワイパを鉛直下方向にワイプさせる手法がある(例えば、特許文献1参照)。
【先行技術文献】
【特許文献】
【0004】
特開2012-183664号公報
【発明の概要】
【発明が解決しようとする課題】
【0005】
上述のように水平方向にインクを吐出するインクジェットヘッドでは、パージされたインクが、鉛直下方向に流れて行くことでインク吐出面に残らなくなる場合がある。そのため、上述のようにワイパを鉛直下方向に移動させながらインクジェットヘッドをワイプすると、インクジェットヘッドのインク吐出面を傷つけて劣化させる可能性がある。
【0006】
水平方向にインクを吐出するインクジェットヘッドをワイプするためには、インクジェットヘッドを鉛直下方向に向くように移動させて、鉛直下方向にインクを吐出するインクジェットヘッドと同様にワイパを水平に移動させながらワイプを行うことも考えられる。しかし、このようにインクジェットヘッドの向きを可変にすると、インクジェットヘッドが移動するスペースの専有面積が大きくなったり、インクジェットヘッドの向きを可変にする駆動機構が必要になったりする。
【0007】
本発明の目的は、インクを横方向に吐出するインクジェットヘッドを簡素な構成で且つ劣化させずにワイプすることができるメンテナンス装置を提供することである。
【課題を解決するための手段】
【0008】
1つの態様では、メンテナンス装置は、インクを鉛直方向とは異なる方向のインク吐出方向に吐出するインクジェットヘッドをワイプするワイパと、前記インクジェットヘッドを水平方向よりも上向きのワイプ方向にワイプするように前記ワイパを移動させるワイパ駆動部とを備える。
【発明の効果】
【0009】
前記態様によれば、インクを横方向に吐出するインクジェットヘッドを簡素な構成で且つ劣化させずにワイプすることができる。
【図面の簡単な説明】
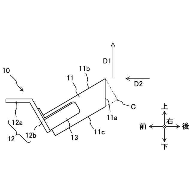
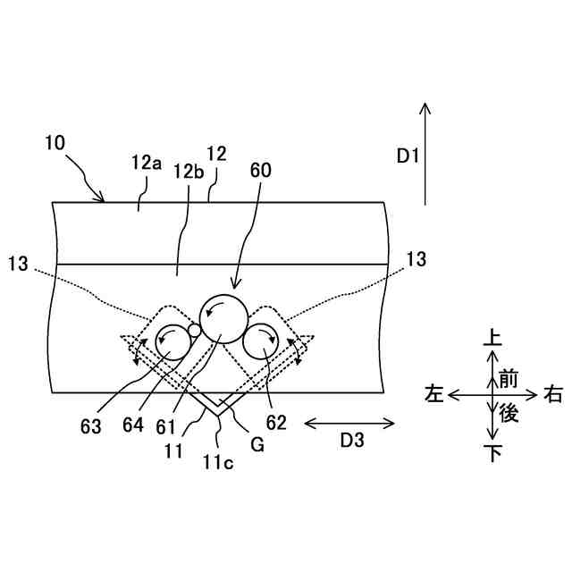
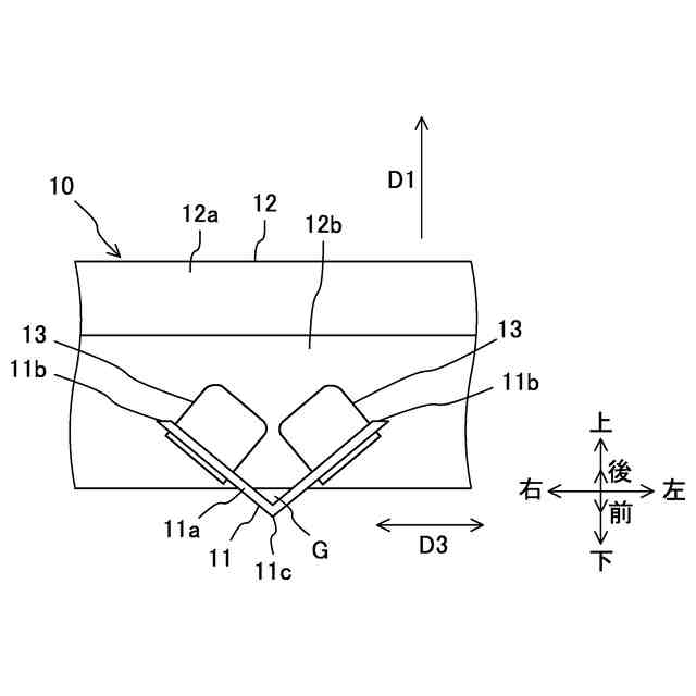
【0010】
一実施の形態におけるインクジェット印刷装置の主要な制御構成を示す図である。
一実施の形態におけるインクジェット印刷装置等を示す正面図である。
一実施の形態におけるメンテナンス装置の内部構造を示す断面図である。
一実施の形態におけるワイパユニットを示す背面図である。
一実施の形態におけるワイパユニットを示す斜視図である。
一実施の形態におけるワイパユニットを示す右側面図である。
図5をVII方向から見た図である。
一実施の形態における廃液収容部を示す断面図である。
一実施の形態の第1変形例における、図5をIX方向から見た図である。
一実施の形態の第2変形例におけるメンテナンス装置の内部構造を示す断面図である。
他の実施の形態におけるメンテナンス装置の内部構造を示す断面図である。
他の実施の形態の変形例におけるワイパ及び廃液ガイド部材を示す正面図である。
他の実施の形態の変形例におけるワイパユニットを示す右側面図である。
【発明を実施するための形態】
(【0011】以降は省略されています)
この特許をJ-PlatPat(特許庁公式サイト)で参照する
関連特許
理想科学工業株式会社
包装物
18日前
理想科学工業株式会社
印刷装置
12日前
理想科学工業株式会社
印刷装置
18日前
理想科学工業株式会社
画像形成装置
2か月前
理想科学工業株式会社
印刷システム
5日前
理想科学工業株式会社
画像処理装置
27日前
理想科学工業株式会社
孔版印刷装置
1か月前
理想科学工業株式会社
不吐出検出装置
1か月前
理想科学工業株式会社
ワイピング装置
1か月前
理想科学工業株式会社
シート搬送装置
8日前
理想科学工業株式会社
メンテナンス装置
6日前
理想科学工業株式会社
印刷媒体設置装置
12日前
理想科学工業株式会社
インクジェット印刷装置
4日前
理想科学工業株式会社
インクジェット印刷装置
1か月前
理想科学工業株式会社
インクジェット印刷装置
19日前
理想科学工業株式会社
インクジェット印刷装置
2か月前
理想科学工業株式会社
油性インクジェットインク
18日前
理想科学工業株式会社
粘着シート、及び、被印刷物
18日前
理想科学工業株式会社
印刷装置および捺染物の製造方法
4日前
理想科学工業株式会社
捺染物の製造方法および印刷装置
4日前
理想科学工業株式会社
被覆ローラ及び被覆ローラの組立方法
1か月前
理想科学工業株式会社
インクジェットインク及びインクセット
2か月前
理想科学工業株式会社
再販支援システム、方法およびプログラム
5日前
理想科学工業株式会社
捺染物の製造方法及び捺染物の製造システム
11日前
理想科学工業株式会社
油性インクジェットインク及びその製造方法
1か月前
理想科学工業株式会社
予約管理装置、方法、プログラムおよびシステム
4日前
理想科学工業株式会社
画像処理装置、画像処理方法、及び、プログラム
1か月前
理想科学工業株式会社
情報処理装置、情報処理方法、およびプログラム
11日前
理想科学工業株式会社
予約管理装置、方法、プログラムおよびシステム
4日前
理想科学工業株式会社
印刷システム、印刷方法、および印刷プログラム
8日前
理想科学工業株式会社
画像処理装置、画像処理方法、及び、プログラム
4日前
理想科学工業株式会社
予約管理装置、方法、プログラムおよびシステム
4日前
理想科学工業株式会社
予約管理装置、方法、プログラムおよびシステム
4日前
理想科学工業株式会社
予約管理装置、方法、プログラムおよびシステム
4日前
理想科学工業株式会社
予約管理装置、方法、プログラムおよびシステム
4日前
理想科学工業株式会社
予約管理装置、方法、プログラムおよびシステム
4日前
続きを見る
他の特許を見る