TOP
|
特許
|
意匠
|
商標
特許ウォッチ
Twitter
他の特許を見る
10個以上の画像は省略されています。
公開番号
2025144100
公報種別
公開特許公報(A)
公開日
2025-10-02
出願番号
2024043712
出願日
2024-03-19
発明の名称
印刷システム
出願人
理想科学工業株式会社
代理人
個人
,
個人
,
個人
主分類
B41J
2/01 20060101AFI20250925BHJP(印刷;線画機;タイプライター;スタンプ)
要約
【課題】簡易な装置構成で、顧客にとって不必要な後処理制御情報を消去すると共に、必要な情報のみ残すように印刷する。
【解決手段】前処理液とインクとの重量が洗濯堅牢度が高くなる比率として印刷する第一の印刷手段15aと、前処理液とインクとの重量を、洗濯堅牢度が第一の印刷手段15aの洗濯堅牢度よりも低くなる比率として印刷する第二の印刷手段15bと、第一の印刷手段15aにより画像情報に基づいて印刷装置1に印刷させると共に第二の印刷手段15bにより後処理装置の制御情報を後処理制御情報として印刷装置1に印刷させ、印刷された後処理制御情報を読み取り部22に読み取らせ、読み取った後処理制御情報に基づいて乾燥装置2を制御する制御部25と、を備える。
【選択図】 図1
特許請求の範囲
【請求項1】
前処理液とインクとを用いて画像情報および後処理制御情報とを印刷する印刷装置と、前記後処理制御情報を読み取り部で読み取り、前記読み取った後処理制御情報に基づいて後処理を実行する後処理装置とを備える印刷システムであって、
前記前処理液と前記インクとの重量が洗濯堅牢度が高くなる比率として印刷する第一の印刷手段と、
前記前処理液と前記インクとの重量を、洗濯堅牢度が前記第一の印刷手段の洗濯堅牢度よりも低くなる比率として印刷する第二の印刷手段と、
前記第一の印刷手段により前記画像情報に基づいて前記印刷装置に印刷させると共に前記第二の印刷手段により前記後処理装置の制御情報を前記後処理制御情報として前記印刷装置に印刷させ、前記印刷された後処理制御情報を前記読み取り部に読み取らせ、読み取った後処理制御情報に基づいて前記後処理装置を制御する制御手段と、
を備えることを特徴とする印刷システム。
続きを表示(約 320 文字)
【請求項2】
前記第一の印刷手段による洗濯堅牢度をJIS L 0844 A-2号における変退色3級以上とし、前記第二の印刷手段による洗濯堅牢度をJIS L 0844 A-2号における変退色1級とする
ことを特徴とする請求項1記載の印刷システム。
【請求項3】
前記インクに対する前記前処理液の塗布量の重量比は、前記第一の印刷手段は0.4以下、第二の印刷手段は0.55以上である
ことを特徴とする請求項1記載の印刷システム。
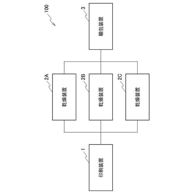
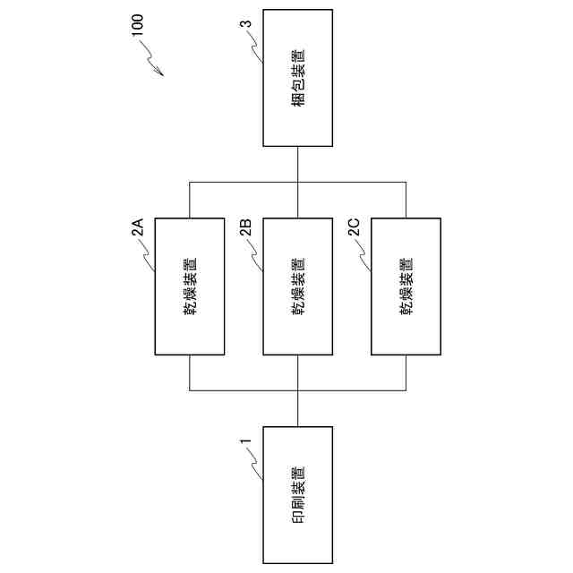
【請求項4】
前記後処理装置は、前記印刷装置により用いられた前記前処理液と前記インクとを乾燥させる乾燥装置であることを特徴とする請求項1記載の印刷システム。
発明の詳細な説明
【技術分野】
【0001】
本発明は、簡易な装置構成で、不必要な制御情報を消去すると共に必要な情報のみ残すように印刷する印刷システムに関する。
続きを表示(約 990 文字)
【背景技術】
【0002】
一般的に、Tシャツなどに印刷が可能なガーメントプリンターがよく知られている。
【0003】
このガーメントプリンターでは、例えばTシャツを印刷する場合、印刷工程だけでなく、この印刷工程の前工程と後工程の作業が存在する。特に後工程では印刷後のシャツを乾燥する作業が必要となり、Tシャツの材質等の条件により乾燥温度や乾燥時間を変える必要がある。
【0004】
特許文献1には、Tシャツ、パーカー、スウェットなどの印刷対象に対して印刷するガーメントプリンターであって、印刷対象の色に関する情報を含む対象情報に基づいて印刷を行うオンデマンド印刷サービスに関する技術が開示されている。
【0005】
特許文献2には、所定の印刷画像を識別するための識別情報が設定された非接触通信可能な電子タグから識別情報を読み取り、識別情報に基づいて所定の印刷画像を特定し、特定された所定の印刷画像をプリンタに印刷させるシステムに関する技術が開示されている。
【先行技術文献】
【特許文献】
【0006】
特許第7335625号公報
特許第6823325号公報
【発明の概要】
【発明が解決しようとする課題】
【0007】
しかしながら、特許文献1や特許文献2に記載の技術では、印刷作業後の情報付与をRFIDタグや紙帳票などに都度書き込まなければならず、RFIDタグや紙帳票を紛失する恐れもある。また、RFIDタグなどを用いると大規模なシステムを必要とする。
【0008】
特に、シャツ1枚ごとにシャツの媒体が異なるようなオンデマンド印刷の場合には、シャツ1枚ごとに乾燥時間が異なる場合に管理が非常に煩雑になる。
【0009】
そのため、シャツ1枚ごとに生産管理コード(番号、QRコード(登録商標)等)を印刷し、これを読み取ることで次工程の最適な乾燥条件が指定できれば、大規模なシステムを必要とせず、作業者の手間が減らせる。
【0010】
その一方で、生産管理コードは顧客にとっては不要な画像であり、半永久的にTシャツに画像が残ることは好ましくない。
(【0011】以降は省略されています)
この特許をJ-PlatPat(特許庁公式サイト)で参照する
関連特許
理想科学工業株式会社
包装物
18日前
理想科学工業株式会社
印刷装置
12日前
理想科学工業株式会社
印刷装置
18日前
理想科学工業株式会社
孔版印刷装置
1か月前
理想科学工業株式会社
印刷システム
5日前
理想科学工業株式会社
画像処理装置
27日前
理想科学工業株式会社
シート搬送装置
8日前
理想科学工業株式会社
ワイピング装置
1か月前
理想科学工業株式会社
不吐出検出装置
1か月前
理想科学工業株式会社
印刷媒体設置装置
12日前
理想科学工業株式会社
メンテナンス装置
6日前
理想科学工業株式会社
インクジェット印刷装置
19日前
理想科学工業株式会社
インクジェット印刷装置
4日前
理想科学工業株式会社
油性インクジェットインク
18日前
理想科学工業株式会社
粘着シート、及び、被印刷物
18日前
理想科学工業株式会社
印刷装置および捺染物の製造方法
4日前
理想科学工業株式会社
捺染物の製造方法および印刷装置
4日前
理想科学工業株式会社
被覆ローラ及び被覆ローラの組立方法
1か月前
理想科学工業株式会社
再販支援システム、方法およびプログラム
5日前
理想科学工業株式会社
捺染物の製造方法及び捺染物の製造システム
11日前
理想科学工業株式会社
情報処理装置、情報処理方法、およびプログラム
11日前
理想科学工業株式会社
印刷システム、印刷方法、および印刷プログラム
8日前
理想科学工業株式会社
予約管理装置、方法、プログラムおよびシステム
4日前
理想科学工業株式会社
予約管理装置、方法、プログラムおよびシステム
4日前
理想科学工業株式会社
画像処理装置、画像処理方法、及び、プログラム
1か月前
理想科学工業株式会社
予約管理装置、方法、プログラムおよびシステム
4日前
理想科学工業株式会社
画像処理装置、画像処理方法、及び、プログラム
4日前
理想科学工業株式会社
情報処理装置、情報処理方法、およびプログラム
4日前
理想科学工業株式会社
学習支援装置、学習支援方法、及び、プログラム
4日前
理想科学工業株式会社
予約管理装置、方法、プログラムおよびシステム
4日前
理想科学工業株式会社
予約管理装置、方法、プログラムおよびシステム
4日前
理想科学工業株式会社
画像処理装置、画像処理方法、及び、プログラム
4日前
理想科学工業株式会社
予約管理装置、方法、プログラムおよびシステム
4日前
理想科学工業株式会社
予約管理装置、方法、プログラムおよびシステム
4日前
理想科学工業株式会社
手話情報生成装置、方法、プログラムおよびシステム
4日前
理想科学工業株式会社
印刷装置、印刷システム、印刷方法、及び、プログラム
8日前
続きを見る
他の特許を見る