TOP
|
特許
|
意匠
|
商標
特許ウォッチ
Twitter
他の特許を見る
公開番号
2025144615
公報種別
公開特許公報(A)
公開日
2025-10-03
出願番号
2024044343
出願日
2024-03-21
発明の名称
デザイン支援装置、デザイン支援方法、及び、プログラム
出願人
理想科学工業株式会社
代理人
インフォート弁理士法人
主分類
G06F
3/12 20060101AFI20250926BHJP(計算;計数)
要約
【課題】デザイン支援装置、デザイン支援方法、及びプログラムにおいて、折り畳まれた状態で印刷される被印刷材におけるユーザの所望の位置に印刷を行う。
【解決手段】デザイン支援装置(100,200)は、折り畳まれた状態で印刷される被印刷材Mの印刷可能位置情報を取得する位置情報取得部(ステップS3,120,210)と、折り畳まれる前の状態の被印刷材Mにおける印刷可能位置情報をユーザに通知する通知部(ステップS4,130,220)とを備える。
【選択図】図4
特許請求の範囲
【請求項1】
折り畳まれた状態で印刷される被印刷材の印刷可能位置情報を取得する位置情報取得部と、
折り畳まれる前の状態の前記被印刷材における前記印刷可能位置情報をユーザに通知する通知部と
を備えることを特徴とするデザイン支援装置。
続きを表示(約 910 文字)
【請求項2】
前記位置情報取得部は、折り畳まれた状態で印刷される前記被印刷材の複数の前記印刷可能位置情報を取得し、
前記通知部は、折り畳まれる前の状態の前記被印刷材における前記複数の印刷可能位置情報を前記ユーザに通知する
ことを特徴とする請求項1記載のデザイン支援装置。
【請求項3】
前記位置情報取得部は、折り畳まれた状態で印刷され前記印刷可能位置情報が互いに一致しない複数の前記被印刷材の前記印刷可能位置情報を取得し、
前記通知部は、折り畳まれる前の状態の前記複数の被印刷材における前記印刷可能位置情報を前記ユーザに通知する
ことを特徴とする請求項1又は2記載のデザイン支援装置。
【請求項4】
前記ユーザによってデザインされた前記印刷可能位置情報に対応するデザイン情報を取得するデザイン情報取得部を更に備え、
前記通知部は、折り畳まれる前の状態の単一の前記被印刷材上で、前記複数の被印刷材のうちの少なくとも1つで印刷可能な前記印刷可能位置情報を前記ユーザに通知し、
前記通知部は、前記デザイン情報が取得されると、折り畳まれる前の状態の前記単一の被印刷材上で、前記デザイン情報に対応する前記印刷可能位置情報を有する1つ以上の前記被印刷材の少なくとも1つで印刷可能な前記印刷可能位置情報に絞って前記ユーザに通知する
ことを特徴とする請求項3記載のデザイン支援装置。
【請求項5】
コンピュータによって行われるデザイン支援方法であって、
折り畳まれた状態で印刷される被印刷材の印刷可能位置情報を取得することと、
折り畳まれる前の状態の前記被印刷材における前記印刷可能位置情報をユーザに通知することと
を含むことを特徴とするデザイン支援方法。
【請求項6】
折り畳まれた状態で印刷される被印刷材の印刷可能位置情報を取得する機能と、
折り畳まれる前の状態の前記被印刷材における前記印刷可能位置情報をユーザに通知する機能と
をコンピュータに実現させるプログラム。
発明の詳細な説明
【技術分野】
【0001】
本発明は、デザイン支援装置、デザイン支援方法、及びプログラムに関する。
続きを表示(約 1,200 文字)
【背景技術】
【0002】
従来、印刷装置の正面の操作部を顧客が操作すれば、印刷部及び定着部によって所望のデザインが印刷されたTシャツを製造でき、製造されたTシャツをカートリッジ提供部の商品提供口から顧客に提供することができる印刷装置が提案されている(例えば、特許文献1参照)。
【0003】
また、印刷を手早く行うため、被印刷材の印刷が施される部分を平坦な状態で保持する板状部材を備え、被印刷材の印刷範囲の部分が開口した包装物が提案されている(例えば、特許文献2参照)。
【先行技術文献】
【特許文献】
【0004】
特許第6656703号公報
特開2020-152446号公報
【発明の概要】
【発明が解決しようとする課題】
【0005】
DTG(Direct to Garment)やスクリーン印刷などでTシャツに印刷を行う場合、上述のように印刷範囲の部分が開口した包装物を用いることで、そのまま包装物をDTGプリンタにセットすることができる。
【0006】
しかし、上述の包装物などの折り畳まれた状態の被印刷材については、ユーザが正確な印刷位置を判断することが難しい。そのため、ユーザの想定と実際の印刷後の仕上がりとにギャップが生じてしまう。また、包装状態に応じた印刷位置を不慣れな人が設定すること自体、困難である。
【0007】
本発明の目的は、折り畳まれた状態で印刷される被印刷材におけるユーザの所望の位置に印刷を行うことができるデザイン支援装置、デザイン支援方法、及びプログラムを提供することである。
【課題を解決するための手段】
【0008】
1つの態様では、デザイン支援装置は、折り畳まれた状態で印刷される被印刷材の印刷可能位置情報を取得する位置情報取得部と、折り畳まれる前の状態の前記被印刷材における前記印刷可能位置情報をユーザに通知する通知部とを備える。
【発明の効果】
【0009】
前記態様によれば、折り畳まれた状態で印刷される被印刷材におけるユーザの所望の位置に印刷を行うことができる。
【図面の簡単な説明】
【0010】
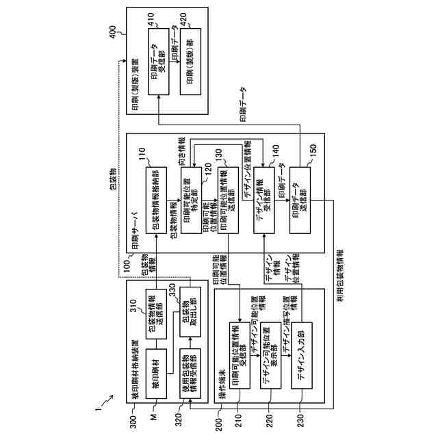
一実施の形態における印刷システムの構成を示すブロック図である。
一実施の形態における折り畳みパターンA~Eの被印刷材を示す説明図である。
一実施の形態における印刷可能位置及び向きを説明するための説明図である。
一実施の形態における印刷サーバの処理を説明するためのフローチャートである。
一実施の形態における印刷可能位置の絞り込みを説明するための説明図である。
一実施の形態におけるコンピュータの一例を示す図である。
【発明を実施するための形態】
(【0011】以降は省略されています)
この特許をJ-PlatPat(特許庁公式サイト)で参照する
関連特許
理想科学工業株式会社
包装物
18日前
理想科学工業株式会社
印刷装置
18日前
理想科学工業株式会社
印刷装置
12日前
理想科学工業株式会社
印刷システム
5日前
理想科学工業株式会社
画像処理装置
27日前
理想科学工業株式会社
画像形成装置
2か月前
理想科学工業株式会社
孔版印刷装置
1か月前
理想科学工業株式会社
シート搬送装置
8日前
理想科学工業株式会社
不吐出検出装置
1か月前
理想科学工業株式会社
ワイピング装置
1か月前
理想科学工業株式会社
メンテナンス装置
6日前
理想科学工業株式会社
印刷媒体設置装置
12日前
理想科学工業株式会社
インクジェット印刷装置
1か月前
理想科学工業株式会社
インクジェット印刷装置
4日前
理想科学工業株式会社
インクジェット印刷装置
2か月前
理想科学工業株式会社
インクジェット印刷装置
19日前
理想科学工業株式会社
油性インクジェットインク
18日前
理想科学工業株式会社
搬送ローラの摩耗検知装置
2か月前
理想科学工業株式会社
粘着シート、及び、被印刷物
18日前
理想科学工業株式会社
捺染物の製造方法および印刷装置
4日前
理想科学工業株式会社
印刷装置および捺染物の製造方法
4日前
理想科学工業株式会社
被覆ローラ及び被覆ローラの組立方法
1か月前
理想科学工業株式会社
インクジェットインク及びインクセット
2か月前
理想科学工業株式会社
再販支援システム、方法およびプログラム
5日前
理想科学工業株式会社
転写媒体製造装置および方法並びに転写媒体
2か月前
理想科学工業株式会社
油性インクジェットインク及びその製造方法
1か月前
理想科学工業株式会社
捺染物の製造方法及び捺染物の製造システム
11日前
理想科学工業株式会社
情報処理装置、情報処理方法、およびプログラム
11日前
理想科学工業株式会社
画像処理装置、画像処理方法、及び、プログラム
1か月前
理想科学工業株式会社
印刷制御装置、印刷制御方法、及び、プログラム
2か月前
理想科学工業株式会社
予約管理装置、方法、プログラムおよびシステム
4日前
理想科学工業株式会社
予約管理装置、方法、プログラムおよびシステム
4日前
理想科学工業株式会社
画像処理装置、画像処理方法、及び、プログラム
4日前
理想科学工業株式会社
印刷システム、印刷方法、および印刷プログラム
8日前
理想科学工業株式会社
予約管理装置、方法、プログラムおよびシステム
4日前
理想科学工業株式会社
予約管理装置、方法、プログラムおよびシステム
4日前
続きを見る
他の特許を見る