TOP
|
特許
|
意匠
|
商標
特許ウォッチ
Twitter
他の特許を見る
10個以上の画像は省略されています。
公開番号
2025145382
公報種別
公開特許公報(A)
公開日
2025-10-03
出願番号
2024045529
出願日
2024-03-21
発明の名称
情報処理システム、情報処理方法、情報処理装置及びコンピュータプログラム
出願人
株式会社栗本鐵工所
代理人
個人
,
個人
主分類
G06F
3/01 20060101AFI20250926BHJP(計算;計数)
要約
【課題】GUI画面に対する操作性を他の感覚の補助で向上させる情報処理システム、情報処理方法、情報処理装置及びコンピュータプログラムを提供する。
【解決手段】情報処理システムは、GUI画面を表示する表示装置と、ユーザの操作を受け付ける操作デバイスと、前記操作デバイスに対する操作に基づき前記GUI画面を描画して前記表示装置へ出力する情報処理装置とを含み、前記操作デバイスは、前記ユーザに接触する部分に触覚を提示する触覚デバイスを含み、前記GUI画面は、複数のエリアに区分されており、前記情報処理装置は、前記触覚デバイスから異なる触覚を提示させるための複数の触覚データを記憶しておき、前記操作デバイスによる前記GUI画面への操作位置が、前記複数のエリアのいずれに存在するかに応じて、前記複数の触覚データから触覚データを選択し、選択した触覚データを前記触覚デバイスへ送信する。
【選択図】図11
特許請求の範囲
【請求項1】
GUI画面を表示する表示装置と、
ユーザの操作を受け付ける操作デバイスと、
前記操作デバイスに対する操作に基づき前記GUI画面を描画して前記表示装置へ出力する情報処理装置と
を含み、
前記操作デバイスは、前記ユーザに接触する部分に触覚を提示する触覚デバイスを含み、
前記GUI画面は、複数のエリアに区分されており、
前記情報処理装置は、
前記触覚デバイスから異なる触覚を提示させるための複数の触覚データを記憶しておき、
前記操作デバイスによる前記GUI画面への操作位置が、前記複数のエリアのいずれに存在するかに応じて、前記複数の触覚データから触覚データを選択し、
選択した触覚データを前記触覚デバイスへ送信する
情報処理システム。
続きを表示(約 1,900 文字)
【請求項2】
前記表示装置は、HMD(Head Mounted Display)であり、
前記情報処理装置は、
前記HMDに複数の仮想ディスプレイを配置した三次元画像を出力し、
前記複数の仮想ディスプレイにそれぞれに、前記複数のエリアをそれぞれ表示させ、
前記GUI画面への操作位置が、前記複数のエリアのいずれに存在するかに応じて、触覚データを選択して送信する
請求項1に記載の情報処理システム。
【請求項3】
前記情報処理装置は、
前記GUI画面を区分した前記複数のエリアのうち、いずれかを前記表示装置へ出力し、
表示しているエリアが変更された場合、前記複数の触覚データから、変更先のエリアに応じた触覚データを選択して送信する
請求項1に記載の情報処理システム。
【請求項4】
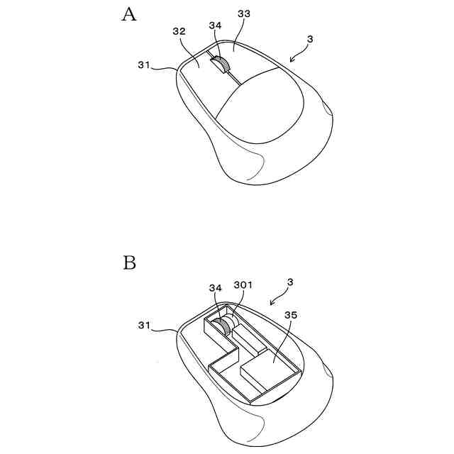
前記操作デバイスは、ホイールを有するマウスであり、
前記触覚デバイスは、
前記ホイールへの回転操作に対する回転抵抗によって触覚を提示するデバイスであって、
前記ホイールと同軸のロータのずり応力を、入力される電流量に応じて制御するMRF(Magneto-Rheological Fluid)デバイスによって前記回転抵抗を増減させ、
前記情報処理装置は、前記複数のエリアそれぞれに対し、前記エリア用の触覚データとして、前記MRFデバイスへの電流値を選択して送信する
請求項1から3のいずれか1項に記載の情報処理システム。
【請求項5】
前記操作デバイスは、クリック可能なボタンを有し、
前記触覚デバイスは、
前記ボタンへの反力、及び/又は前記ボタンの振動によって触覚を提示するデバイスであって、
前記情報処理装置は、前記複数のエリアそれぞれに対し、前記エリア用の触覚データとして、前記ボタンへの反力及び/又は振動を出力するアクチュエータへの制御信号の波形、振幅、パルス幅又は継続時間を選択して送信する
請求項1に記載の情報処理システム。
【請求項6】
前記操作デバイスは、前記HMDにて表示した三次元画像内のオブジェクトを指し示すためのコントローラであって、
前記触覚デバイスは、
前記コントローラの把持部分に、振動又は歪曲により力覚を生じさせるデバイスであって、
前記情報処理装置は、前記複数のエリアそれぞれに対し、前記エリア用の触覚データとして、前記把持部分への振動又は歪曲を出力するアクチュエータへの制御信号の波形、振幅、パルス幅又は継続時間を選択して送信する
請求項2に記載の情報処理システム。
【請求項7】
前記情報処理装置は、
前記複数のエリアに対応付けて触覚データを、ユーザの操作により書き換え可能に記憶しており、
前記GUI画面への操作位置が存在するエリアに対応付けられている触覚データを選択する
請求項1から3のいずれか1項に記載の情報処理システム。
【請求項8】
前記情報処理装置は、前記操作デバイスの操作位置の各エリアにおける移動方向に応じて触覚データを選択する
請求項1から3のいずれか1項に記載の情報処理システム。
【請求項9】
前記情報処理装置は、前記操作デバイスの操作位置が各エリアの端にあるか否かに応じて触覚データを選択する
請求項1から3のいずれか1項に記載の情報処理システム。
【請求項10】
GUI画面を表示する表示装置と、ユーザの操作を受け付ける操作デバイスと、前記操作デバイスに対する操作に基づき前記GUI画面を描画して前記表示装置へ出力する情報処理装置とを含むシステムにおける情報処理方法であって、
前記操作デバイスは、前記ユーザに接触する部分に触覚を提示する触覚デバイスを含み、
前記GUI画面は、複数のエリアに区分されており、
前記情報処理装置は、
前記触覚デバイスから異なる触覚を提示させるための複数の触覚データを記憶しておき、
前記操作デバイスによる前記GUI画面への操作位置が、前記複数のエリアのいずれに存在するかに応じて、前記複数の触覚データから触覚データを選択し、
選択した触覚データを前記触覚デバイスへ送信する
情報処理方法。
(【請求項11】以降は省略されています)
発明の詳細な説明
【技術分野】
【0001】
本発明は、情報処理システム、情報処理方法、情報処理装置及びコンピュータプログラムに関する。
続きを表示(約 1,600 文字)
【背景技術】
【0002】
仮想現実のビューアとして、ヘッドマウントディスプレイ(以下、HMD(Head Mounted Display )という)や、スマートグラスが利用されている。HMDの画像表示技術の向上により、仮想現実を体験するためのディスプレイや、ゲーム等の没入感が求められる画像を表示するためのディスプレイとして利用されることが多かった。昨今、ディスプレイ部分の精細化技術の向上により、HMDの視野角が広くなったことでゲーム以外の映画鑑賞などの用途が広がりつつある。
【0003】
HMDの視野角も広くなり、小型のディスプレイでも精細化されたことにより、AR(Augmented Reality)空間、あるいはVR(Virtual Reality)空間内に、仮想ディスプレイを配置し、仮想ディスプレイにパーソナルコンピュータ(PC:Personal Computer )の画面を表示させる技術が提案されている(特許文献1等)。
【0004】
HMDにPCの画面を表示させることにより、物理的な大型ディスプレイを置くことなくPC作業を行なうことが可能となり、アドレスフリーでPC作業も可能になる。HMDで仮想ディスプレイを配置する場合、AR空間内又はVR空間内にマルチディスプレイを配置して作業することも可能となる。
【先行技術文献】
【特許文献】
【0005】
特表2024-509668号公報
【発明の概要】
【発明が解決しようとする課題】
【0006】
仮想ディスプレイをAR空間内又はVR空間内に複数配置した場合、HMD又はスマートグラスの視野角や解像度の問題から、作業中の仮想ディスプレイ以外の他の仮想ディスプレイは見えなくなり、当該他の仮想ディスプレイに移動しようとした際に、不快感を生じさせる場合がある。また、HMDを使用する場合、目線で注目範囲を変えることが難しく、首を動かして視野を変更するなど、実空間でのマルチディスプレイの使用よりもユーザへの負担が多い。
【0007】
AR空間内又はVR空間内における仮想ディスプレイを配置した際の空間内での操作を視覚と異なる感覚で補助することが考えられる。音声を立体的に出力し、聴覚にて方向性を感じさせるなど、実空間と同様に空間を実現して違和感を生じさせない工夫はされている。このように視覚以外の感覚で、仮想空間内のユーザ自身の位置や姿勢、を把握させて、不快感を削減し、操作性を向上させる技術が期待される。
【0008】
本開示は、GUI画面に対する操作性を他の感覚の補助で向上させる情報処理システム、情報処理方法、情報処理装置及びコンピュータプログラムを提供することを目的とする。
【課題を解決するための手段】
【0009】
本開示の一実施形態の情報処理システムは、GUI画面を表示する表示装置と、ユーザの操作を受け付ける操作デバイスと、前記操作デバイスに対する操作に基づき前記GUI画面を描画して前記表示装置へ出力する情報処理装置とを含み、前記操作デバイスは、前記ユーザに接触する部分に触覚を提示する触覚デバイスを含み、前記GUI画面は、複数のエリアに区分されており、前記情報処理装置は、前記触覚デバイスから異なる触覚を提示させるための複数の触覚データを記憶しておき、前記操作デバイスによる前記GUI画面への操作位置が、前記複数のエリアのいずれに存在するかに応じて、前記複数の触覚データから触覚データを選択し、選択した触覚データを前記触覚デバイスへ送信する。
【0010】
本開示の情報処理システム、情報処理方法、情報処理装置及びコンピュータプログラムでは、GUI画面を複数のエリアに区分したいずれのエリアに操作位置が存在するかによって、異なる触覚が提示される。
【発明の効果】
(【0011】以降は省略されています)
この特許をJ-PlatPat(特許庁公式サイト)で参照する
関連特許
株式会社栗本鐵工所
触覚提示装置
4日前
株式会社栗本鐵工所
外面防食鉄管
2日前
株式会社栗本鐵工所
オリフィス弁
4日前
株式会社栗本鐵工所
触覚提示システム
5日前
株式会社栗本鐵工所
磁気粘性流体装置
4日前
株式会社栗本鐵工所
触覚提示システム
4日前
株式会社栗本鐵工所
触覚提示システム
3日前
株式会社栗本鐵工所
触覚提示システム
3日前
株式会社栗本鐵工所
触覚提示システム
3日前
株式会社栗本鐵工所
触覚提示システム
3日前
株式会社栗本鐵工所
管継手構造及び支柱
9日前
株式会社栗本鐵工所
ハウジング管の製造方法
3日前
株式会社栗本鐵工所
弁箱構造および管体構造
9日前
株式会社栗本鐵工所
操作装置及び操作受付方法
2日前
株式会社栗本鐵工所
磁気粘性流体装置の生産方法
2日前
株式会社栗本鐵工所
外面防食鉄管およびその製造方法
2日前
株式会社栗本鐵工所
接続構造および磁気粘性流体装置
2日前
株式会社栗本鐵工所
破砕制御システムおよびプログラム
3日前
株式会社栗本鐵工所
触覚提示可能な入力装置の制御方法
5日前
株式会社栗本鐵工所
管路更生工法および管路更生工法用管
13日前
株式会社栗本鐵工所
溶湯量予測システムおよびプログラム
5日前
株式会社栗本鐵工所
トラフ乾燥方法、及び、トラフ乾燥装置
4日前
個人
樹脂管の寿命試験方法及び寿命試験装置
17日前
株式会社栗本鐵工所
送風量制御システム、および、送風量決定プログラム
10日前
株式会社栗本鐵工所
破砕制御システム、摩耗量予測装置およびプログラム
4日前
株式会社栗本鐵工所
情報処理装置、触覚提示方法及びコンピュータプログラム
3日前
株式会社栗本鐵工所
遠隔検査装置、遠隔検査方法及びコンピュータプログラム
9日前
株式会社栗本鐵工所
情報処理装置、触覚提示方法及びコンピュータプログラム
2日前
株式会社栗本鐵工所
情報処理システム、情報処理方法、及び情報処理プログラム
2日前
株式会社栗本鐵工所
情報処理システム、情報処理方法、及び情報処理プログラム
3日前
株式会社栗本鐵工所
情報処理システム、情報処理方法、情報処理装置及びコンピュータプログラム
9日前
八千代エンジニヤリング株式会社
水切り装置、その設置方法、およびその設置方法に使用される位置決め治具とフック
5日前
個人
フラワーコートA
2か月前
個人
工程設計支援装置
1か月前
個人
QRコードの彩色
2日前
個人
地球保全システム
11日前
続きを見る
他の特許を見る