TOP
|
特許
|
意匠
|
商標
特許ウォッチ
Twitter
他の特許を見る
公開番号
2025152743
公報種別
公開特許公報(A)
公開日
2025-10-10
出願番号
2024054793
出願日
2024-03-28
発明の名称
接続構造および磁気粘性流体装置
出願人
株式会社栗本鐵工所
代理人
KEY弁理士法人
主分類
H01F
7/06 20060101AFI20251002BHJP(基本的電気素子)
要約
【課題】コネクタによって外部電源と接続することができ、さらに、組み立てが簡単な、コイルを外部電源と接続するための接続構造、および、接続構造を備える磁気粘性流体装置を提供する。
【解決手段】接続構造100Dは、コイル70を外部電源と接続するための接続構造であって、端子ピン66が設けられた鍔部61Dおよび胴部62を有するボビン60Dと、コイル70を形成するコイル線71Dと、端子ピン66が挿通される端子ピン挿通部115が設けられ鍔部61Dに固定された基板110Dと、基板110Dに設けられたコネクタとを備え、端子ピン66にコイル線71Dが電気的に接続され、端子ピン66と基板110Dの第1接続部113Dとが電気的に接続され、コネクタのコネクタ端子123が、基板110Dの第2接続部114と電気的に接続され、基板110Dによって第1接続部113Dと第2接続部114とは互いに導通している。
【選択図】図15
特許請求の範囲
【請求項1】
コイルを、外部電源と接続するための接続構造であって、
2つの端子ピンが外側の面に設けられた鍔部、および、胴部を有するボビンと、
前記胴部に巻設され前記コイルを形成するコイル線と、
前記端子ピンが挿通される端子ピン挿通部が設けられ、前記鍔部の外側の面に一方の面が固定された基板と、
前記基板に取り付けられたコネクタと、
を備え、
前記端子ピンに、前記コイル線が電気的に接続され、
前記基板の他方の面の前記端子ピン挿通部の近傍に第1接続部が設けられ、
前記端子ピンと前記第1接続部とが電気的に接続され、
前記コネクタのコネクタ端子が、前記基板に設けられた第2接続部と電気的に接続され、
前記基板によって前記第1接続部と前記第2接続部とは互いに導通している、
ことを特徴とする接続構造。
続きを表示(約 1,100 文字)
【請求項2】
請求項1に記載の接続構造であって、
前記端子ピンは非円形の断面形状を有する、
ことを特徴とする接続構造。
【請求項3】
請求項1または2に記載の接続構造であって、
前記端子ピンは前記鍔部にインサート成形によって一体化されている、
ことを特徴とする接続構造。
【請求項4】
請求項1または2に記載の接続構造であって、
前記端子ピンの周囲に、前記鍔部の外側の面から突出した突部が設けられており、
前記基板の前記端子ピン挿通部に、前記突部が嵌め込まれている、
ことを特徴とする接続構造。
【請求項5】
コイルを、外部電源と接続するための接続構造であって、
鍔部および胴部を有するボビンと、
前記胴部に巻設されて前記コイルを形成するコイル線と、
前記鍔部の外側の面に一方の面が固定された基板と、
前記基板に取り付けられたコネクタと、
を備え、
前記コイル線が、前記基板に設けられた第1接続部と電気的に接続され、
前記コネクタのコネクタ端子が、前記基板に設けられた第2接続部と電気的に接続され、
前記基板によって前記第1接続部と前記第2接続部とは互いに導通している、
ことを特徴とする接続構造。
【請求項6】
請求項5に記載の接続構造であって、
前記鍔部に前記コイル線が挿通される挿通部が設けられている、
ことを特徴とする接続構造。
【請求項7】
請求項5または6に記載の接続構造であって、
前記鍔部の外側の面および前記基板に、互いに嵌合する嵌合部がそれぞれ設けられている、
ことを特徴とする接続構造。
【請求項8】
請求項1または5に記載の接続構造であって、
前記コネクタは、前記基板の一方の面に取り付けられている、
ことを特徴とする接続構造。
【請求項9】
請求項1または5に記載の接続構造であって、
前記コネクタは、前記基板において前記第1接続部が設けられた面とは異なる面に設けられている、
ことを特徴とする接続構造。
【請求項10】
請求項1または5に記載の接続構造と、
前記コイルとともに電磁石を構成するヨークと、
部材の間に介在する磁気粘性流体と、
を備え、
前記電磁石は前記磁気粘性流体に磁場を付与し、前記磁気粘性流体に付与される磁場の強さに応じた力が前記部材の間において伝達されるように構成された、
ことを特徴とする磁気粘性流体装置。
(【請求項11】以降は省略されています)
発明の詳細な説明
【技術分野】
【0001】
本発明は、コイルを外部電源と接続するための接続構造、および、部材間に磁気粘性流体を介在させ、当該磁気粘性流体に付与する磁場の強さに応じた力が上記部材間で伝達されるように構成した、上記接続構造を備える磁気粘性流体装置に関する。
続きを表示(約 1,200 文字)
【背景技術】
【0002】
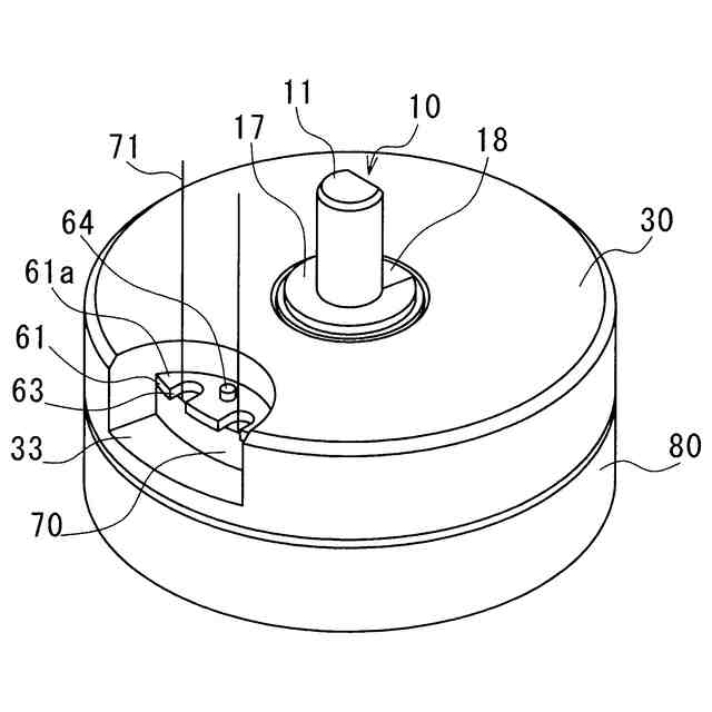
この種の接続構造および磁気粘性流体装置は、例えば特許文献1に開示されている。特許文献1に開示されている磁気粘性流体を用いた制動装置は、コイル等が収容されたハウジングに穴を設けて、コイルと接続したリード線を穴に挿通させて外部に引き出されている。
【先行技術文献】
【特許文献】
【0003】
特開2014-142016号公報
【発明の概要】
【発明が解決しようとする課題】
【0004】
従来の磁気粘性流体装置については、特許文献1のようにリード線を外部に引き出す構成の場合、リード線を電源と接続するために結線作業が必要であり、手間、コスト、品質のバラツキ、振動によって断線し易いといった問題があった。
【0005】
本発明は、かかる課題に鑑みて創案されたものであり、コネクタによって簡単に外部電源と接続することができ、さらに、組み立てが簡単な、接続構造、および、この接続構造を備える磁気粘性流体装置を提供することを目的とする。
【課題を解決するための手段】
【0006】
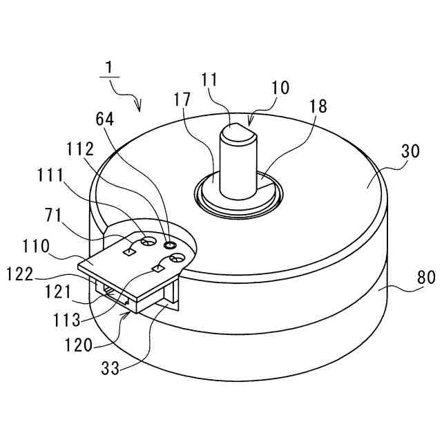
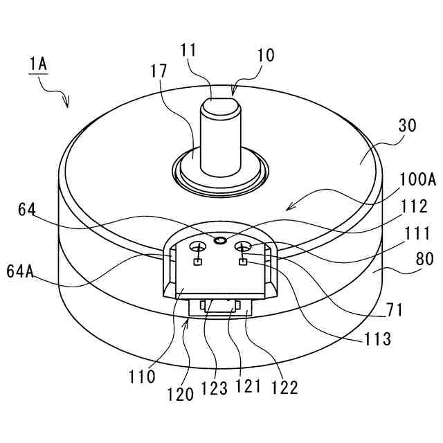
本発明の第1の態様に係る接続構造は、コイルを、外部電源と接続するための接続構造であって、2つの端子ピンが外側の面に設けられた鍔部、および、胴部を有するボビンと、前記胴部に巻設され前記コイルを形成するコイル線と、前記端子ピンが挿通される端子ピン挿通部が設けられ、前記鍔部の外側の面に一方の面が固定された基板と、前記基板に取り付けられたコネクタと、を備える。前記端子ピンに、前記コイル線が電気的に接続されている。前記基板の他方の面の前記端子ピン挿通部の近傍に第1接続部が設けられている。前記端子ピンと前記第1接続部とが電気的に接続されている。前記コネクタのコネクタ端子が、前記基板に設けられた第2接続部と電気的に接続されている。前記基板によって前記第1接続部と前記第2接続部とは互いに導通している。
【0007】
かかる構成を備える接続構造によれば、外部電源に接続された電源線の相手側のコネクタと接続構造のコネクタとを互いに嵌合するだけで、簡単にコイルを外部電源と接続することができる。
【0008】
本発明の第2の態様に係る接続構造は、第1の態様に係る接続構造において、前記端子ピンは非円形の断面形状を有する。
【0009】
本発明の第3の態様に係る接続構造は、第1の態様または第2の態様に係る接続構造において、前記端子ピンは前記ボビンの前記鍔部にインサート成形によって一体化されている。
【0010】
本発明の第4の態様に係る接続構造は、第1の態様または第2の態様に係る接続構造において、前記端子ピンの周囲に、前記鍔部の外側の面から突出した突部が設けられており、前記基板の前記端子ピン挿通部に、前記突部が嵌め込まれている。
(【0011】以降は省略されています)
この特許をJ-PlatPat(特許庁公式サイト)で参照する
関連特許
株式会社栗本鐵工所
外面防食鉄管
27日前
株式会社栗本鐵工所
触覚提示システム
28日前
株式会社栗本鐵工所
ローラスクリーン
23日前
株式会社栗本鐵工所
触覚提示システム
28日前
株式会社栗本鐵工所
触覚提示システム
28日前
株式会社栗本鐵工所
触覚提示システム
28日前
株式会社栗本鐵工所
ハウジング管の製造方法
28日前
株式会社栗本鐵工所
操作装置及び操作受付方法
27日前
株式会社栗本鐵工所
磁気粘性流体装置の生産方法
27日前
株式会社栗本鐵工所
外面防食鉄管およびその製造方法
27日前
株式会社栗本鐵工所
接続構造および磁気粘性流体装置
27日前
株式会社栗本鐵工所
破砕制御システムおよびプログラム
28日前
株式会社栗本鐵工所
処理装置及び処理装置内の充満率算定方法
13日前
株式会社栗本鐵工所
管の接続構造、接続用金属管、接続方法及び排水管
7日前
株式会社栗本鐵工所
情報処理装置、触覚提示方法及びコンピュータプログラム
28日前
株式会社栗本鐵工所
情報処理装置、触覚提示方法及びコンピュータプログラム
27日前
株式会社栗本鐵工所
情報処理システム、情報処理方法、及び情報処理プログラム
28日前
株式会社栗本鐵工所
情報処理システム、情報処理方法、及び情報処理プログラム
27日前
APB株式会社
蓄電セル
13日前
東ソー株式会社
絶縁電線
15日前
個人
フレキシブル電気化学素子
27日前
ローム株式会社
半導体装置
29日前
マクセル株式会社
電源装置
7日前
日新イオン機器株式会社
イオン源
23日前
株式会社東芝
端子台
7日前
株式会社ユーシン
操作装置
27日前
ローム株式会社
半導体装置
14日前
株式会社ホロン
冷陰極電子源
21日前
株式会社GSユアサ
蓄電装置
8日前
株式会社GSユアサ
蓄電装置
8日前
株式会社GSユアサ
蓄電設備
27日前
太陽誘電株式会社
コイル部品
27日前
株式会社GSユアサ
蓄電装置
今日
オムロン株式会社
電磁継電器
28日前
株式会社GSユアサ
蓄電設備
27日前
日新イオン機器株式会社
基板処理装置
10日前
続きを見る
他の特許を見る