TOP
|
特許
|
意匠
|
商標
特許ウォッチ
Twitter
他の特許を見る
公開番号
2025152359
公報種別
公開特許公報(A)
公開日
2025-10-09
出願番号
2024054211
出願日
2024-03-28
発明の名称
触覚提示システム
出願人
株式会社栗本鐵工所
代理人
個人
主分類
G06F
3/01 20060101AFI20251002BHJP(計算;計数)
要約
【課題】ユーザが操作に慣れるにつれて触覚を感じやすくなる触覚提示システムを提供する。
【解決手段】触覚提示システムは、ユーザの習熟度に応じて触覚を変更する変更部と、変更部により変更された触覚をユーザに提示する提示部と、を含む。
【選択図】図3
特許請求の範囲
【請求項1】
ユーザの習熟度に応じて触覚を変更する変更部と、
前記変更部により変更された触覚を前記ユーザに提示する提示部と、を含む、触覚提示システム。
続きを表示(約 670 文字)
【請求項2】
請求項1に記載の触覚提示システムであって、さらに、
前記習熟度を設定する設定部を含む、触覚提示システム。
【請求項3】
請求項2に記載の触覚提示システムであって、
前記習熟度は、前記ユーザが前記触覚提示システムにログインした回数を含む、触覚提示システム。
【請求項4】
請求項2に記載の触覚提示システムであって、
前記習熟度は、前記ユーザが前記触覚提示システムを利用した時間を含む、触覚提示システム。
【請求項5】
請求項1に記載の触覚提示システムであって、
前記提示部は、複数の触覚出力機器を含み、
前記変更部は、前記習熟度に応じて前記複数の触覚出力機器を選択的に活性化する、触覚提示システム。
【請求項6】
請求項5に記載の触覚提示システムであって、
前記変更部は、前記習熟度が高いほど前記活性化する触覚出力機器の数を多くする、触覚提示システム。
【請求項7】
コンピュータにより実行される触覚提示方法であって、
ユーザの習熟度に応じて触覚を変更するステップと、
前記変更部により変更された触覚を前記ユーザに提示するステップと、を含む、触覚提示方法。
【請求項8】
コンピュータに、
ユーザの習熟度に応じて触覚を変更するステップと、
前記変更部により変更された触覚を前記ユーザに提示するステップと、を実行させるための触覚提示プログラム。
発明の詳細な説明
【技術分野】
【0001】
本開示は、触覚提示システムに関する。
続きを表示(約 1,400 文字)
【背景技術】
【0002】
近年、仮想現実(VR; Virtual Reality)、拡張現実(AR; Augmented Reality)、複合現実(MR; Mixed Reality)等の技術を用いてメタバースと呼ばれる仮想空間を提供するサービスが始まっている。ユーザがヘッドマウントディスプレイを頭に装着すると、アバタとしてメタバースに入ることができる。メタバースでは、ユーザはヘッドマウントディスプレイで表示される3次元画像を見たり、スピーカで生成される音を聞いたりすることができる。ユーザはまた、両手に装着したコントローラを操作することにより、3次元画像として表示される仮想オブジェクトを動かすことができる。
【0003】
上記の技術は視覚と聴覚をユーザに与えるものであるが、これらに加え、触覚も与える技術もある。例えば、特開2017-138651号公報(特許文献1)は、映像に映し出された仮想オブジェクトの力覚を操作者に提示する力覚提示装置(触覚提示装置)を開示する。また、特開2021-28772号公報(特許文献2)は、操作者がつまむ動作、握る動作などを行うことができ、しかも、その動作を行う際に、操作者の指に所望の力覚を提示することができる力覚提示装置(触覚提示装置)を開示する。また、特許第6887526号公報(特許文献3)は、触覚フィードバックの現実感を向上できる情報処理装置を開示する。この装置は、触覚履歴に基づいて抵抗力を大きくしている。
【先行技術文献】
【特許文献】
【0004】
特開2017-138651号公報
特開2021-28772号公報
特許第6887526号公報
【発明の概要】
【発明が解決しようとする課題】
【0005】
触覚提示装置は触覚をユーザに提示できるが、ユーザは操作に慣れるまで触覚を感じにくい。
【0006】
本開示の課題は、ユーザが操作に慣れるにつれて触覚を感じやすくなる触覚提示システムを提供することである。
【課題を解決するための手段】
【0007】
本開示による触覚提示システムは、ユーザの習熟度に応じて触覚を変更する変更部と、前記変更部により変更された触覚を前記ユーザに提示する提示部と、を含む。
【図面の簡単な説明】
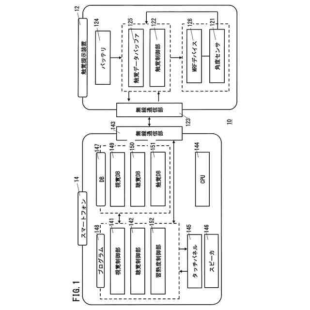
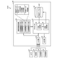
【0008】
図1は、実施形態による触覚提示システムの概略構成を示す機能ブロック図である。
図2は、図1に示した触覚提示システムに使用される触覚データを示すテーブルである。
図3は、図1に示した触覚提示システムの動作を示すフロー図である。
図3は、図1に示した触覚提示システムに使用される習熟度を示すテーブルである。
図4は、図1に示した触覚提示システムに使用される5本の指用の触覚出力機器のオン/オフを示すテーブルである。
【発明を実施するための形態】
【0009】
<実施形態の概要>
本実施形態による触覚提示システムは、ユーザの習熟度に応じて触覚を変更する変更部と、変更部により変更された触覚をユーザに提示する提示部と、を含む。
【0010】
触覚提示システムはさらに、習熟度を設定する設定部を含んでいてもよい。
(【0011】以降は省略されています)
この特許をJ-PlatPat(特許庁公式サイト)で参照する
関連特許
株式会社栗本鐵工所
外面防食鉄管
今日
株式会社栗本鐵工所
触覚提示装置
2日前
株式会社栗本鐵工所
オリフィス弁
2日前
株式会社栗本鐵工所
触覚提示システム
3日前
株式会社栗本鐵工所
磁気粘性流体装置
2日前
株式会社栗本鐵工所
触覚提示システム
2日前
株式会社栗本鐵工所
触覚提示システム
1日前
株式会社栗本鐵工所
触覚提示システム
1日前
株式会社栗本鐵工所
触覚提示システム
1日前
株式会社栗本鐵工所
触覚提示システム
1日前
株式会社栗本鐵工所
ハウジング管の製造方法
1日前
株式会社栗本鐵工所
操作装置及び操作受付方法
今日
株式会社栗本鐵工所
磁気粘性流体装置の生産方法
今日
株式会社栗本鐵工所
接続構造および磁気粘性流体装置
今日
株式会社栗本鐵工所
外面防食鉄管およびその製造方法
今日
株式会社栗本鐵工所
破砕制御システムおよびプログラム
1日前
株式会社栗本鐵工所
触覚提示可能な入力装置の制御方法
3日前
株式会社栗本鐵工所
溶湯量予測システムおよびプログラム
3日前
株式会社栗本鐵工所
トラフ乾燥方法、及び、トラフ乾燥装置
2日前
株式会社栗本鐵工所
破砕制御システム、摩耗量予測装置およびプログラム
2日前
株式会社栗本鐵工所
情報処理装置、触覚提示方法及びコンピュータプログラム
1日前
株式会社栗本鐵工所
情報処理装置、触覚提示方法及びコンピュータプログラム
今日
株式会社栗本鐵工所
遠隔検査装置、遠隔検査方法及びコンピュータプログラム
7日前
株式会社栗本鐵工所
情報処理システム、情報処理方法、及び情報処理プログラム
1日前
株式会社栗本鐵工所
情報処理システム、情報処理方法、及び情報処理プログラム
今日
株式会社栗本鐵工所
情報処理システム、情報処理方法、情報処理装置及びコンピュータプログラム
7日前
八千代エンジニヤリング株式会社
水切り装置、その設置方法、およびその設置方法に使用される位置決め治具とフック
3日前
個人
工程設計支援装置
1か月前
個人
地球保全システム
9日前
個人
QRコードの彩色
今日
個人
フラワーコートA
2か月前
個人
冷凍食品輸出支援構造
1か月前
個人
介護情報提供システム
2か月前
個人
為替ポイント伊達夢貯
1か月前
個人
表変換編集支援システム
29日前
個人
携帯情報端末装置
1か月前
続きを見る
他の特許を見る