TOP
|
特許
|
意匠
|
商標
特許ウォッチ
Twitter
他の特許を見る
公開番号
2025152431
公報種別
公開特許公報(A)
公開日
2025-10-09
出願番号
2024054325
出願日
2024-03-28
発明の名称
触覚提示システム
出願人
株式会社栗本鐵工所
代理人
個人
主分類
G06F
3/01 20060101AFI20251002BHJP(計算;計数)
要約
【課題】複数の操作具に連動した触覚を提示することができる触覚提示システムを提供する。
【解決手段】触覚提示システムは、ユーザに操作に応じて動く複数の操作具と、前記操作具を通じて触覚を前記ユーザに提示する提示部と、前記複数の操作具に対する合計操作量に応じて前記触覚を変更する変更部と、を含む。
【選択図】図1
特許請求の範囲
【請求項1】
ユーザの操作に応じて動く複数の操作具と、
前記操作具を通じて触覚を前記ユーザに提示する提示部と、
前記複数の操作具に対する合計操作量に応じて前記触覚を変更する変更部と、を含む、触覚提示システム。
続きを表示(約 490 文字)
【請求項2】
請求項1に記載の触覚提示システムであって、
前記変更部は、前記合計操作量が予め定められた値を超えたとき前記触覚を大きくする、触覚提示システム。
【請求項3】
請求項1に記載の触覚提示システムであって、
前記変更部は、各操作具に対する操作量に応じて各操作具を通じて提供される触覚を変更する、触覚提示システム。
【請求項4】
ユーザの操作に応じて動く複数の操作具における触覚を制御する触覚提示方法であって、
前記操作具を通じて触覚を前記ユーザに提示するステップと、
前記複数の操作具に対する合計操作量に応じて前記触覚を変更するステップと、を含む、触覚提示方法。
【請求項5】
ユーザの操作に応じて動く複数の操作具における触覚を制御する触覚提示プログラムであって、
コンピュータに、
前記操作具を通じて触覚を前記ユーザに提示するステップと、
前記複数の操作具に対する合計操作量に応じて前記触覚を変更するステップと、を実行させるための触覚提示プログラム。
発明の詳細な説明
【技術分野】
【0001】
本開示は、触覚提示システムに関する。
続きを表示(約 1,400 文字)
【背景技術】
【0002】
近年、仮想現実(VR; Virtual Reality)、拡張現実(AR; Augmented Reality)、複合現実(MR; Mixed Reality)等の技術を用いてメタバースと呼ばれる仮想空間を提供するサービスが始まっている。ユーザがヘッドマウントディスプレイを頭に装着すると、アバタとしてメタバースに入ることができる。メタバースでは、ユーザはヘッドマウントディスプレイで表示される3次元画像を見たり、スピーカで生成される音を聞いたりすることができる。ユーザはまた、両手に装着したコントローラを操作することにより、3次元画像として表示される仮想オブジェクトを動かすことができる。
【0003】
上記の技術は視覚と聴覚をユーザに与えるものであるが、これらに加え、触覚も与える技術もある。例えば、特開2017-138651号公報(特許文献1)は、映像に映し出された仮想オブジェクトの力覚を操作者に提示する力覚提示装置(触覚提示装置)を開示する。また、特開2019-75096号公報(特許文献2)は、2つのハプティック可能装置間の距離に応じて抵抗力を変える技術を開示する。
【先行技術文献】
【特許文献】
【0004】
特開2017-138651号公報
特開2019-75096号公報
【発明の概要】
【発明が解決しようとする課題】
【0005】
本開示の課題は、複数の操作具に連動した触覚を提示することができる触覚提示システムを提供することである。
【課題を解決するための手段】
【0006】
本開示による触覚提示システムは、ユーザに操作に応じて動く複数の操作具と、前記操作具を通じて触覚を前記ユーザに提示する提示部と、前記複数の操作具に対する合計操作量に応じて前記触覚を変更する変更部と、を含む。
【図面の簡単な説明】
【0007】
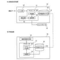
図1は、第1及び第2実施形態による触覚提示システムの概略構成を示す機能ブロック図である。
図2は、第1実施形態による触覚提示システムに使用される標準触覚データを示すテーブルである。
図3は、第1実施形態による触覚提示システムに使用される重い触覚データを示すテーブルである。
図4は、第1実施形態による触覚提示システムの動作を示すフロー図である。
図5は、第2実施形態による触覚提示システムに使用される触覚データを示すテーブルである。
図6は、第2実施形態による触覚提示システムの動作を示すフロー図である。
【発明を実施するための形態】
【0008】
<実施形態の概要>
本実施形態による触覚提示システムは、ユーザの操作に応じて動く複数の操作具と、操作具を通じて触覚をユーザに提示する提示部と、複数の操作具に対する合計操作量に応じて触覚を変更する変更部と、を含む。
【0009】
変更部は、合計操作量が予め定められた値を超えたとき触覚を大きくしてもよい。
【0010】
変更部は、各操作具に対する操作量に応じて各操作具を通じて提供される触覚を変更してもよい。
(【0011】以降は省略されています)
この特許をJ-PlatPat(特許庁公式サイト)で参照する
関連特許
株式会社栗本鐵工所
触覚提示装置
26日前
株式会社栗本鐵工所
オリフィス弁
26日前
株式会社栗本鐵工所
外面防食鉄管
24日前
株式会社栗本鐵工所
触覚提示システム
25日前
株式会社栗本鐵工所
触覚提示システム
25日前
株式会社栗本鐵工所
触覚提示システム
25日前
株式会社栗本鐵工所
触覚提示システム
27日前
株式会社栗本鐵工所
触覚提示システム
25日前
株式会社栗本鐵工所
磁気粘性流体装置
26日前
株式会社栗本鐵工所
ローラスクリーン
20日前
株式会社栗本鐵工所
触覚提示システム
26日前
株式会社栗本鐵工所
ハウジング管の製造方法
25日前
株式会社栗本鐵工所
操作装置及び操作受付方法
24日前
株式会社栗本鐵工所
磁気粘性流体装置の生産方法
24日前
株式会社栗本鐵工所
接続構造および磁気粘性流体装置
24日前
株式会社栗本鐵工所
外面防食鉄管およびその製造方法
24日前
株式会社栗本鐵工所
触覚提示可能な入力装置の制御方法
27日前
株式会社栗本鐵工所
破砕制御システムおよびプログラム
25日前
株式会社栗本鐵工所
溶湯量予測システムおよびプログラム
27日前
株式会社栗本鐵工所
トラフ乾燥方法、及び、トラフ乾燥装置
26日前
株式会社栗本鐵工所
処理装置及び処理装置内の充満率算定方法
10日前
株式会社栗本鐵工所
管の接続構造、接続用金属管、接続方法及び排水管
4日前
株式会社栗本鐵工所
破砕制御システム、摩耗量予測装置およびプログラム
26日前
株式会社栗本鐵工所
遠隔検査装置、遠隔検査方法及びコンピュータプログラム
1か月前
株式会社栗本鐵工所
情報処理装置、触覚提示方法及びコンピュータプログラム
25日前
株式会社栗本鐵工所
情報処理装置、触覚提示方法及びコンピュータプログラム
24日前
株式会社栗本鐵工所
情報処理システム、情報処理方法、及び情報処理プログラム
25日前
株式会社栗本鐵工所
情報処理システム、情報処理方法、及び情報処理プログラム
24日前
株式会社栗本鐵工所
情報処理システム、情報処理方法、情報処理装置及びコンピュータプログラム
1か月前
八千代エンジニヤリング株式会社
水切り装置、その設置方法、およびその設置方法に使用される位置決め治具とフック
27日前
個人
詐欺保険
20日前
個人
縁伊達ポイン
20日前
個人
RFタグシート
7日前
個人
地球保全システム
1か月前
個人
ペルソナ認証方式
4日前
個人
QRコードの彩色
24日前
続きを見る
他の特許を見る