TOP
|
特許
|
意匠
|
商標
特許ウォッチ
Twitter
他の特許を見る
公開番号
2025147757
公報種別
公開特許公報(A)
公開日
2025-10-07
出願番号
2024048163
出願日
2024-03-25
発明の名称
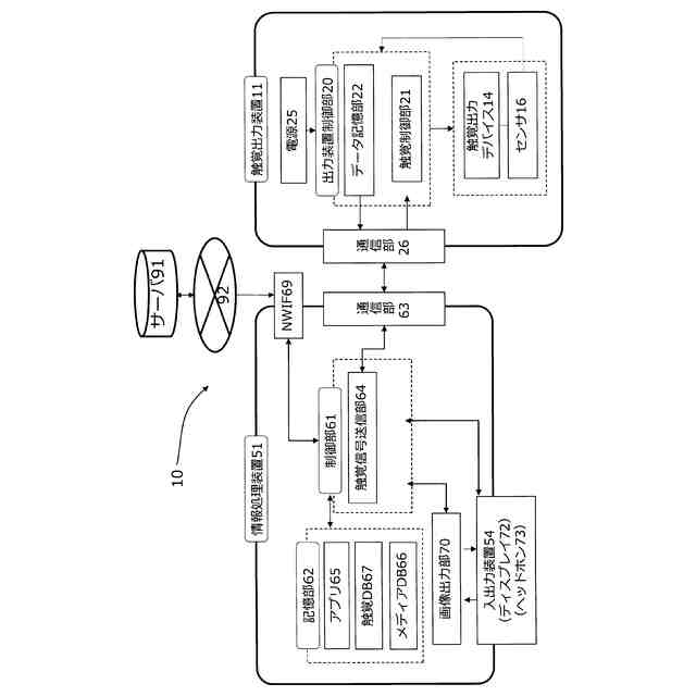
触覚提示システム
出願人
株式会社栗本鐵工所
代理人
個人
,
個人
,
個人
,
個人
主分類
G06F
3/01 20060101AFI20250930BHJP(計算;計数)
要約
【課題】触覚として時間経過を体感することができるようにし、装置によって提供される仮想オブジェクトについての触覚を、さらに深く充実させる。
【解決手段】表示部に表示出力可能である所定のオブジェクトについて、時間情報を取得し、オブジェクトについて、時間情報に応じて変化する触覚情報を取得し、取得した前記の変化する触覚情報を前記触覚出力装置に出力する。
【選択図】図2
特許請求の範囲
【請求項1】
触覚情報に基く触覚をユーザに付与する触覚出力装置と接続された情報処理装置であって、
表示部と、
少なくとも1つの制御部と、を備え、
前記制御部は、
所定のオブジェクトを前記表示部に表示させ、
前記オブジェクトに対応付けられた時間情報を取得し、
前記オブジェクトに対応付けられた前記触覚情報であって、前記時間情報に応じて変化する前記触覚情報を取得し、
前記触覚情報を前記触覚出力装置に出力し、
前記時間情報は、時間経過とともに更新される情報である
情報処理装置。
続きを表示(約 980 文字)
【請求項2】
前記オブジェクトは少なくとも2種類以上が利用可能であり、
前記オブジェクトの種類に応じて、前記触覚情報の変化が異なる、請求項1に記載の情報処理装置。
【請求項3】
前記制御部は、
前記時間情報に応じて変化する前記触覚情報を取得するにあたり、
前記オブジェクトを設置する空間に設定された環境情報に基いて、前記変化の内容を決定する
請求項1に記載の情報処理装置。
【請求項4】
前記オブジェクトに対応づけられた前記時間情報及び前記触覚情報を
装置が内蔵する記憶部から、又は外部のサーバから取得する
請求項1に記載の情報処理装置。
【請求項5】
触覚情報に基く触覚をユーザに付与する触覚出力装置と、
所定のオブジェクトを表示させる表示装置と、
少なくとも1つの制御部と、を有するシステムであって、
前記制御部は、
所定のオブジェクトを前記表示装置に表示させ、
前記オブジェクトに対応付けられた時間情報を取得し、
前記オブジェクトに対応付けられた前記触覚情報であって、前記時間情報に応じて変化する前記触覚情報を取得し、
前記触覚情報を前記触覚出力装置に出力し、
前記時間情報は、時間経過とともに更新される情報である
触覚提示システム。
【請求項6】
表示部に出力して表示されるオブジェクトのうちの一部について、触覚出力装置によって前記オブジェクトに対応づけられた触覚情報に基づく触覚をユーザに付与する方法であって、
所定のオブジェクトを前記表示装置に表示させるステップ、
前記オブジェクトに対応付けられた、時間経過とともに更新される時間情報を取得するステップ、
前記オブジェクトに対応付けられた前記触覚情報であって、前記時間情報に応じて変化する前記触覚情報を取得するステップ、
前記触覚情報を前記触覚出力装置に出力するステップ、
を実行する触覚提示方法。
【請求項7】
前記表示部を有し、前記触覚出力装置と接続されるコンピュータを、
請求項1に記載の情報処理装置として動作させるためのプログラム。
発明の詳細な説明
【技術分野】
【0001】
この発明は、仮想空間上のオブジェクトの触覚を利用者に提示するシステムに関する。
続きを表示(約 1,700 文字)
【背景技術】
【0002】
コンテンツと連動して利用者に触感による効果を味わわせる触覚提示装置が様々な形で提案されている。触感としては例えば振動や圧迫、風、湿気、熱などの、利用者が止まっていても実感できる能動的な触覚効果を映画などの映像コンテンツに合わせて提供することが既に行われている。また、人の動作を受けるインターフェースデバイスでは、固さや柔らかさといった手にして握ったときにかかる抵抗などの、利用者の動作に対して実感される受動的な触覚効果を与えることが検討されている。
【0003】
一方で、仮想空間においてユーザ同士がアバターを操作して交流するVR(Virtual Reality)システムが普及しつつある。現時点においてVRで再現する仮想空間の感覚は視覚と聴覚が中心である。さらに現実味を向上させるために、触覚提示装置と連動してオブジェクトなどと接触した感触をユーザに体験させることが検討されている。
【0004】
特許文献1には、ヘッドマウントディスプレイを用い、ディスプレイ内に表示した仮想オブジェクトの触覚をユーザに提示する触覚提示装置が提案されている。ユーザが視線で仮想オブジェクトを選択した際、そのオブジェクトに対応した触覚を端末機器に出力し、ユーザが仮想オブジェクトの触感として触覚での体験をする。
【先行技術文献】
【特許文献】
【0005】
特開2020-017159号公報
【発明の概要】
【発明が解決しようとする課題】
【0006】
しかしながら、特許文献1では個々のオブジェクトごとに異なる触覚を提供することができても、一度定義された触覚が永続的にそのままであり続けるもので、時間軸的な要素を体感できるものではなかった。
【0007】
そこでこの発明は、触覚として時間経過を体感することができるようにし、装置によって提供される仮想オブジェクトについての触覚を、さらに深く充実させることを目的とする。
【課題を解決するための手段】
【0008】
この発明の1つの態様は触覚情報に基く触覚をユーザに付与する触覚出力装置と接続された情報処理装置であって、表示部と、少なくとも1つの制御部と、を備え、
前記制御部は、所定のオブジェクトを前記表示部に表示させ、
前記オブジェクトに対応付けられた時間情報を取得し、
前記オブジェクトに対応付けられた前記触覚情報であって、前記時間情報に応じて変化する前記触覚情報を取得し、
前記触覚情報を前記触覚出力装置に出力し、
前記時間情報は、時間経過とともに更新される情報である
情報処理装置である。
【0009】
この発明の1つの態様は、
触覚情報に基く触覚をユーザに付与する触覚出力装置と、所定のオブジェクトを表示させる表示装置と、少なくとも1つの制御部を備えた情報処理装置と、を有するシステムであって、
前記制御部は、所定のオブジェクトを前記表示装置に表示させ、前記オブジェクトに対応付けられた時間情報を取得し、前記オブジェクトに対応付けられた前記触覚情報であって、前記時間情報に応じて変化する前記触覚情報を取得し、前記触覚情報を前記触覚出力装置に出力し、前記時間情報は、時間経過とともに更新される情報である触覚提示システムである。
【0010】
この発明の1つの態様は、画像出力装置に出力して表示されるオブジェクトのうちの一部について、触覚出力装置によってオブジェクトに対応づけられた触覚情報に基づく触覚をユーザに付与する方法であって、所定のオブジェクトを表示装置に表示させるステップ、オブジェクトに対応付けられた、時間経過とともに更新される時間情報を取得するステップ、オブジェクトに対応付けられた触覚情報であって、時間情報に応じて変化する触覚情報を取得するステップ、触覚情報を触覚出力装置に出力するステップ、を実行する触覚提示方法である。
【発明の効果】
(【0011】以降は省略されています)
この特許をJ-PlatPat(特許庁公式サイト)で参照する
関連特許
株式会社栗本鐵工所
触覚提示装置
1か月前
株式会社栗本鐵工所
オリフィス弁
1か月前
株式会社栗本鐵工所
外面防食鉄管
28日前
株式会社栗本鐵工所
触覚提示システム
29日前
株式会社栗本鐵工所
触覚提示システム
29日前
株式会社栗本鐵工所
触覚提示システム
29日前
株式会社栗本鐵工所
触覚提示システム
1か月前
株式会社栗本鐵工所
触覚提示システム
29日前
株式会社栗本鐵工所
磁気粘性流体装置
1か月前
株式会社栗本鐵工所
ローラスクリーン
24日前
株式会社栗本鐵工所
触覚提示システム
1か月前
株式会社栗本鐵工所
ハウジング管の製造方法
29日前
株式会社栗本鐵工所
操作装置及び操作受付方法
28日前
株式会社栗本鐵工所
磁気粘性流体装置の生産方法
28日前
株式会社栗本鐵工所
接続構造および磁気粘性流体装置
28日前
株式会社栗本鐵工所
外面防食鉄管およびその製造方法
28日前
株式会社栗本鐵工所
触覚提示可能な入力装置の制御方法
1か月前
株式会社栗本鐵工所
破砕制御システムおよびプログラム
29日前
株式会社栗本鐵工所
溶湯量予測システムおよびプログラム
1か月前
株式会社栗本鐵工所
トラフ乾燥方法、及び、トラフ乾燥装置
1か月前
株式会社栗本鐵工所
処理装置及び処理装置内の充満率算定方法
14日前
株式会社栗本鐵工所
管の接続構造、接続用金属管、接続方法及び排水管
8日前
株式会社栗本鐵工所
破砕制御システム、摩耗量予測装置およびプログラム
1か月前
株式会社栗本鐵工所
遠隔検査装置、遠隔検査方法及びコンピュータプログラム
1か月前
株式会社栗本鐵工所
情報処理装置、触覚提示方法及びコンピュータプログラム
29日前
株式会社栗本鐵工所
情報処理装置、触覚提示方法及びコンピュータプログラム
28日前
株式会社栗本鐵工所
情報処理システム、情報処理方法、及び情報処理プログラム
29日前
株式会社栗本鐵工所
情報処理システム、情報処理方法、及び情報処理プログラム
28日前
株式会社栗本鐵工所
情報処理システム、情報処理方法、情報処理装置及びコンピュータプログラム
1か月前
八千代エンジニヤリング株式会社
水切り装置、その設置方法、およびその設置方法に使用される位置決め治具とフック
1か月前
個人
詐欺保険
24日前
個人
縁伊達ポイン
24日前
個人
RFタグシート
11日前
個人
5掛けポイント
今日
個人
QRコードの彩色
28日前
個人
地球保全システム
1か月前
続きを見る
他の特許を見る