TOP
|
特許
|
意匠
|
商標
特許ウォッチ
Twitter
他の特許を見る
公開番号
2025149216
公報種別
公開特許公報(A)
公開日
2025-10-08
出願番号
2024049719
出願日
2024-03-26
発明の名称
触覚提示装置
出願人
株式会社栗本鐵工所
代理人
個人
,
個人
,
個人
,
個人
主分類
G06F
3/01 20060101AFI20251001BHJP(計算;計数)
要約
【課題】特定のコンテンツを触覚提示装置で利用しようとする際に、利用環境に関わらず、コンテンツ作成側が想定した触覚を提供できるようにする。
【解決手段】
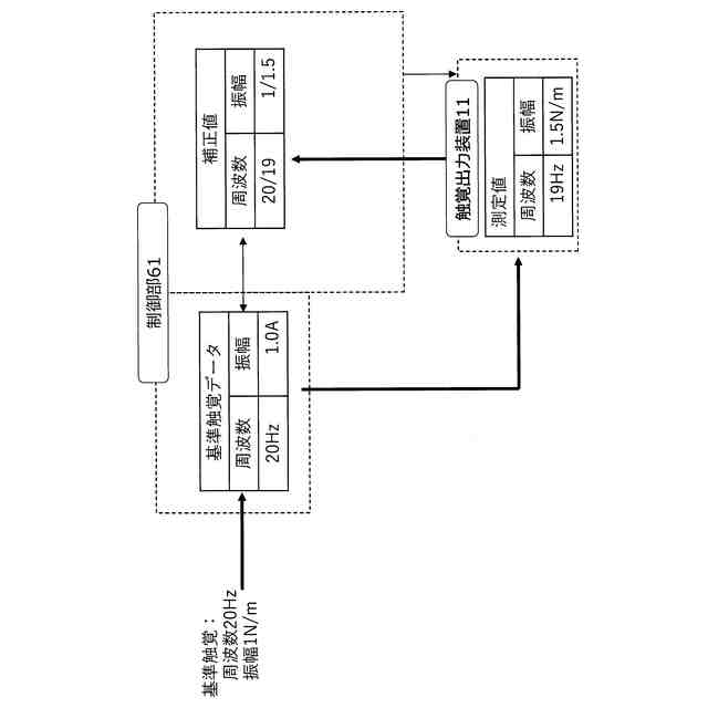
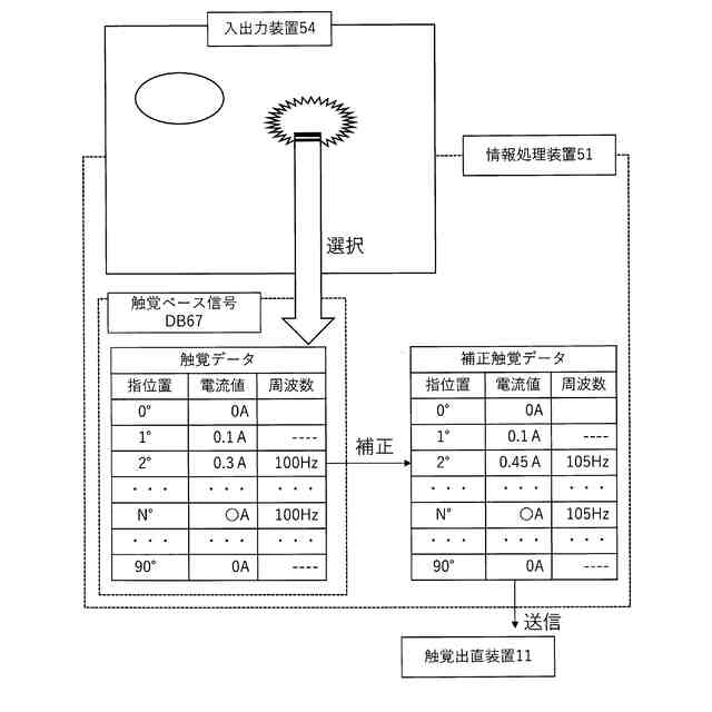
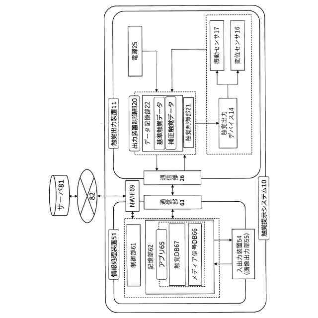
触覚出力デバイス14とそれに対するユーザの操作部の動きを測定する振動センサ17とを有する触覚出力装置11を有し、触覚出力装置11へ、基準触覚に対応し、触覚を増減する波形データを含む基準触覚データを送信する初期送信手段と、基準触覚データを提示させたときに発現する変化する実触覚を振動センサ17により測定する測定手段と、基準触覚と測定された実触覚を比較する比較手段と、比較手段の結果に基づき、触覚データに含まれる波形データを補正した補正波形データを取得する補正手段と、触覚出力装置11へ、補正波形データを送信する補正後送信手段と、を実行するようにする。
【選択図】図1
特許請求の範囲
【請求項1】
触覚出力デバイスと、前記触覚出力デバイスに対するユーザの操作部の動きを測定するセンサとを有する触覚出力装置と、
前記触覚出力装置を含む構成要素を制御する制御部と、
を有し、
前記触覚出力装置へ、基準触覚に対応し、触覚を増減する波形データを含む基準触覚データを送信する初期送信手段と、
前記基準触覚データを提示させたときに発現する変化する実触覚を前記センサにより測定する測定手段と、
前記基準触覚と測定された前記実触覚を比較する比較手段と、
前記比較手段の結果に基づき、触覚データに含まれる波形データを補正した補正波形データを取得する補正手段と、
前記触覚出力装置へ、前記補正波形データを送信する補正後送信手段と、
を実行する触覚提示システム。
続きを表示(約 860 文字)
【請求項2】
前記制御部は、
前記測定手段及び比較手段を実行するにあたり、前記操作部への操作をユーザに促す指示手段、を実行する請求項1に記載の触覚提示システム。
【請求項3】
前記測定手段の実行は、ユーザによる前記操作部の動きが所定の閾値以上であることを条件とする、請求項1に記載の触覚提示システム。
【請求項4】
前記触覚出力装置と、前記制御部と、を有するコンピュータを、
請求項1から3のいずれかに記載の触覚提示システムとして実行させるためのプログラム。
【請求項5】
前記触覚出力装置へ、基準触覚に対応し、触覚を増減する波形データを含む基準触覚データを送信する初期送信手段と、
前記基準触覚データを提示させたときに発現する変化する実触覚を前記センサにより測定させる測定手段と、
前記基準触覚と測定された前記実触覚を比較する比較手段と、
前記比較手段の結果に基づき、触覚データに含まれる波形データを補正した補正波形データを取得する補正手段と、
前記触覚出力装置へ、前記補正波形データを送信する補正後送信手段と、
を実行する触覚提示装置。
【請求項6】
触覚出力デバイスを有する触覚出力装置を使った触覚提示方法であって、
前記触覚出力装置へ、基準触覚に対応し、周期的に触覚を増減する波形データを含む基準触覚データを送信するステップ、
前記基準触覚データを提示させたときに発現する周期的に変化する実触覚を前記センサにより測定するステップ、
前記基準触覚と測定された前記実触覚を比較するステップ、
前記比較の結果に基づき、触覚データに含まれる波形データを補正した補正波形データを取得するステップ、
前記触覚出力装置へ、前記補正波形データを送信するステップ、
前記触覚出力装置によりユーザに触感を提示するステップ、
を行う触覚提示方法。
発明の詳細な説明
【技術分野】
【0001】
この発明は、触覚提示装置を状況に応じて適切に調整する制御に関する。
続きを表示(約 1,800 文字)
【背景技術】
【0002】
コンテンツと連動して利用者に触感による効果を味わわせる触覚提示装置が様々な形で提案されている。触感としては例えば振動や圧迫、風、湿気、熱などの、利用者が止まっていても実感できる能動的な触覚効果を映画などの映像コンテンツに合わせて提供することが既に行われている。また、人の動作を受けるインターフェースデバイスでは、固さや柔らかさといった手にして握ったときにかかる抵抗などの、利用者の動作に対して実感される受動的な触覚効果を与えることが検討されている。
【0003】
これらの触覚提示装置においては、オンオフのタイミングだけでなく、その強弱の調整が重要である。コンテンツに適した強弱になっていなければ、違和感のある体験しか得られない。さらに、同じ規格の触覚提示装置であっても微妙ながら個体差はあり、その個体差を無視して同じ電気信号を送っても、わずかな違いを人間の鋭敏な触覚が感じ取ってしまい、違和感の原因となるおそれがあった。これに対して、センサからのフィードバックを利用して強弱を調整するシステムが特許文献1にて提案されている。
【0004】
また、特許文献2では、利用者の個人的な身体部位の大小に由来する感触の違いを補正するため、利用者が接触して押し込む操作を行い、抵抗を感じる装置について、力センサを搭載し、利用者の接触位置に関わる接触位置パラメータを利用して、装置で提示する出力を補正する技術が提案されている。
【先行技術文献】
【特許文献】
【0005】
特開2016-29563号公報
特開2023-148261号公報
【発明の概要】
【発明が解決しようとする課題】
【0006】
しかしながら、操作への抵抗を体感させる装置としては、特許文献2のような直接に操作に対する抵抗そのものを体感させる場合だけでなく、時間経過とともに抵抗を増減させて、ユーザに実際には振動していないのに振動しているかのような「疑似的な振動」を感じさせたり、「弱い反力を感じる柔らかいもの」のような感触を与える場合もある。このような触感の提供では、振動の周期や出力の調整が体感上重要であるが、実際の触覚を提供する際には、触覚出力装置の構造や形状、大きさ、スマートフォンやパソコンなどの制御装置と触覚出力装置との接続環境、制御装置側でのアプリの実行環境などの、さまざまな要因によって、アプリの制作者や触覚出力装置の設計者が意図した通りの体感を与えられないことがある。
【0007】
そこでこの発明は、触覚出力装置の実行環境や接続環境などによる変動があっても、ユーザに意図した通りの触覚を提供させられるようにすることを目的とする。
【課題を解決するための手段】
【0008】
この発明は、
触覚出力デバイスと、前記触覚出力デバイスに対するユーザの操作部の動きを測定するセンサとを有する触覚出力装置と、
前記触覚出力装置を含む構成要素を制御する制御部と、
を有し、
前記触覚出力装置へ、基準触覚に対応し、触覚を増減する波形データを含む基準触覚データを送信する初期送信手段と、
前記基準触覚データを提示させたときに発現する変化する実触覚を前記センサにより測定する測定手段と、
前記基準触覚と測定された前記実触覚を比較する比較手段と、
前記比較手段の結果に基づき、触覚データに含まれる波形データを補正した補正波形データを取得する補正手段と、
前記触覚出力装置へ、前記補正波形データを送信する補正後送信手段と、
を実行する触覚提示システムとする第一の解決手段により、上記の課題を解決した。
【0009】
また、第一の解決手段に加えて、
前記制御部は、
前記測定手段及び比較手段を実行するにあたり、前記操作部への操作をユーザに促す指示手段、を実行する
第二の解決手段を採用できる。
【0010】
さらに、第一又は第二の解決手段に加えて、
前記測定手段の実行にあたり、ユーザによる前記操作部の動きが所定の閾値以上であることを条件とする、
第三の解決手段を採用できる。
(【0011】以降は省略されています)
この特許をJ-PlatPat(特許庁公式サイト)で参照する
関連特許
個人
詐欺保険
今日
個人
縁伊達ポイン
今日
個人
地球保全システム
13日前
個人
QRコードの彩色
4日前
個人
冷凍食品輸出支援構造
1か月前
個人
為替ポイント伊達夢貯
1か月前
個人
表変換編集支援システム
1か月前
個人
残土処理システム
6日前
個人
知的財産出願支援システム
7日前
個人
知財出願支援AIシステム
1か月前
個人
AIによる情報の売買の仲介
1か月前
個人
パスワード管理支援システム
1か月前
個人
行動時間管理システム
1か月前
個人
AIキャラクター制御システム
1か月前
株式会社キーエンス
受発注システム
12日前
株式会社キーエンス
受発注システム
12日前
日本精機株式会社
施工管理システム
1か月前
個人
食品レシピ生成システム
12日前
個人
システム及びプログラム
26日前
株式会社キーエンス
受発注システム
12日前
個人
海外支援型農作物活用システム
25日前
株式会社アジラ
進入判定装置
1か月前
個人
パスポートレス入出国システム
1か月前
キヤノン株式会社
表示システム
12日前
個人
音声・通知・再配達UX制御構造
7日前
サクサ株式会社
中継装置
1か月前
個人
社会還元・施設向け供給支援構造
1か月前
個人
人格進化型対話応答制御システム
1か月前
個人
SaaS型勤務調整支援システム
1か月前
個人
音声対話型帳票生成支援システム
1か月前
個人
帳票自動生成型SaaSシステム
7日前
個人
冷凍加工連携型農場運用システム
1か月前
個人
未来型家系図構築システム
25日前
大同特殊鋼株式会社
疵判定方法
19日前
フリー株式会社
情報処理システム
19日前
中部電力株式会社
学習装置
25日前
続きを見る
他の特許を見る