TOP
|
特許
|
意匠
|
商標
特許ウォッチ
Twitter
他の特許を見る
公開番号
2025149340
公報種別
公開特許公報(A)
公開日
2025-10-08
出願番号
2024049924
出願日
2024-03-26
発明の名称
オリフィス弁
出願人
株式会社栗本鐵工所
代理人
弁理士法人朝日奈特許事務所
主分類
F16K
3/24 20060101AFI20251001BHJP(機械要素または単位;機械または装置の効果的機能を生じ維持するための一般的手段)
要約
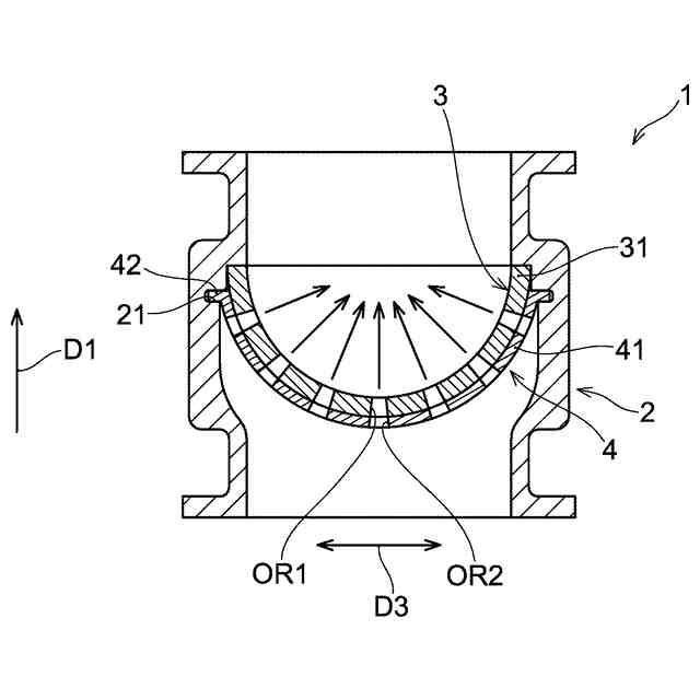
【課題】本発明は、簡単な構造で流量を増やすことが可能なオリフィス弁の提供を目的とする。
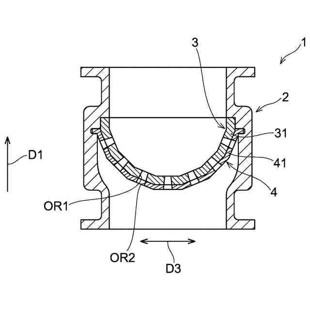
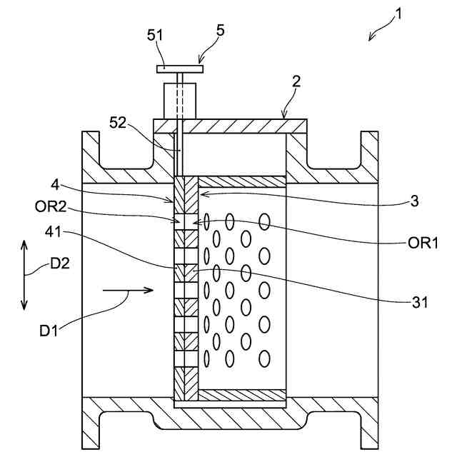
【解決手段】オリフィス弁1は、流体が流れる管路に設けられる弁箱2と、複数のオリフィスOR1を備え、弁箱2に固定された固定プレート3と、複数のオリフィスOR2を備え、固定プレート3に対して相対移動可能に、弁箱2に設けられた可動プレート4とを備え、固定プレート3および可動プレート4の表面は、管路における流体の流れ方向D1または流体の流れ方向とは反対方向に突出する1または複数の凸部を備えている。
【選択図】図3
特許請求の範囲
【請求項1】
流体が流れる管路に設けられる弁箱と、
複数のオリフィスを備え、前記弁箱に固定された固定プレートと、
複数のオリフィスを備え、前記固定プレートに対して相対移動可能に、前記弁箱に設けられた可動プレートと
を備え、
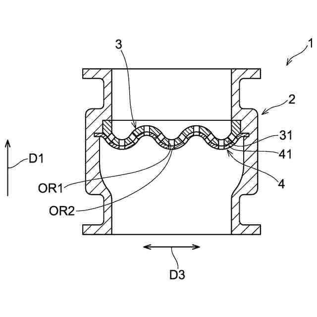
前記固定プレートおよび前記可動プレートの表面は、前記管路における前記流体の流れ方向または前記流体の流れ方向とは反対方向に突出する1または複数の凸部を備えている、オリフィス弁。
続きを表示(約 410 文字)
【請求項2】
前記1または複数の凸部は、前記流体の流れ方向とは反対方向に突出し、前記凸部に設けられた複数のオリフィスは、前記オリフィスを通過する流体が互いに交差するように方向付けられている、請求項1に記載のオリフィス弁。
【請求項3】
前記固定プレートおよび前記可動プレートの表面は、前記流体の流れ方向とは反対方向に突出する少なくとも1つのアーチ状の凸部を備え、前記凸部に設けられた複数のオリフィスは、前記オリフィスを通過する流体が1カ所に集まるように方向付けられている、請求項2に記載のオリフィス弁。
【請求項4】
前記凸部が、
1つまたは複数の曲面によって構成されている、
複数の平面によって構成されている、または、
1つまたは複数の曲面および1つまたは複数の平面の組み合わせによって構成されている、請求項1~3のいずれか1項に記載のオリフィス弁。
発明の詳細な説明
【技術分野】
【0001】
本発明はオリフィス弁に関する。
続きを表示(約 1,300 文字)
【背景技術】
【0002】
オリフィス弁は、例えば特許文献1に示されるように、弁箱内に、複数のオリフィスを設けて弁箱に組付けた固定プレートと、複数のオリフィスを設けて固定プレートに対向して配置された可動プレートとを備えている。可動プレートは固定プレートに対して移動することで、両プレートに設けた複数のオリフィスの位置関係を変動させ、任意の開度による流量制御が可能となる。
【先行技術文献】
【特許文献】
【0003】
特開2002-188734号公報
【発明の概要】
【発明が解決しようとする課題】
【0004】
一方、上述したオリフィス弁では、オリフィス弁を通過する流体の流路が狭いため、オリフィス弁を通過させる流体の流量が少なくなる。
【0005】
そこで、本発明は、簡単な構造で流量を増やすことが可能なオリフィス弁の提供を目的とする。
【課題を解決するための手段】
【0006】
本発明のオリフィス弁は、流体が流れる管路に設けられる弁箱と、複数のオリフィスを備え、前記弁箱に固定された固定プレートと、複数のオリフィスを備え、前記固定プレートに対して相対移動可能に、前記弁箱に設けられた可動プレートとを備え、前記固定プレートおよび前記可動プレートの表面は、前記管路における前記流体の流れ方向または前記流体の流れ方向とは反対方向に突出する1または複数の凸部を備えている。
【発明の効果】
【0007】
本発明のオリフィス弁によれば、簡単な構造で流量を増やすことが可能となる。
【図面の簡単な説明】
【0008】
本発明の一実施形態のオリフィス弁を管路の軸方向に沿って鉛直方向に切断した概略断面図である。
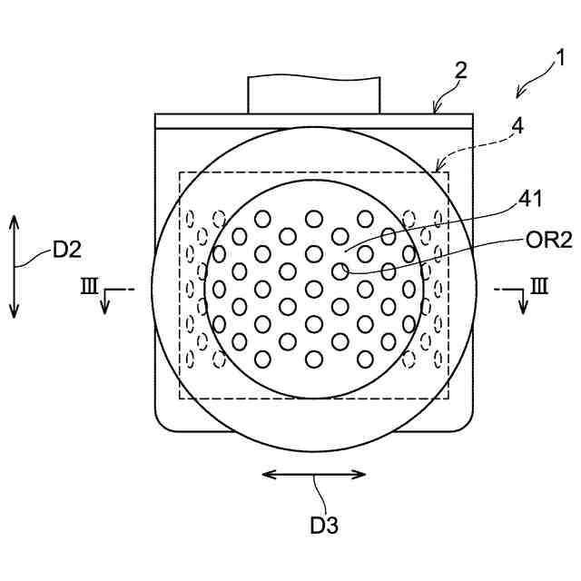
図1に示されるオリフィス弁を、流体の流れ方向の上流側から見た概略図である。
図2のIII-III線断面図である。
図1に示されるオリフィス弁の固定プレートおよび可動プレートの斜視図である。
図3と同様の位置で切断されたオリフィス弁の変形例を示す断面図である。
図3と同様の位置で切断されたオリフィス弁の他の変形例を示す断面図である。
【発明を実施するための形態】
【0009】
以下、図面を参照し、本発明の一実施形態のオリフィス弁を説明する。なお、以下に示す実施形態はあくまで一例であり、本発明のオリフィス弁は、以下の実施形態に限定されるものではない。
【0010】
なお、本明細書において、「Aに垂直」およびこれに類する表現は、Aに対して完全に垂直な方向のみを指すのではなく、Aに対して略垂直であることを含んで指すものとする。また、本明細書において、「Bに平行」およびこれに類する表現は、Bに対して完全に平行な方向のみを指すのではなく、Bに対して略平行であることを含んで指すものとする。また、本明細書において、「C形状」およびこれに類する表現は、完全なC形状のみを指すのではなく、見た目にC形状を連想させる形状(略C形状)を含んで指すものとする。
(【0011】以降は省略されています)
この特許をJ-PlatPat(特許庁公式サイト)で参照する
関連特許
株式会社栗本鐵工所
オリフィス弁
6日前
株式会社栗本鐵工所
外面防食鉄管
4日前
株式会社栗本鐵工所
触覚提示装置
6日前
株式会社栗本鐵工所
触覚提示システム
5日前
株式会社栗本鐵工所
触覚提示システム
7日前
株式会社栗本鐵工所
磁気粘性流体装置
6日前
株式会社栗本鐵工所
触覚提示システム
6日前
株式会社栗本鐵工所
触覚提示システム
5日前
株式会社栗本鐵工所
ローラスクリーン
今日
株式会社栗本鐵工所
触覚提示システム
5日前
株式会社栗本鐵工所
触覚提示システム
5日前
株式会社栗本鐵工所
管継手構造及び支柱
11日前
株式会社栗本鐵工所
弁箱構造および管体構造
11日前
株式会社栗本鐵工所
ハウジング管の製造方法
5日前
株式会社栗本鐵工所
操作装置及び操作受付方法
4日前
株式会社栗本鐵工所
磁気粘性流体装置の生産方法
4日前
株式会社栗本鐵工所
外面防食鉄管およびその製造方法
4日前
株式会社栗本鐵工所
接続構造および磁気粘性流体装置
4日前
株式会社栗本鐵工所
破砕制御システムおよびプログラム
5日前
株式会社栗本鐵工所
触覚提示可能な入力装置の制御方法
7日前
株式会社栗本鐵工所
溶湯量予測システムおよびプログラム
7日前
株式会社栗本鐵工所
管路更生工法および管路更生工法用管
15日前
株式会社栗本鐵工所
トラフ乾燥方法、及び、トラフ乾燥装置
6日前
株式会社栗本鐵工所
破砕制御システム、摩耗量予測装置およびプログラム
6日前
株式会社栗本鐵工所
送風量制御システム、および、送風量決定プログラム
12日前
株式会社栗本鐵工所
情報処理装置、触覚提示方法及びコンピュータプログラム
5日前
株式会社栗本鐵工所
遠隔検査装置、遠隔検査方法及びコンピュータプログラム
11日前
株式会社栗本鐵工所
情報処理装置、触覚提示方法及びコンピュータプログラム
4日前
株式会社栗本鐵工所
情報処理システム、情報処理方法、及び情報処理プログラム
4日前
株式会社栗本鐵工所
情報処理システム、情報処理方法、及び情報処理プログラム
5日前
株式会社栗本鐵工所
情報処理システム、情報処理方法、情報処理装置及びコンピュータプログラム
11日前
八千代エンジニヤリング株式会社
水切り装置、その設置方法、およびその設置方法に使用される位置決め治具とフック
7日前
個人
留め具
今日
個人
鍋虫ねじ
1か月前
個人
紛体用仕切弁
1か月前
個人
ホース保持具
6か月前
続きを見る
他の特許を見る