TOP
|
特許
|
意匠
|
商標
特許ウォッチ
Twitter
他の特許を見る
公開番号
2025139881
公報種別
公開特許公報(A)
公開日
2025-09-29
出願番号
2024038961
出願日
2024-03-13
発明の名称
管路更生工法および管路更生工法用管
出願人
株式会社栗本鐵工所
代理人
個人
,
個人
,
個人
,
個人
主分類
F16L
1/00 20060101AFI20250919BHJP(機械要素または単位;機械または装置の効果的機能を生じ維持するための一般的手段)
要約
【課題】樹脂管を新設管として用いる管路の更生作業をスムーズに行うことができる管路更生工法および管路更生工法用管を提供する。
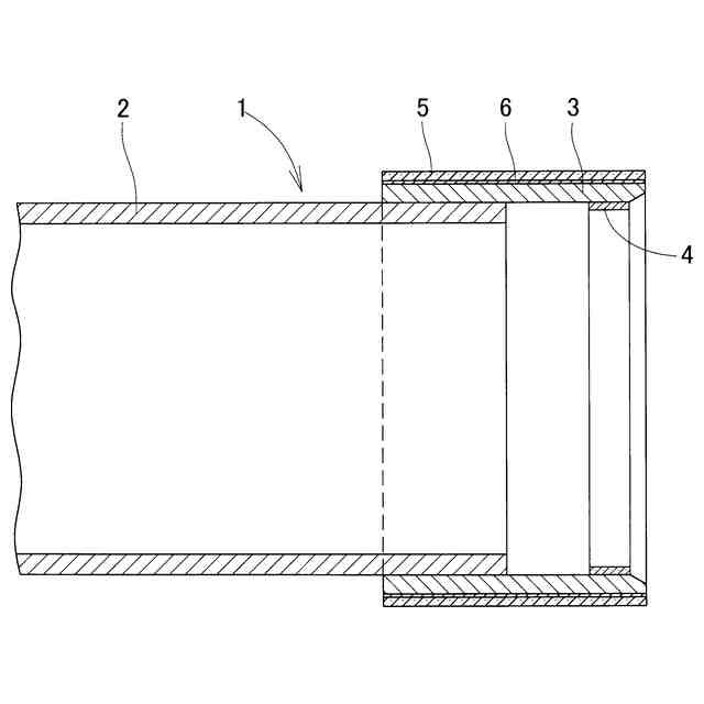
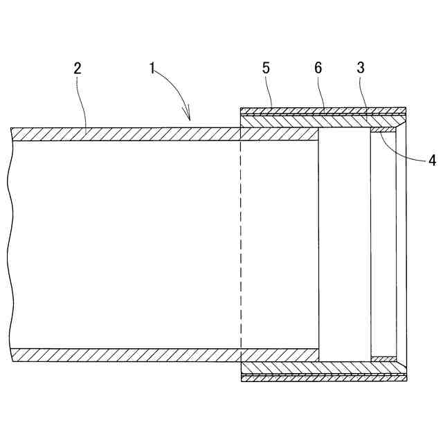
【解決手段】直管部2の一端側の外周にリング状の受口部3が嵌め込まれた樹脂製の新設管1の挿し口と、他の新設管1の受口を順次つなぎ合わせながら既設管P内に推進させて管路を更生する管路更生工法において、直管部2に対して大径の受口部3の外周面に布状体5が接着剤6で接着された構成とし、直管部2の一端側の外周にリング状の受口部3が嵌め込まれた樹脂製の新設管1の挿し口と、他の新設管1の受口を順次つなぎ合わせながら既設管P内に推進させて管路を更生する際に用いられる管路更生工法用管1において、直管部2に対して大径の受口部3の外周面に布状体5が接着剤6で接着されている構成とする。
【選択図】図2
特許請求の範囲
【請求項1】
直管部(2)の一端側の外周にリング状の受口部(3)が嵌め込まれた樹脂製の新設管(1)の挿し口と、他の新設管(1)の受口を順次つなぎ合わせながら既設管(P)内に推進させて管路を更生する管路更生工法において、
前記直管部(2)に対して大径の前記受口部(3)の外周面に布状体(5)が接着剤(6)で接着されていることを特徴とする管路更生工法。
続きを表示(約 680 文字)
【請求項2】
前記受口部(3)の外周面に設けられた布状体(5)の表面の前記既設管(P)の内面に対する摩擦係数が、前記受口部(3)の外周面の前記既設管(P)の内面に対する摩擦係数よりも小さい請求項1に記載の管路更生工法。
【請求項3】
前記布状体(5)が、シート状の不織布(5)の少なくとも一方側の面に糸(7)を編み込むことによって構成されており、前記糸(7)を編み込んだ面が前記受口部(3)に接着されている請求項1または2に記載の管路更生工法。
【請求項4】
直管部(2)の一端側の外周にリング状の受口部(3)が嵌め込まれた樹脂製の新設管(1)の挿し口と、他の新設管(1)の受口を順次つなぎ合わせながら既設管(P)内に推進させて管路を更生する際に用いられる管路更生工法用管において、
前記直管部(2)に対して大径の前記受口部(3)の外周面に布状体(5)が接着剤(6)で接着されていることを特徴とする管路更生工法用管。
【請求項5】
前記受口部(3)の外周面に設けられた布状体(5)の表面の前記既設管(P)の内面に対する摩擦係数が、前記受口部(3)の外周面の前記既設管(P)の内面に対する摩擦係数よりも小さい請求項4に記載の管路更生工法用管。
【請求項6】
前記布状体(5)が、シート状の不織布(5)の少なくとも一方側の面に糸(7)を編み込むことによって構成されており、前記糸(7)を編み込んだ面が前記受口部(3)に接着されている請求項4または5に記載の管路更生工法用管。
発明の詳細な説明
【技術分野】
【0001】
この発明は、管路更生工法および管路更生工法用管に関する。
続きを表示(約 1,500 文字)
【背景技術】
【0002】
一端側に受口が形成され他端側に挿し口が形成された新設管の挿し口と、他の新設管の受口を順次つなぎ合わせながら既設管内に推進させて管路を更生する管路更生工法が一般的に採用されている。例えば下記特許文献1においては、ダクタイル鋳鉄管を新設管として採用している。この新設管の受口側には、新設管を既設管内で推進させる際の摩擦抵抗を低減するためのシートが設けられている。このシートは、直管部よりも大径の受口から直管部に向かって徐々に直径を減じるテーパ部までの全体を跨ぐように設けられている。
【0003】
このようにシートを設けることにより、新設管を推進させる際に、このシートの摩擦低減作用によって新設管の受口を既設管の開口にスムーズに乗り上げることができる。このシートの素材として、摺動性を有する高分子量ポリエチレンや四フッ化エチレン等が採用されている。
【先行技術文献】
【特許文献】
【0004】
特許第4601559号公報
【発明の概要】
【発明が解決しようとする課題】
【0005】
特許文献1で採用されているダクタイル鋳鉄管は、その遠心鋳造の際に直管部と受口との間にテーパ部を形成することができ、そのテーパ部に沿ってシートを貼り付けることによって新設管の推進時におけるシートの剥がれを防止することができる。
【0006】
その一方で、新設管として樹脂管を採用する場合、その樹脂管は直管部の一端側の外周にリング状の受口部を嵌め込むことによって形成されており、直管部と受口部との間に段差が生じている。シートをこの段差に跨るように設けた場合、その段差部分で新設管とシートとの間で隙間が生じ、新設管を推進させた際にその隙間を起点としてシートの剥離が生じることがある。また、特許文献1においてシートの素材として採用している高分子量ポリエチレンや四フッ化エチレンは、接着性に劣るとともにねじれに弱く、シートの剥離がより顕著となるおそれもある。また、下水管のように既設管の中に異物や溜水が存在する環境で樹脂管からなる新設管を推進させた場合、シートの剥離が一層顕著となり、管路の更生作業に支障をきたすおそれがある。
【0007】
そこで、この発明は、樹脂管を新設管として用いる管路の更生作業をスムーズに行うことを課題とする。
【課題を解決するための手段】
【0008】
上記の課題を解決するため、この発明では、
直管部の一端側の外周にリング状の受口部が嵌め込まれた樹脂製の新設管の挿し口と、他の新設管の受口を順次つなぎ合わせながら既設管内に推進させて管路を更生する管路更生工法において、
前記直管部に対して大径の前記受口部の外周面に布状体が接着剤で接着されていることを特徴とする管路更生工法を構成(第1構成)した。
【0009】
このようにすると、布状体にしみ込んだ接着剤のアンカー効果により、この布状体を受口部の外周面に強固に接着してこの受口部を確実に保護することができ、樹脂管を新設管として用いる管路の更生作業をスムーズに行うことができる。
【0010】
第1構成においては、前記受口部の外周面に設けられた布状体の表面の前記既設管の内面に対する摩擦係数が、前記受口部の外周面の前記既設管の内面に対する摩擦係数よりも小さい構成(第2構成)とすることができる。このようにすると、布状体による受口部の補強効果に加え、この受口部に摺動性を付与することができ、管路の更生作業を一層スムーズに行うことができる。
(【0011】以降は省略されています)
この特許をJ-PlatPat(特許庁公式サイト)で参照する
関連特許
株式会社栗本鐵工所
外面防食鉄管
1日前
株式会社栗本鐵工所
触覚提示装置
3日前
株式会社栗本鐵工所
オリフィス弁
3日前
株式会社栗本鐵工所
触覚提示システム
2日前
株式会社栗本鐵工所
触覚提示システム
3日前
株式会社栗本鐵工所
触覚提示システム
2日前
株式会社栗本鐵工所
触覚提示システム
2日前
株式会社栗本鐵工所
触覚提示システム
2日前
株式会社栗本鐵工所
ハウジング管の製造方法
2日前
株式会社栗本鐵工所
操作装置及び操作受付方法
1日前
株式会社栗本鐵工所
磁気粘性流体装置の生産方法
1日前
株式会社栗本鐵工所
接続構造および磁気粘性流体装置
1日前
株式会社栗本鐵工所
外面防食鉄管およびその製造方法
1日前
株式会社栗本鐵工所
破砕制御システムおよびプログラム
2日前
株式会社栗本鐵工所
トラフ乾燥方法、及び、トラフ乾燥装置
3日前
株式会社栗本鐵工所
情報処理装置、触覚提示方法及びコンピュータプログラム
1日前
株式会社栗本鐵工所
情報処理装置、触覚提示方法及びコンピュータプログラム
2日前
株式会社栗本鐵工所
情報処理システム、情報処理方法、及び情報処理プログラム
2日前
株式会社栗本鐵工所
情報処理システム、情報処理方法、及び情報処理プログラム
1日前
個人
鍋虫ねじ
1か月前
個人
回転伝達機構
2か月前
個人
紛体用仕切弁
1か月前
個人
ホース保持具
5か月前
個人
差動歯車用歯形
3か月前
個人
給排気装置
4日前
個人
ジョイント
22日前
株式会社不二工機
電磁弁
4か月前
株式会社不二工機
電磁弁
3か月前
個人
地震の揺れ回避装置
2か月前
個人
ナット
23日前
個人
吐出量監視装置
1か月前
柿沼金属精機株式会社
分岐管
1か月前
カヤバ株式会社
緩衝器
3か月前
カヤバ株式会社
ダンパ
3か月前
カヤバ株式会社
ダンパ
3か月前
カヤバ株式会社
緩衝器
3日前
続きを見る
他の特許を見る