TOP
|
特許
|
意匠
|
商標
特許ウォッチ
Twitter
他の特許を見る
10個以上の画像は省略されています。
公開番号
2025145340
公報種別
公開特許公報(A)
公開日
2025-10-03
出願番号
2024045458
出願日
2024-03-21
発明の名称
搬送装置
出願人
太平電業株式会社
代理人
弁理士法人インテクト国際特許事務所
,
個人
主分類
B65H
51/32 20060101AFI20250926BHJP(運搬;包装;貯蔵;薄板状または線条材料の取扱い)
要約
【課題】搬送元から、搬送元より下方にある搬送先に可撓性の長尺物を搬送することができる搬送装置を提供する。
【解決手段】搬送元の方向から搬送先の方向に曲線状に設けられた長穴を有する搬送ベースと、長穴に挿通される挿通部と、長尺物の一部を保持する保持部と、を有し、長尺物の一部を保持した状態で挿通部が長穴に挿通されたまま長穴に沿って移動する保持具と、を備える。
【選択図】図18
特許請求の範囲
【請求項1】
搬送元から前記搬送元より下方にある搬送先に可撓性の長尺物を長手方向に沿って搬送する搬送装置であって、
前記搬送元の方向から前記搬送先の方向に曲線状に設けられた長穴を有する搬送ベースと、
前記長穴に挿通される挿通部と、前記長尺物の一部を保持する保持部と、を有し、前記長尺物の一部を保持した状態で前記挿通部が前記長穴に挿通されたまま前記長穴に沿って移動する保持具と、
を備えることを特徴とする搬送装置。
続きを表示(約 590 文字)
【請求項2】
請求項1に記載の搬送装置であって、
前記長尺物の移動方向が、前記搬送元の方向から前記搬送先の方向である順方向の場合に前記長尺物の移動を抑止せず、前記移動方向が前記順方向とは逆方向である場合に前記長尺物の移動を抑止する抑止手段、を更に備えることを特徴とする搬送装置。
【請求項3】
請求項2に記載の搬送装置であって、
前記抑止手段は、
前記移動方向に対して直交する方向のうち一方の方向から前記長尺物に当接する第1当接部と、
前記一方の方向とは反対の方向から前記長尺物に当接する第2当接部と、
を備え、
前記第1当接部と前記第2当接部は、前記移動方向が前記逆方向である場合には、前記長尺物を挟んでロックすることを特徴とする搬送装置。
【請求項4】
請求項3に記載の搬送装置であって、
前記第2当接部は、前記移動方向に沿って回動可能に設けられ、前記逆方向への回転が制限されて、前記第1当接部との間に前記長尺物を挟んでロックすることを特徴とする搬送装置。
【請求項5】
請求項1に記載の搬送装置であって、
前記搬送ベースは、前記長尺物とともに移動する第2の長尺物を、前記搬送元の方向から前記搬送先の方向に案内するガイドを備えることを特徴とする搬送装置。
発明の詳細な説明
【技術分野】
【0001】
本発明は、長尺物を搬送する技術に関するものである。
続きを表示(約 1,400 文字)
【背景技術】
【0002】
一部の原子力発電所における建屋基礎の下方には湧水を除去するため、図1に示すような湧水除去設備1が設けられている。湧水除去設備1は、暗渠集排水材2(図1において点線で示す)と、これに接続された集水管3(図1において実線で示す)と、を含む。暗渠集排水材2は、例えば、ポリプロピレン樹脂を、径2mm程度の繊維状に押出成形した立体網状成形品(「プラスチック立体網状成形品」又は「ヘチマロン(登録商標)」と呼ばれることもある)であり、土中の細かい石や砂などが詰まることを防ぐために周囲が不織布等の透水シート6(図2参照)で覆われている。湧水除去設備1は地中に設けられており、暗渠集排水材2が地中の湧水を集水して集水管3に流し込むことにより、集水管3内を排水ピットまで流れ、排水ピット内の排水ポンプにより湧水を回収して湧水除去設備1外へ排水する。
【0003】
湧水除去設備1が設けられた原子力発電所の安全運用には、湧水除去設備1の健全性が欠かせない。そのため、湧水除去設備1の深さまで掘られた縦穴4から集水管3に検査機器を入れて検査する必要がある。ところが、集水管3における暗渠集排水材2の接続部5では、図2に示すように、集水管3内に暗渠集排水材2の端部が突出しているため、検査機器の通過の障害となり、検査に支障をきたしている。
【0004】
そこで、内視鏡のように、集水管3の内部にケーブルを先端側から挿入し、その先端に取り付けた切削用ドリル刃によって暗渠集排水材2などの障害物を切削する必要がある。ところが、地上から湧水除去設備1の深さにある集水管3の開口部まで長尺のケーブルを搬送して集水管3の内部に挿入することとなるため多大な労力を要する。
【0005】
そうした中、特許文献1には、重力による撓みを抑制しながら可撓性の長尺物を搬送することができる搬送装置が開示されている。
【先行技術文献】
【特許文献】
【0006】
特開2021-151311号公報
【発明の概要】
【発明が解決しようとする課題】
【0007】
しかしながら、特許文献1の搬送装置は、可撓性の長尺物を水平に搬送することはできるが、地上から湧水除去設備1などのある下方の集水管3の開口部まで、といったような高さの異なる方向へ搬送することができないという問題がある。
【0008】
本発明は、こうした事情に鑑み、搬送元から、搬送元より下方にある搬送先に可撓性の長尺物を搬送することができる搬送装置を提供することを課題とする。
【課題を解決するための手段】
【0009】
この発明は、上記目的を達成するためになされたものであって、下記の特徴を有する。
【0010】
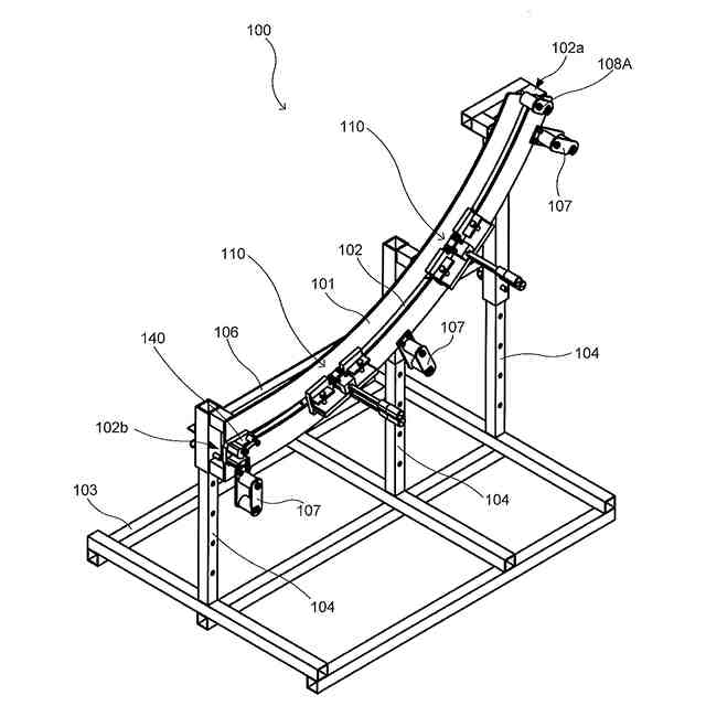
請求項1記載の発明は、搬送元から前記搬送元より下方にある搬送先に可撓性の長尺物を長手方向に沿って搬送する搬送装置であって、前記搬送元の方向から前記搬送先の方向に曲線状に設けられた長穴を有する搬送ベースと、前記長穴に挿通される挿通部と、前記長尺物の一部を保持する保持部と、を有し、前記長尺物の一部を保持した状態で前記挿通部が前記長穴に挿通されたまま前記長穴に沿って移動する保持具と、を備えることを特徴とする。
(【0011】以降は省略されています)
この特許をJ-PlatPat(特許庁公式サイト)で参照する
関連特許
太平電業株式会社
搬送装置
16日前
太平電業株式会社
管内走行体
16日前
太平電業株式会社
ジャッキ装置
16日前
太平電業株式会社
支柱の設置方法
16日前
太平電業株式会社
地熱利用システム
10日前
太平電業株式会社
切断装置及び切断刃
16日前
太平電業株式会社
柱状構造物の解体方法
12日前
太平電業株式会社
柱状構造物の解体方法
12日前
太平電業株式会社
柱状構造物の解体方法
12日前
太平電業株式会社
水分除去装置及び水分除去方法
4か月前
太平電業株式会社
ボイラ火炉ホッパー部足場の設置工法
16日前
太平電業株式会社
重量物の位置調整装置及び重量物の位置調整方法
8か月前
太平電業株式会社
廃液の水分除去方法、残留物の処分方法
12日前
個人
ゴミ箱
12か月前
個人
収容箱
3か月前
個人
コンベア
4か月前
個人
段ボール箱
6か月前
個人
容器
9か月前
個人
ゴミ収集器
6か月前
個人
段ボール箱
6か月前
個人
パウチ補助具
12か月前
個人
宅配システム
6か月前
個人
楽ちんハンド
4か月前
個人
角筒状構造体
5か月前
個人
バンド
1か月前
個人
土嚢運搬器具
8か月前
個人
閉塞装置
9か月前
個人
包装容器
1か月前
個人
廃棄物収容容器
2か月前
個人
コード類収納具
8か月前
個人
お薬の締結装置
5か月前
個人
積み重ね用補助具
2か月前
個人
ゴミ処理機
8か月前
株式会社和気
包装用箱
8か月前
個人
蓋閉止構造
3か月前
株式会社バンダイ
物品
11日前
続きを見る
他の特許を見る