TOP
|
特許
|
意匠
|
商標
特許ウォッチ
Twitter
他の特許を見る
公開番号
2025145365
公報種別
公開特許公報(A)
公開日
2025-10-03
出願番号
2024045494
出願日
2024-03-21
発明の名称
ジャッキ装置
出願人
太平電業株式会社
代理人
弁理士法人インテクト国際特許事務所
,
個人
主分類
E04G
1/15 20060101AFI20250926BHJP(建築物)
要約
【課題】足場ポストの組み立て及び解体に際して、更なる作業性の向上を図るとともに、保持部材を削減して保持部材の紛失といったリスクを低減しつつコスト減を図り、更に昇降部材の昇降に伴って昇降部材と足場ポストとが接触することのないジャッキ装置を提供する。
【解決手段】足場を支持する継足し式ポストを昇降させるジャッキ装置において、前記継足し式ポストを載置する台部と、前記台部から前記昇降方向に延びる柱部と、前記柱部の前記昇降方向に沿って移動可能であると共に、前記昇降方向に交差する方向に出没自在に構成された昇降部材とを備え、前記昇降部材は、前記継足し式ポストに係合可能な爪部を備えることを特徴とする。
【選択図】図2
特許請求の範囲
【請求項1】
足場を支持する継足し式ポストを昇降させるジャッキ装置において、
前記継足し式ポストを載置する台部と、
前記台部から前記昇降方向に延びる柱部と、
前記柱部の前記昇降方向に沿って移動可能であると共に、前記昇降方向に交差する方向に出没自在に構成された昇降部材とを備え、
前記昇降部材は、前記継足し式ポストに係合可能な爪部を備えることを特徴とするジャッキ装置。
続きを表示(約 650 文字)
【請求項2】
請求項1に記載のジャッキ装置において、
前記柱部は、前記昇降部材を駆動するねじ軸を備え、
前記昇降部材は、前記ねじ軸に螺合することを特徴とするジャッキ装置。
【請求項3】
請求項2に記載のジャッキ装置において、
前記昇降部材は、先端部が互いに枢軸を介して枢動可能に連結されると共に、他端部が枢動自在に組み付けられた一対のフック部を備えることを特徴とするジャッキ装置。
【請求項4】
請求項3に記載のジャッキ装置において、
前記爪部は、前記一対のフック部の少なくとも一方の先端部に形成されることを特徴とするジャッキ装置。
【請求項5】
請求項3に記載のジャッキ装置において、
前記フック部は、前記ねじ軸に螺合するトラベリングナット部材が前記他端部に取り付けられることを特徴とするジャッキ装置。
【請求項6】
請求項2に記載のジャッキ装置において、
前記ねじ軸に軸周りに回転力を付与する駆動部を備えることを特徴するジャッキ装置。
【請求項7】
請求項3に記載のジャッキ装置において、
前記枢軸は、前記フック部を操作する付与手段を備えることを特徴とするジャッキ装置。
【請求項8】
請求項3に記載のジャッキ装置において、
前記一対のフック部は、押し込み状態を維持するエアダンパーを備えることを特徴とするジャッキ装置。
発明の詳細な説明
【技術分野】
【0001】
この発明は、火力発電所等のプラントやビルのメンテナンス更には塗装や工事などの足場の組み立て及び解体を行う際に用いられる足場を支持する継足し式ポストを昇降させるジャッキ装置に関する。
続きを表示(約 1,600 文字)
【背景技術】
【0002】
従来、上述した用途で用いられる足場は、足場を支持する継足し式ポストを垂直方向に組み立てて足場を支持しており、このような継足し式ポストの組み立て方法は種々の方法が知られている。
【0003】
例えば、クレーンなどで吊り上げて下方から上方に向かって組み上げている他、特許文献1に記載された組立・解体装置が知られている。
【0004】
特許文献1に記載された解体装置は、両端部に接続部を形成した所定の長さを有する複数の単位ポストを垂直方向に組み立てて足場ポストを形成する足場ポスト組み立て解体装置にして、単位ポストを設置する台部と、単位ポストを昇降する単位ポスト昇降部材と、該昇降部材と前記単位ポストとを着脱自在に結合する保持部材と、前記昇降部材を前記単位ポストの高さ寸法より高く上げる昇降器とを有し、前記台部、前記昇降器及び前記昇降部材でほぼコ字状の単位ポスト設置部を形成し、該単位ポスト設置部内で単位ポストを単位ポスト昇降部材により引き上げ、他の単位ポストをその下部に位置させて両単位ポストを接合し、前記引き上げられた単位ポストと前記昇降部材との保持を前記保持部材の解放により解き、前記昇降部材を初期の状態に下降して前記昇降部材で下の前記単位ポストを保持し、この単位ポストを前記同様に上昇させて足場ポストを組み立て、逆により足場ポストを解体することを特徴とする。
【0005】
このような解体装置によれば、両端部に接続部を有し所定の長さを有する単位ポストをそれにより長い高さ寸法を有するほぼコ字状の単位ポスト設置部内で昇降させて垂直方向に足場ポストを組み立て、また逆にして足場ポストを解体するので、単位ポストの組み立て及び解体が安全性及び作業性に富むだけでなく、足場ポスト組み立て解体装置の他にポスト設置部内という特定の限られた所で単位ポストを昇降させて垂直方向に組み立て解体すればよく、野外などの現場でも工場内の組み立て解体作業のように安全で効率よく用意確実に作業を行うことができる。
【先行技術文献】
【特許文献】
【0006】
特公平5-46424号公報
【発明の概要】
【発明が解決しようとする課題】
【0007】
しかしながら、特許文献1に記載された足場ポスト組み立て解体装置によると、昇降部材と単位ポストとを着脱自在に結合するピン状の保持部材によって単位ポストを昇降部材に取り付けているので、保持部材への着脱作業が必要であって、作業性の更なる効率化が求められていることに加え、保持部材とポストの穴位置合わせが存在するという問題があった。
【0008】
また、昇降部材の昇降に伴って、昇降部材が台部に載置された足場ポストと干渉する可能性があり、足場ポストやジャッキ装置の損傷の可能性が指摘されていた。
【0009】
本発明は、このような状況に鑑みてなされたものであり、足場ポストの組み立て及び解体に際して、更なる作業性の向上を図るとともに、結合するピンを削減して当該ピンの紛失といったリスクを低減しつつコスト減を図り、更に昇降部材の昇降に伴って昇降部材と足場ポストとが接触することのないジャッキ装置を提供することを課題とする。
【課題を解決するための手段】
【0010】
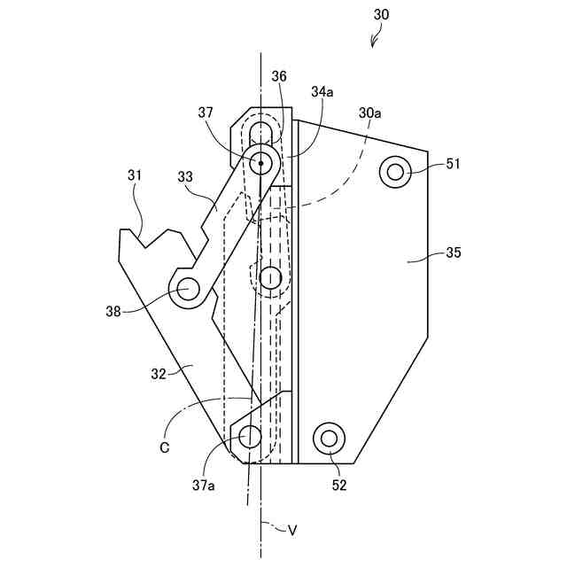
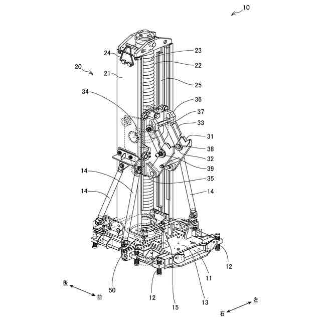
本発明に係るジャッキ装置は、足場を支持する継足し式ポストを昇降させるジャッキ装置において、前記継足し式ポストを載置する台部と、前記台部から前記昇降方向に延びる柱部と、前記柱部の前記昇降方向に沿って移動可能であると共に、前記昇降方向に交差する方向に出没自在に構成された昇降部材とを備え、前記昇降部材は、前記継足し式ポストに係合可能な爪部を備えることを特徴とする。
(【0011】以降は省略されています)
この特許をJ-PlatPat(特許庁公式サイト)で参照する
関連特許
太平電業株式会社
搬送装置
9日前
太平電業株式会社
管内走行体
9日前
太平電業株式会社
ジャッキ装置
9日前
太平電業株式会社
支柱の設置方法
9日前
太平電業株式会社
地熱利用システム
3日前
太平電業株式会社
切断装置及び切断刃
9日前
太平電業株式会社
柱状構造物の解体方法
5日前
太平電業株式会社
柱状構造物の解体方法
5日前
太平電業株式会社
柱状構造物の解体方法
5日前
太平電業株式会社
水分除去装置及び水分除去方法
3か月前
太平電業株式会社
ボイラ火炉ホッパー部足場の設置工法
9日前
太平電業株式会社
廃液の水分除去方法、残留物の処分方法
5日前
個人
接合構造
6日前
個人
屋台
23日前
個人
タッチミー
5日前
個人
野良猫ハウス
1か月前
個人
転落防止用手摺
1か月前
個人
フェンス
1か月前
ニチハ株式会社
建築板
1か月前
個人
地下型マンション
3か月前
個人
居住車両用駐車場
1か月前
個人
筋交自動設定装置
13日前
個人
ベンリナアングル
5日前
積水樹脂株式会社
柵体
1か月前
個人
熱抵抗多層断熱建材
1か月前
個人
鋼管結合資材
3か月前
個人
壁断熱パネル
4か月前
株式会社タナクロ
テント
3か月前
個人
補強部材
1か月前
個人
柵
2か月前
鹿島建設株式会社
壁体
1か月前
個人
身体用シェルター
13日前
個人
循環流水式屋根融雪装置
3か月前
個人
身体用シェルター
13日前
成友建設株式会社
建物
1か月前
三協立山株式会社
構造体
13日前
続きを見る
他の特許を見る