TOP
|
特許
|
意匠
|
商標
特許ウォッチ
Twitter
他の特許を見る
10個以上の画像は省略されています。
公開番号
2025145339
公報種別
公開特許公報(A)
公開日
2025-10-03
出願番号
2024045457
出願日
2024-03-21
発明の名称
切断装置及び切断刃
出願人
太平電業株式会社
代理人
弁理士法人インテクト国際特許事務所
,
個人
主分類
E03F
9/00 20060101AFI20250926BHJP(上水;下水)
要約
【課題】管の内部において布状被覆物に被覆された被切断物やその他の被切断部を切断することができる切断装置等を提供する。
【解決手段】管の内部の被切断物を、ケーブルの先端に取り付けた筒状の切断刃を回転させて切断する切断装置であって、切断刃の一方の端部には、側面視した場合に波形の刃部が形成されており、波形の刃部は、凸曲状部分と凹曲状部分が交互に連続している。
【選択図】図3
特許請求の範囲
【請求項1】
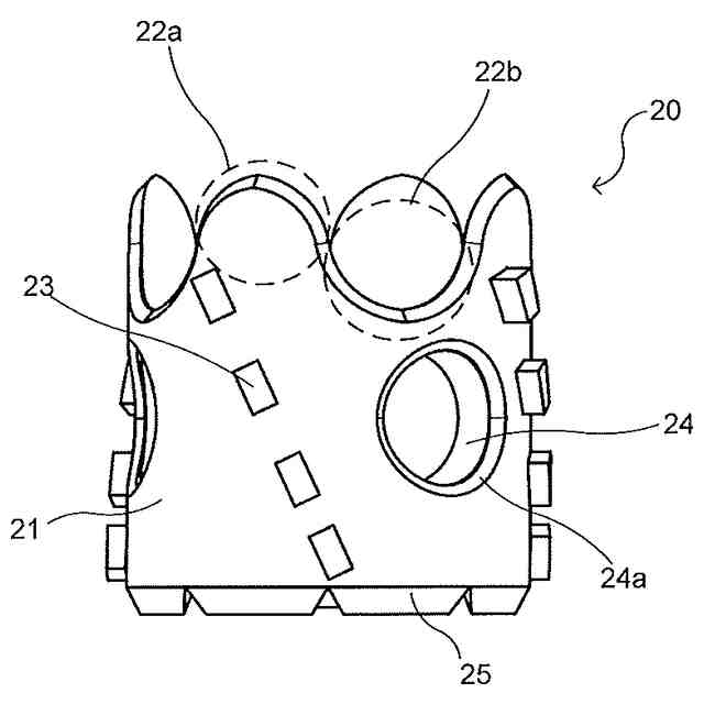
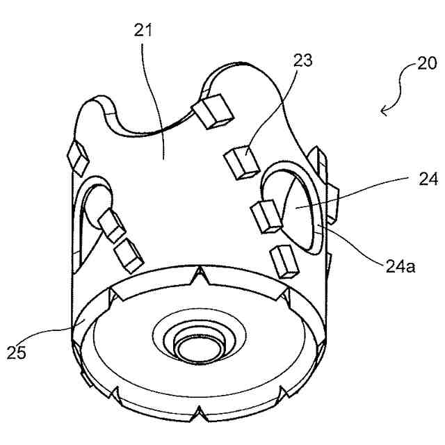
管の内部の被切断物を、筒状の切断刃を回転させて切断する切断装置であって、
前記切断刃の一方の端部には、側面視した場合に波形の刃部が形成されており、
前記波形の刃部は、凸曲状部分と凹曲状部分が交互に連続していることを特徴とする切断装置。
続きを表示(約 680 文字)
【請求項2】
請求項1に記載の切断装置であって、
前記切断刃の外側の側面には突起が形成されていることを特徴とする切断装置。
【請求項3】
請求項1に記載の切断装置であって、
前記切断刃の側面には、切断した前記被切断物を前記切断刃の外側へ排出する排出孔が形成されていることを特徴とする切断装置。
【請求項4】
請求項3に記載の切断装置であって、
前記排出孔の縁に刃部が形成されていることを特徴とする切断装置。
【請求項5】
請求項1に記載の切断装置であって、
前記切断刃の他方の端部に更に第2刃部が形成されていることを特徴とする切断装置。
【請求項6】
請求項1に記載の切断装置であって、
前記切断刃を回転させるためのケーブルを更に有し、
前記ケーブルの外周の一部には、前記ケーブルが前記管の内部を移動する際に前記ケーブルと前記管の内面との摩擦抵抗を軽減する摩擦抵抗軽減部材が取り付けられていることを特徴とする切断装置。
【請求項7】
請求項6に記載の切断装置であって、
前記摩擦抵抗軽減部材は、楕円体形状であり、前記ケーブルが貫通する貫通孔が形成されていることを特徴とする切断装置。
【請求項8】
請求項1に記載の切断装置であって、
前記被切断物は、布状被覆物に被覆されていることを特徴とする切断装置。
【請求項9】
請求項1乃至7の何れか一項に記載の切断装置における切断刃。
発明の詳細な説明
【技術分野】
【0001】
本発明は、人が立ち入ることが困難な管の中にある被切断物を切断する技術に関するものである。
続きを表示(約 1,300 文字)
【背景技術】
【0002】
一部の原子力発電所における建屋基礎の下方には湧水を除去するため、図1に示すような湧水除去設備1が設けられている。湧水除去設備1は、暗渠集排水材2(図1において点線で示す)と、これに接続された集水管3(図1において実線で示す)と、を含む。暗渠集排水材2は、例えば、ポリプロピレン樹脂を、径2mm程度の繊維状に押出成形した立体網状成形品(「プラスチック立体網状成形品」又は「ヘチマロン(登録商標)」と呼ばれることもある)であり、土中の細かい石や砂などが詰まることを防ぐために周囲が不織布等の透水シート6(図2参照)で覆われている。湧水除去設備1は地中に設けられており、暗渠集排水材2が地中の湧水を集水して集水管3に流し込むことにより、集水管3内を排水ピットまで流れ排水ピット内の排水ポンプにより湧水を回収して湧水除去設備1外へ排水する。
【0003】
湧水除去設備1が設けられた原子力発電所の安全運用には、湧水除去設備1の健全性が欠かせない。そのため、湧水除去設備1の深さまで掘られた縦穴4から集水管3に検査機器を入れて検査する必要がある。ところが、集水管3における暗渠集排水材2の接続部5では、図2に示すように、集水管3内に暗渠集排水材2の端部が突出しているため、検査機器の通過の障害となり、検査に支障をきたしている。
【0004】
特許文献1にはこうした管内の不要物を撤去するため、電動ドリルの先端に取り付けられる切削用ドリル刃が開示されており、切削用ドリル刃は、先端部に球状の切削部が一体に形成されており、更に切削部の表面にはX状に突出した刃部が形成されている。
【先行技術文献】
【特許文献】
【0005】
特開2002-346496号公報
【発明の概要】
【発明が解決しようとする課題】
【0006】
しかしながら、特許文献1の切削用ドリル刃は、検査用プローブなどの固い異物を切削することを目的としているため、暗渠集排水材2の端部を切断しようとした場合に、暗渠集排水材2を覆う布状の透水シート6が刃に絡みついてしまい、延いてはより強靱になって引きちぎることも困難となるおそれがある。
【0007】
本発明は、こうした事情に鑑み、管の内部において布状被覆物に被覆された被切断物やその他の被切断部を切断することができる切断装置等を提供することを課題とする。
【課題を解決するための手段】
【0008】
この発明は、上記目的を達成するためになされたものであって、下記の特徴を有する。
【0009】
請求項1記載の発明は、管の内部の被切断物を、筒状の切断刃を回転させて切断する切断装置であって、前記切断刃の一方の端部には、側面視した場合に波形の刃部が形成されており、前記波形の刃部は、凸曲状部分と凹曲状部分が交互に連続していることを特徴とする。
【0010】
請求項2に記載の発明は、請求項1に記載の切断装置であって、前記切断刃の外側の側面には突起が形成されていることを特徴とする。
(【0011】以降は省略されています)
この特許をJ-PlatPat(特許庁公式サイト)で参照する
関連特許
太平電業株式会社
搬送装置
9日前
太平電業株式会社
管内走行体
9日前
太平電業株式会社
ジャッキ装置
9日前
太平電業株式会社
支柱の設置方法
9日前
太平電業株式会社
地熱利用システム
3日前
太平電業株式会社
切断装置及び切断刃
9日前
太平電業株式会社
柱状構造物の解体方法
5日前
太平電業株式会社
柱状構造物の解体方法
5日前
太平電業株式会社
柱状構造物の解体方法
5日前
太平電業株式会社
水分除去装置及び水分除去方法
3か月前
太平電業株式会社
ボイラ火炉ホッパー部足場の設置工法
9日前
太平電業株式会社
廃液の水分除去方法、残留物の処分方法
5日前
個人
蛇口
3か月前
TOTO株式会社
トイレ装置
5日前
個人
ドクター中まミズつクル
23日前
TOTO株式会社
排水システム
3日前
TOTO株式会社
排水システム
3日前
株式会社タカギ
水栓装置
3か月前
株式会社KVK
水栓
1か月前
株式会社KVK
水栓
1か月前
ミサワホーム株式会社
外構
2日前
タイガースポリマー株式会社
側溝
1か月前
株式会社KVK
水栓
1か月前
TOTO株式会社
便座装置
1か月前
TOTO株式会社
トイレ装置
1か月前
TOTO株式会社
トイレ装置
1か月前
TOTO株式会社
トイレ装置
1か月前
株式会社大林組
雨水桝蓋
3か月前
株式会社タカギ
水栓装置
2か月前
ホーコス株式会社
床置型グリース阻集器
1か月前
TOTO株式会社
浴室床
2か月前
TOTO株式会社
洗面器及び洗面台
1か月前
クリナップ株式会社
キッチン
3日前
TOTO株式会社
洗面器及び洗面台
1か月前
TOTO株式会社
洗い場床
2か月前
三興建設株式会社
下水道バイパス装置
1か月前
続きを見る
他の特許を見る