TOP
|
特許
|
意匠
|
商標
特許ウォッチ
Twitter
他の特許を見る
公開番号
2025144810
公報種別
公開特許公報(A)
公開日
2025-10-03
出願番号
2024044669
出願日
2024-03-21
発明の名称
端末装置のためのコンピュータプログラム、端末装置、及び、端末装置によって実行される方法
出願人
ブラザー工業株式会社
代理人
弁理士法人 快友国際特許事務所
主分類
G10L
15/06 20130101AFI20250926BHJP(楽器;音響)
要約
【課題】構音障害を有さないユーザと構音障害を有するユーザとのそれぞれの音声を文字列として適切に表示することが可能な技術を提供すること。
【解決手段】通信システムにおいて、携帯端末は、構音障害を有さないユーザの音声に対応する第1の文字列データを要求するための第1の情報を音声認識エンジンである音声認識サーバに供給する場合に、構音障害を有さないユーザのための第1の音声認識モデルが音声認識サーバによって利用されることに応じて、音声認識サーバから第1の文字列データを取得し、構音障害を有するユーザの音声に対応する第2の文字列データを要求するための第2の情報を音声認識サーバに供給する場合に、構音障害を有するユーザのための第2の音声認識モデルが音声認識サーバによって利用されることに応じて、音声認識サーバから第2の文字列データを取得する。
【選択図】図1
特許請求の範囲
【請求項1】
端末装置のためのコンピュータプログラムであって、
前記端末装置のコンピュータを、以下の各部、即ち、
構音障害を有さないユーザの音声であるのか、前記構音障害を有するユーザの音声であるのか、を示す情報を音声認識エンジンに供給する第1の供給部と、
音声の入力が検出される場合に、前記音声に対応する音声データを前記音声認識エンジンに供給する第2の供給部と、
前記音声認識エンジンから、前記音声データに対応する文字列データを取得する取得部と、
前記文字列データに対応する文字列を含む第1の画面を前記端末装置の表示部に表示させる第1の表示制御部と、として機能させ、
前記取得部は、
前記構音障害を有さない前記ユーザの音声に対応する第1の文字列データを要求するための第1の情報が前記音声認識エンジンに供給される場合に、前記構音障害を有さない前記ユーザのための第1の音声認識モデルが前記音声認識エンジンによって利用されることに応じて、前記音声認識エンジンから前記第1の文字列データを取得し、
前記構音障害を有する前記ユーザの音声に対応する第2の文字列データを要求するための第2の情報が前記音声認識エンジンに供給される場合に、前記構音障害を有する前記ユーザのための第2の音声認識モデルが前記音声認識エンジンによって利用されることに応じて、前記音声認識エンジンから前記第2の文字列データを取得する、コンピュータプログラム。
続きを表示(約 2,500 文字)
【請求項2】
前記第1の供給部は、
第1の操作が前記端末装置に加えられる場合に、前記第1の情報を前記音声認識エンジンに供給し、
前記第1の操作とは異なる第2の操作が前記端末装置に加えられる場合に、前記第2の情報を前記音声認識エンジンに供給する、請求項1に記載のコンピュータプログラム。
【請求項3】
前記コンピュータプログラムは、前記コンピュータを、さらに、
第1のアイコンと第2のアイコンとを含む第2の画面を前記表示部に表示させる第2の表示制御部として機能させ、
前記第1の操作は、前記第2の画面に含まれる前記第1のアイコンを選択する操作を含み、
前記第2の操作は、前記第2の画面に含まれる前記第2のアイコンを選択する操作を含む、請求項2に記載のコンピュータプログラム。
【請求項4】
前記第2の画面に含まれる前記第1のアイコンが操作されることに応じて表示される前記第1の画面は、第3のアイコンを含み、
前記第2の操作は、さらに、前記第1の画面に含まれる前記第3のアイコンを選択する操作を含む、請求項3に記載のコンピュータプログラム。
【請求項5】
前記第3のアイコンは、前記第2のアイコンと同じ形状を有する、請求項4に記載のコンピュータプログラム。
【請求項6】
前記第2の画面に含まれる前記第2のアイコンが操作されることに応じて表示される前記第1の画面は、第4のアイコンを含み、
前記第1の操作は、さらに、前記第1の画面に含まれる前記第4のアイコンを選択する操作を含む、請求項3に記載のコンピュータプログラム。
【請求項7】
前記音声認識エンジンは、前記構音障害を有する複数のユーザに対応する複数の第2の音声認識モデルを備え、
前記第2の情報は、前記構音障害を有する特定のユーザに対応する特定の第2の音声認識モデルを示す情報を含み、
前記取得部は、前記第2の情報が前記音声認識エンジンに供給される場合に、前記特定の第2の音声認識モデルが前記音声認識エンジンによって利用されることに応じて、前記音声認識エンジンから前記第2の文字列データを取得する、請求項1に記載のコンピュータプログラム。
【請求項8】
前記第2の供給部は、
前記構音障害を有さない前記ユーザの第1の音声に対応する第1の音声データを前記音声認識エンジンに供給し、
前記構音障害を有する前記ユーザの第2の音声に対応する第2の音声データを前記音声認識エンジンに供給し、
前記取得部は、
前記音声認識エンジンから、前記第1の音声データに対応する前記第1の文字列データを取得し、
前記音声認識エンジンから、前記第2の音声データに対応する前記第2の文字列データを取得し、
前記第1の表示制御部は、前記第1の文字列データに対応する第1の文字列と、前記第2の文字列データに対応する第2の文字列と、を含む前記第1の画面を前記表示部に表示させる、請求項1に記載のコンピュータプログラム。
【請求項9】
端末装置であって、
構音障害を有さないユーザの音声であるのか、前記構音障害を有するユーザの音声であるのか、を示す情報を音声認識エンジンに供給する第1の供給部と、
音声の入力が検出される場合に、前記音声に対応する音声データを前記音声認識エンジンに供給する第2の供給部と、
前記音声認識エンジンから、前記音声データに対応する文字列データを取得する取得部と、
前記文字列データに対応する文字列を含む第1の画面を前記端末装置の表示部に表示させる第1の表示制御部と、を備え、
前記取得部は、
前記構音障害を有さない前記ユーザの音声に対応する第1の文字列データを要求するための第1の情報が前記音声認識エンジンに供給される場合に、前記構音障害を有さない前記ユーザのための第1の音声認識モデルが前記音声認識エンジンによって利用されることに応じて、前記音声認識エンジンから前記第1の文字列データを取得し、
前記構音障害を有する前記ユーザの音声に対応する第2の文字列データを要求するための第2の情報が前記音声認識エンジンに供給される場合に、前記構音障害を有する前記ユーザのための第2の音声認識モデルが前記音声認識エンジンによって利用されることに応じて、前記音声認識エンジンから前記第2の文字列データを取得する、端末装置。
【請求項10】
端末装置によって実行される方法であって、
構音障害を有さないユーザの音声であるのか、前記構音障害を有するユーザの音声であるのか、を示す情報を音声認識エンジンに供給する第1の供給工程と、
音声の入力が検出される場合に、前記音声に対応する音声データを前記音声認識エンジンに供給する第2の供給工程と、
前記音声認識エンジンから、前記音声データに対応する文字列データを取得する取得工程と、
前記文字列データに対応する文字列を含む第1の画面を前記端末装置の表示部に表示させる第1の表示制御工程と、を備え、
前記取得工程は、
前記構音障害を有さない前記ユーザの音声に対応する第1の文字列データを要求するための第1の情報が前記音声認識エンジンに供給される場合に、前記構音障害を有さない前記ユーザのための第1の音声認識モデルが前記音声認識エンジンによって利用されることに応じて、前記音声認識エンジンから前記第1の文字列データを取得し、
前記構音障害を有する前記ユーザの音声に対応する第2の文字列データを要求するための第2の情報が前記音声認識エンジンに供給される場合に、前記構音障害を有する前記ユーザのための第2の音声認識モデルが前記音声認識エンジンによって利用されることに応じて、前記音声認識エンジンから前記第2の文字列データを取得する、方法。
発明の詳細な説明
【技術分野】
【0001】
本明細書は、音声認識に関する技術を開示する。
続きを表示(約 1,800 文字)
【背景技術】
【0002】
特許文献1には、音声を認識して文字列を表示するアプリケーションが開示されている。
【先行技術文献】
【特許文献】
【0003】
特開2019-016206号公報
【発明の概要】
【発明が解決しようとする課題】
【0004】
上記の技術では、構音障害を有さないユーザと構音障害を有するユーザとを区別して音声を認識することについて何ら開示されていない。本明細書では、構音障害を有さないユーザと構音障害を有するユーザとのそれぞれの音声を文字列として適切に表示することが可能な技術を提供する。
【課題を解決するための手段】
【0005】
本明細書は、端末装置のためのコンピュータプログラムを開示する。コンピュータプログラムは、前記端末装置のコンピュータを、以下の各部、即ち、構音障害を有さないユーザの音声であるのか、前記構音障害を有するユーザの音声であるのか、を示す情報を音声認識エンジンに供給する第1の供給部と、音声の入力が検出される場合に、前記音声に対応する音声データを前記音声認識エンジンに供給する第2の供給部と、前記音声認識エンジンから、前記音声データに対応する文字列データを取得する取得部と、前記文字列データに対応する文字列を含む第1の画面を前記端末装置の表示部に表示させる第1の表示制御部と、として機能させてもよい。前記取得部は、前記構音障害を有さない前記ユーザの音声に対応する第1の文字列データを要求するための第1の情報が前記音声認識エンジンに供給される場合に、前記構音障害を有さない前記ユーザのための第1の音声認識モデルが前記音声認識エンジンによって利用されることに応じて、前記音声認識エンジンから前記第1の文字列データを取得し、前記構音障害を有する前記ユーザの音声に対応する第2の文字列データを要求するための第2の情報が前記音声認識エンジンに供給される場合に、前記構音障害を有する前記ユーザのための第2の音声認識モデルが前記音声認識エンジンによって利用されることに応じて、前記音声認識エンジンから前記第2の文字列データを取得してもよい。
【0006】
上記の構成によると、端末装置は、構音障害を有さないユーザの音声に対応する第1の文字列データを要求するための第1の情報と、構音障害を有するユーザの音声に対応する第2の文字列データを要求するための第2の情報と、のいずれかを音声認識エンジンに供給するので、ユーザに応じた適切な音声認識結果を取得することができる。このために、端末装置は、構音障害を有さないユーザと構音障害を有するユーザとのそれぞれの音声を文字列として適切に表示することができる。
【0007】
上記のコンピュータプログラムを格納するコンピュータ読取可能記録媒体も新規で有用である。また、上記の端末装置そのもの及び上記の端末装置によって実行される方法も新規で有用である。また、上記の端末装置と音声認識エンジンとを含む通信システムも新規で有用である。
【図面の簡単な説明】
【0008】
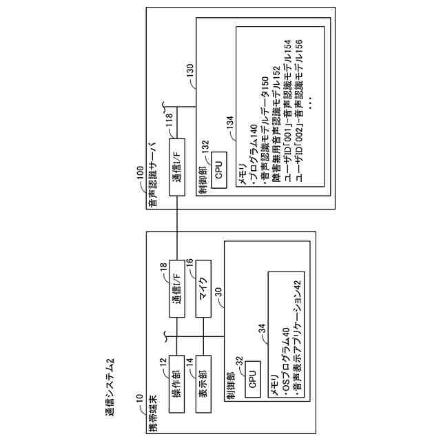
通信システムの構成を示す。
携帯端末と音声認識サーバとによって実行される各処理のシーケンス図を示す。
ケースBのシーケンス図を示す。
携帯端末に表示される画面の一例を示す。
【発明を実施するための形態】
【0009】
(通信システム2の構成:図1)
図1に示されるように、通信システム2は、携帯端末10と音声認識サーバ100とを備える。本実施例では、携帯端末10が、構音障害を有さないユーザと構音障害を有するユーザとのそれぞれの音声に対応する文字列を表示するための技術を開示する。
【0010】
(携帯端末10の構成)
携帯端末10は、スマートフォン、タブレットPC、携帯電話等の可搬型のユーザ端末装置である。変形例では、携帯端末10に代えて、据置型のユーザ端末装置が利用されてもよい。携帯端末10は、操作部12と表示部14とマイク16と通信インターフェース18と制御部30とを備える。
(【0011】以降は省略されています)
この特許をJ-PlatPat(特許庁公式サイト)で参照する
関連特許
ブラザー工業株式会社
画像形成装置
1日前
ブラザー工業株式会社
画像形成装置
1日前
ブラザー工業株式会社
液体吐出ヘッド
1日前
ブラザー工業株式会社
仮想プリンタ管理プログラム
1日前
ブラザー工業株式会社
画像形成装置及び画像形成システム
1日前
ブラザー工業株式会社
画像処理プログラム及び情報処理装置
1日前
ブラザー工業株式会社
情報処理プログラム及び情報処理装置
1日前
ブラザー工業株式会社
プリンタ及びプリンタのためのコンピュータプログラム
1日前
ブラザー工業株式会社
管理プログラム、管理装置、管理方法、管理システム、実行プログラム、画像形成装置、及び実行方法
1日前
ブラザー工業株式会社
画像処理装置、画像処理装置のためのコンピュータプログラム、画像処理装置の制御方法、及び、端末装置のためのコンピュータプログラム
1日前
個人
破裂爆発波動体感バルーン
1か月前
株式会社白鳩
音漏れ抑制マスク
1か月前
株式会社白鳩
音漏れ抑制マスク
1か月前
株式会社豊田中央研究所
吸音構造体
5日前
本田技研工業株式会社
車室環境制御装置
1日前
川崎重工業株式会社
表面材
1か月前
株式会社東芝
吸音装置
3日前
日本音響エンジニアリング株式会社
騒音低減装置
1か月前
株式会社イノアックコーポレーション
吸音材
24日前
株式会社フジタ
環境音快音化システム
1か月前
個人
歌唱技術表示装置および歌唱技術表示方法
1か月前
積水樹脂株式会社
吸音シート
1日前
株式会社第一興商
カラオケ装置
1日前
KDDI株式会社
認証装置、認証方法及び認証プログラム
24日前
株式会社第一興商
カラオケ装置
1か月前
株式会社第一興商
カラオケ装置
5日前
株式会社第一興商
カラオケ装置
25日前
カシオ計算機株式会社
減音器具
3日前
カシオ計算機株式会社
減音器具
3日前
個人
楽曲検索装置、楽曲検索方法、及び楽曲検索プログラム
1か月前
中原大學
能動騒音除去機能を持つレンジフード
5日前
カシオ計算機株式会社
電子鍵盤楽器
1日前
トヨタ自動車株式会社
電気自動車
25日前
株式会社JVCケンウッド
クリッピング装置及びクリッピング方法
5日前
カシオ計算機株式会社
電子楽器、電子楽器の制御方法及びプログラム
1日前
トヨタ自動車株式会社
運転者認知機能改善システム
1日前
続きを見る
他の特許を見る