TOP
|
特許
|
意匠
|
商標
特許ウォッチ
Twitter
他の特許を見る
公開番号
2025145895
公報種別
公開特許公報(A)
公開日
2025-10-03
出願番号
2024046378
出願日
2024-03-22
発明の名称
画像処理装置、画像処理装置のためのコンピュータプログラム、画像処理装置の制御方法、及び、端末装置のためのコンピュータプログラム
出願人
ブラザー工業株式会社
代理人
弁理士法人 快友国際特許事務所
主分類
H04N
1/00 20060101AFI20250926BHJP(電気通信技術)
要約
【課題】ファームウェアの更新についてユーザの利便性を向上させるための技術を提供する。
【解決手段】画像処理装置は、ファームウェアを記憶するメモリと、前記ファームウェアを更新する予定の時間である更新時間を決定する決定部と、決定された前記更新時間を表示部に表示させる第1の表示制御部と、決定された前記更新時間が到来する前に前記ファームウェアを更新する特定の指示の入力を受け付ける入力受付部と、を備える。
【選択図】図2
特許請求の範囲
【請求項1】
画像処理装置であって、
ファームウェアを記憶するメモリと、
前記ファームウェアを更新する予定の時間である更新時間を決定する決定部と、
決定された前記更新時間を表示部に表示させる第1の表示制御部と、
決定された前記更新時間が到来する前に前記ファームウェアを更新する特定の指示の入力を受け付ける入力受付部と、
を備える、画像処理装置。
続きを表示(約 1,800 文字)
【請求項2】
前記入力受付部は、前記特定の指示の入力を受け付けるための指示アイコンを前記表示部に表示させる、請求項1に記載の画像処理装置。
【請求項3】
前記入力受付部は、前記画像処理装置を動作させるための操作が行われている場合に、前記指示アイコンを前記表示部に表示させ、
前記画像処理装置を動作させるための前記操作が行われていない場合に、前記指示アイコンは前記表示部に表示されない、請求項2に記載の画像処理装置。
【請求項4】
前記指示アイコンは、前記更新時間よりも短い時間を入力するためのアイコンである、請求項2に記載の画像処理装置。
【請求項5】
前記指示アイコンは、現時点で前記ファームウェアを更新する指示を入力するためのアイコンである、請求項2に記載の画像処理装置。
【請求項6】
前記画像処理装置は、さらに、
前記指示アイコンが選択される場合に、前記指示アイコンが選択されるまでに行われていた操作を示す操作情報を前記メモリに記憶させる記憶制御部と、
前記指示アイコンの選択に応じて、前記ファームウェアの更新が完了した後に、前記メモリ内の前記操作情報によって示される操作に対応する処理を実行する第1の処理実行部と、
を備える、請求項5に記載の画像処理装置。
【請求項7】
前記画像処理装置は、さらに、
前記指示アイコンの選択に応じて、前記ファームウェアの更新が完了した後に、前記メモリ内の前記操作情報によって示される操作に対応する処理を実行するのか否かを確認する確認画面を前記表示部に表示させる第2の表示制御部を備え、
前記第1の処理実行部は、前記確認画面において前記操作情報によって示される操作に対応する処理を実行する指示が入力される場合に、前記メモリ内の前記操作情報によって示される操作に対応する処理を実行する、請求項6に記載の画像処理装置。
【請求項8】
前記入力受付部は、前記指示アイコンに加えて、他の第1のアイコンを前記表示部に表示させ、
前記第1のアイコンは、前記指示アイコンに対応する方法とは異なる方法で、決定された前記更新時間が到来する前に前記ファームウェアを更新する指示を入力するためのアイコンである、請求項2に記載の画像処理装置。
【請求項9】
前記入力受付部は、決定された前記更新時間が到来するまでの時間が所定時間未満である場合に、前記指示アイコンに加えて、他の第2のアイコンを前記表示部に表示させ、
前記指示アイコンは、現時点で前記ファームウェアを更新する指示を入力するためのアイコン及び前記更新時間よりも短い時間を入力するためのアイコンのいずれかであり、
前記第2のアイコンは、前記画像処理装置を動作させるための操作が行われている状況において、当該操作に従った処理が完了することに応じて、前記ファームウェアを更新するためのアイコンであり、
前記入力受付部は、決定された前記更新時間が到来するまでの時間が前記所定時間以上である場合に、前記指示アイコンを前記表示部に表示させ、前記第2のアイコンを前記表示部に表示させない、請求項2に記載の画像処理装置。
【請求項10】
前記メモリは、前記更新時間の到来に応じて前記ファームウェアを更新することを示す第1の値と、前記更新時間の到来に応じて前記ファームウェアを更新しないことを示す第2の値と、のいずれかを示す特定の設定値を記憶し、
前記特定の設定値が前記第1の値を示す場合に、前記第1の表示制御部が前記更新時間を前記表示部に表示させるとともに、前記入力受付部が前記指示アイコンを前記表示部に表示させ、
前記画像処理装置は、さらに、
前記特定の設定値が前記第2の値を示す場合に、前記更新時間及び前記指示アイコンに代えて、前記ファームウェアを更新する指示を入力するための更新アイコンを前記表示部に表示させる第3の表示制御部と、
前記更新アイコンが選択される場合に、前記ファームウェアを更新する第2の更新部と、
を備える、請求項2に記載の画像処理装置。
(【請求項11】以降は省略されています)
発明の詳細な説明
【技術分野】
【0001】
本明細書は、画像処理装置のファームウェアを更新する技術に関する。
続きを表示(約 1,300 文字)
【背景技術】
【0002】
特許文献1には、画像処理装置のファームウェアを更新するメッセージを表示する画像処理装置が開示されている。当該メッセージは、ファームウェアが更新される予定の日時を含む。
【先行技術文献】
【特許文献】
【0003】
特開2017-16393号公報
特開2004-139572号公報
【発明の概要】
【発明が解決しようとする課題】
【0004】
本明細書では、ファームウェアの更新についてユーザの利便性を向上させるための技術を提供する。
【課題を解決するための手段】
【0005】
本明細書で開示する画像処理装置は、ファームウェアを記憶するメモリと、前記ファームウェアを更新する予定の時間である更新時間を決定する決定部と、決定された前記更新時間を表示部に表示させる第1の表示制御部と、決定された前記更新時間が到来する前に前記ファームウェアを更新する特定の指示の入力を受け付ける入力受付部と、を備える。
【0006】
上記の構成によれば、更新時間の決定によりファームウェアの更新忘れが抑制されるとともに、特定の指示により更新時間よりも早いタイミングでファームウェアを更新することができる。
【0007】
上記の画像処理装置を実現するためのコンピュータプログラム、当該コンピュータプログラムを記憶するコンピュータ可読記憶媒体も新規で有用である。また、上記の画像処理装置の制御方法も新規で有用である。
【0008】
本明細書では、端末装置のためのコンピュータプログラムも開示する。前記端末装置は、コンピュータと、表示部と、を備え、前記コンピュータプログラムは、前記コンピュータを、以下の各部、前記端末装置とは異なる画像処理装置のファームウェアを更新する予定の時間である更新時間を決定する決定部と、前記更新時間を前記表示部に表示させる表示制御部と、決定された前記更新時間が到来する前に前記ファームウェアを更新する特定の指示の入力を受け付ける入力受付部と、として機能させる。
【0009】
上記の構成でも、更新時間の決定によりファームウェアの更新忘れが抑制されるとともに、特定の指示により更新時間よりも早いタイミングでファームウェアを更新することができる。上記のコンピュータプログラムを記憶するコンピュータ可読記憶媒体、上記の端末装置自体、及び、上記の端末装置の制御方法も新規で有用である。
【図面の簡単な説明】
【0010】
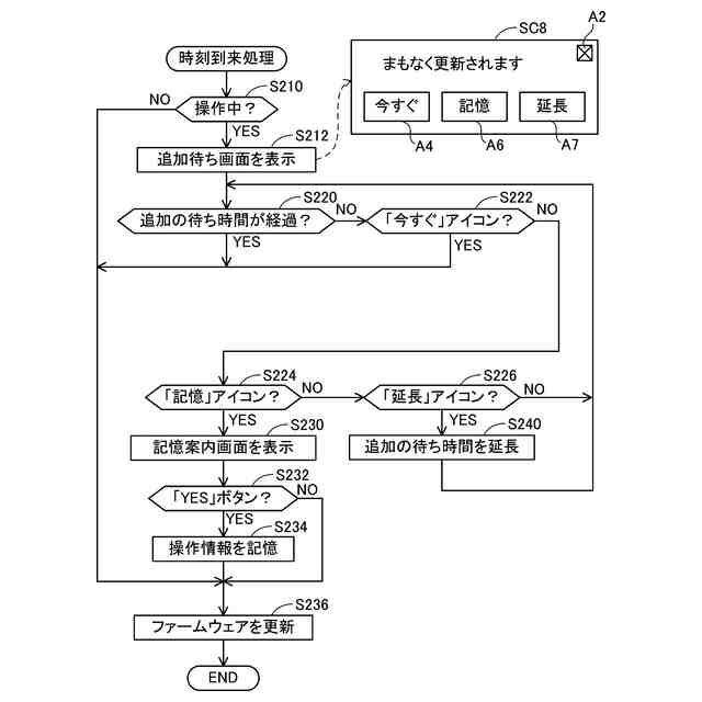
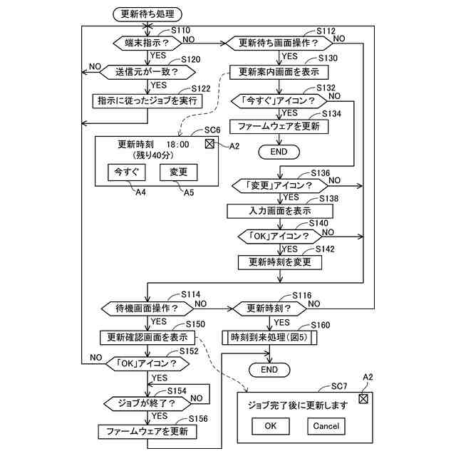
図1は、通信システムのブロック図である。
図2は、更新処理のフローチャート図である。
図3は、画面操作処理のフローチャート図である。
図4は、更新待ち処理のフローチャート図である。
図5は、時刻到来処理のフローチャート図である。
図6は、再起動時の処理のフローチャート図である。
図7は、通信システムのブロック図である。
【発明を実施するための形態】
(【0011】以降は省略されています)
この特許をJ-PlatPat(特許庁公式サイト)で参照する
関連特許
ブラザー工業株式会社
複合機
26日前
ブラザー工業株式会社
空調機
16日前
ブラザー工業株式会社
空調機
16日前
ブラザー工業株式会社
空調機
16日前
ブラザー工業株式会社
空調機
16日前
ブラザー工業株式会社
空調機
16日前
ブラザー工業株式会社
制御装置
6日前
ブラザー工業株式会社
定着装置
18日前
ブラザー工業株式会社
搬送装置
4日前
ブラザー工業株式会社
カセット
16日前
ブラザー工業株式会社
カセット
16日前
ブラザー工業株式会社
カセット
16日前
ブラザー工業株式会社
カセット
16日前
ブラザー工業株式会社
工作機械
25日前
ブラザー工業株式会社
定着装置
25日前
ブラザー工業株式会社
定着装置
25日前
ブラザー工業株式会社
定着装置
25日前
ブラザー工業株式会社
画像形成装置
24日前
ブラザー工業株式会社
画像形成装置
16日前
ブラザー工業株式会社
画像形成装置
10日前
ブラザー工業株式会社
液体吐出装置
10日前
ブラザー工業株式会社
液体吐出装置
10日前
ブラザー工業株式会社
画像形成装置
2日前
ブラザー工業株式会社
画像形成装置
16日前
ブラザー工業株式会社
画像形成装置
26日前
ブラザー工業株式会社
画像形成装置
16日前
ブラザー工業株式会社
画像形成装置
26日前
ブラザー工業株式会社
画像形成装置
18日前
ブラザー工業株式会社
画像形成装置
26日前
ブラザー工業株式会社
画像形成装置
25日前
ブラザー工業株式会社
画像形成装置
25日前
ブラザー工業株式会社
画像形成装置
6日前
ブラザー工業株式会社
画像形成装置
2日前
ブラザー工業株式会社
画像形成装置
26日前
ブラザー工業株式会社
画像形成装置
2日前
ブラザー工業株式会社
画像形成装置
3日前
続きを見る
他の特許を見る