TOP
|
特許
|
意匠
|
商標
特許ウォッチ
Twitter
他の特許を見る
10個以上の画像は省略されています。
公開番号
2025138192
公報種別
公開特許公報(A)
公開日
2025-09-25
出願番号
2024037126
出願日
2024-03-11
発明の名称
液体吐出装置
出願人
ブラザー工業株式会社
代理人
弁理士法人有古特許事務所
主分類
B41J
2/01 20060101AFI20250917BHJP(印刷;線画機;タイプライター;スタンプ)
要約
【課題】 画像の濃度や粒状性、および、印刷時間や画像の色味について、バランスよく向上を図ることができる液体吐出装置、その制御方法、および、コンピュータプログラムを提供する。
【解決手段】 液体吐出装置の制御部30は、1パス分の部分画像を、吐出ヘッド10を第1方向のうち一方に移動させる間にのみ液体を吐出させて形成する第1印刷処理と、1パス分の部分画像を、吐出ヘッド10を第1方向のうち一方および他方へ移動させる間に液体を吐出させて形成する第2印刷処理と、第1印刷処理および第2印刷処理のいずれを実行するかの選択を行う選択処理と、を実行する。選択処理では、部分画像の色味が所定の第1条件を満たすか否かを判断する第1判断処理(S16~S23)と、ノズルから吐出される液体のサイズ、および、被記録媒体上の着弾位置が、所定の第2条件を満たすか否かを判断する第2判断処理(S4~S6)と、の結果に基づいて選択を行う。
【選択図】 図2
特許請求の範囲
【請求項1】
ノズルが形成されたノズル面を有する吐出ヘッドと、
前記吐出ヘッドを支持し、前記吐出ヘッドと共に第1方向へ往復移動する移動部と、
制御部と、を備え、
前記制御部は、
1パス分の部分画像を、前記移動部により前記吐出ヘッドを前記第1方向のうち一方に移動させる間にのみ液体を吐出させて形成する第1印刷処理と、
1パス分の部分画像を、前記移動部により前記吐出ヘッドを前記第1方向のうち一方および他方へ移動させる間に液体を吐出させて形成する第2印刷処理と、
前記第1印刷処理および前記第2印刷処理のいずれを実行するかの選択を行う選択処理と、を実行し、
前記選択処理では、
第1画像データから得られる前記部分画像の色味が所定の第1条件を満たすか否かを判断する第1判断処理と、
前記第1画像データをハーフトーン処理した第2画像データから得られる、前記ノズルから吐出される液体のサイズ、および、前記被記録媒体上の着弾位置が、所定の第2条件を満たすか否かを判断する第2判断処理と、
の結果に基づいて前記選択を行う、
液体吐出装置。
続きを表示(約 1,500 文字)
【請求項2】
前記制御部は、
前記第1判断処理において、前記第1画像データを構成する各画素のRGB値に設定された、前記第1印刷処理を実行した場合の画像と前記第2印刷処理を実行した場合の画像との色味の違いの大きさに関する重み値が所定の閾値以上となる場合、前記第1条件を満たすと判断する、
請求項1に記載の液体吐出装置。
【請求項3】
前記制御部は、前記第1判断処理において、
前記部分画像を複数のブロックに分割し、
複数の前記ブロックのそれぞれについて、前記重み値の代表値である代表重み値を取得し、
前記代表重み値が前記閾値以上である場合に前記第1条件を満たすと判断する、
請求項2に記載の液体吐出装置。
【請求項4】
前記制御部は、
前記第2判断処理において、前記第2画像データ中の大滴に対する小滴の配置が不均等である場合、前記第2条件を満たすと判断する、
請求項1に記載の液体吐出装置。
【請求項5】
前記制御部は、
前記第2判断処理において、大滴に対応する画素である大滴画素の周りであって前記大滴画素に隣接する位置に、小滴に対応する画素である小滴画素が、前記大滴画素を中心として回転対称に2つ以上配置されている場合には、前記大滴に対する前記小滴の配置を均等と判断し、前記小滴画素が前記大滴画素を中心として回転対称に2つ以上配置されていない場合には不均等と判断する、
請求項4に記載の液体吐出装置。
【請求項6】
前記制御部は、
前記選択処理において、前記第2判断処理を実行した後に前記第1判断処理を実行する、
請求項1に記載の液体吐出装置。
【請求項7】
前記制御部は、
前記第2判断処理において、前記第2画像データ中の大滴に対する小滴の配置が不均等であることで前記2条件を満たすと判断した場合にはフラグをオンとし、
前記フラグがオンの場合に前記第1判断処理において、前記第1画像データを構成する各画素のRGB値に設定された、前記第1印刷処理を実行した場合の画像と前記第2印刷処理を実行した場合の画像との色味の違いの大きさに関する重み値が所定の閾値以上か否かを判断する、
請求項6に記載の液体吐出装置。
【請求項8】
前記制御部は、
前記選択処理において、前記第1判断処理を実行した後に前記第2判断処理を実行する、
請求項1に記載の液体吐出装置。
【請求項9】
前記制御部は、
前記第1判断処理において、前記第1画像データを構成する各画素のRGB値に設定された、前記第1印刷処理を実行した場合の画像と前記第2印刷処理を実行した場合の画像との色味の違いの大きさに関する重み値が所定の閾値未満であることで前記第1条件を満たさないと判断した場合に、前記第1画像データをハーフトーン処理して前記第2画像データを生成し、
前記第1画像データをハーフトーン処理して前記第2画像データを生成した後、前記第2判断処理を実行する、
請求項8に記載の液体吐出装置。
【請求項10】
前記制御部は、
前記第2判断処理において、前記第2画像データ中の大滴に対する小滴の配置が不均等であると判断した場合にはフラグをオンとし、
前記フラグがオンの場合に前記選択処理において前記第2印刷処理を選択する、
請求項7に記載の液体吐出装置。
(【請求項11】以降は省略されています)
発明の詳細な説明
【技術分野】
【0001】
本開示は、液体を吐出する液体吐出装置に関する。
続きを表示(約 2,200 文字)
【背景技術】
【0002】
従来の液体吐出装置として、特許文献1に示すようなプリンタがある。このプリンタは、キャリッジに設けられた記録ヘッドを往復移動させながらインクを吐出して画像を形成するシリアル型のインクジェットプリンタである。
【先行技術文献】
【特許文献】
【0003】
特開2009-298061号公報
【発明の概要】
【発明が解決しようとする課題】
【0004】
ところで、吐出した液滴を着弾させて被記録媒体上に画像を形成するインクジェットプリンタでは、被記録媒体上で隣接する液滴間の表面張力により液滴の位置ズレが生じうる。液滴の位置ズレが生じると、画像の色の濃度が低下したり、画像表面の粒状性が低下したりする場合がある。これに対し、隣接する液滴を異なる走査(例えば、往路および復路)に分けて吐出すれば、位置ズレの発生を抑制することができる。しかしながら、この場合、印刷時間が長くなるとともに、1つの走査で吐出する場合と2以上の走査に分けて吐出する場合とでは、被記録媒体上での液滴の重なる順序が異なってしまい画像の色味に影響する可能性がある。
【0005】
そこで本発明は、画像の濃度や粒状性、および、印刷時間や画像の色味について、バランスよく向上を図ることができる液体吐出装置、その制御方法、および、コンピュータプログラムを提供することを目的とする。
【課題を解決するための手段】
【0006】
本開示の第1の態様に係る液体吐出装置は、第1画像データに基づいて被記録媒体に液体を吐出するノズルが形成されたノズル面を有する吐出ヘッドと、前記吐出ヘッドを支持し、前記吐出ヘッドと共に第1方向へ往復移動する移動部と、制御部と、を備え、前記制御部は、1パス分の部分画像を、前記移動部により前記吐出ヘッドを前記第1方向のうち一方に移動させる間にのみ液体を吐出させて形成する第1印刷処理と、1パス分の部分画像を、前記移動部により前記吐出ヘッドを前記第1方向のうち一方および他方へ移動させる間に液体を吐出させて形成する第2印刷処理と、前記第1印刷処理および前記第2印刷処理のいずれを実行するかの選択を行う選択処理と、を実行し、前記選択処理では、前記第1画像データから得られる前記部分画像の色味が所定の第1条件を満たすか否かを判断する第1判断処理と、前記第1画像データをハーフトーン処理した第2画像データから得られる、前記ノズルから吐出される液体のサイズ、および、前記被記録媒体上の着弾位置が、所定の第2条件を満たすか否かを判断する第2判断処理と、の結果に基づいて前記選択を行う。
【発明の効果】
【0007】
本開示に係る液体吐出装置によれば、第1判断処理により画像の色味への影響を判断すると共に、第2判断処理により画像の濃度および粒状性への影響を判断し、これらの結果に基づいて1回の走査で印刷する第1印刷処理を実行するか2回の走査に分けて印刷する第2印刷処理を実行するかを選択する。従って、このようにして第1印刷処理および第2印刷処理の何れかを選択することで、画像の濃度や粒状性、および、印刷時間や画像の色味について、バランスよく向上を図ることができる。
【図面の簡単な説明】
【0008】
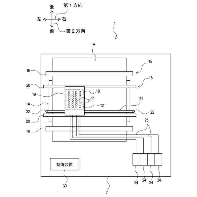
図1は、本開示に係る液体吐出装置の模式図である。
図2は、液体吐出装置の機能的構成を示すブロック図である。
図3A~図3Cは、容量の大きい大滴のインクの周りに不均等に小滴のインクが位置する場合を説明するための模式図である。
図4は、大滴のインクに対して小滴のインクが均等に配置されている例を示す模式図である。
図5A~図5Dは、印刷処理の動作例1を説明するための模式図である。
図6は、印刷処理の動作例1を示す一連のフローチャートである。
図7は、印刷処理の動作例1を示す一連のフローチャートである。
図8は、印刷処理の動作例1を示す一連のフローチャートである。
図9A~図9Dは、印刷処理の動作例2を説明するための模式図である。
図10は、印刷処理の動作例2を示す一連のフローチャートである。
図11は、印刷処理の動作例2を示す一連のフローチャートである。
図12は、印刷処理の動作例2を示す一連のフローチャートである。
図13は、印刷処理の動作例2を示す一連のフローチャートである。
【発明を実施するための形態】
【0009】
以下、本開示に係る液体吐出装置の実施の形態を、図面を参照しながら具体的に説明する。なお、以下では、全ての図面を通じて同一又は対応する要素には同一の参照符号を付することとし、重複した説明を省略する。
【0010】
(液体吐出装置の構成)
図1は本開示に係る液体吐出装置1の模式図である。液体吐出装置1は、画像データに基づいて吐出ヘッド10から吐出した液体により被記録媒体A上に画像を印刷する。このような液体吐出装置1として、以下ではインクを吐出するインクジェットプリンタに適用した例について説明する。
(【0011】以降は省略されています)
この特許をJ-PlatPat(特許庁公式サイト)で参照する
関連特許
ブラザー工業株式会社
搬送装置
1日前
ブラザー工業株式会社
制御装置
3日前
ブラザー工業株式会社
画像形成装置
今日
ブラザー工業株式会社
画像形成装置
7日前
ブラザー工業株式会社
画像形成装置
3日前
ブラザー工業株式会社
液体吐出ヘッド
3日前
ブラザー工業株式会社
サポートプログラム
6日前
ブラザー工業株式会社
システム及び管理装置
1日前
ブラザー工業株式会社
システム及びプログラム
1日前
ブラザー工業株式会社
システム及びプログラム
1日前
ブラザー工業株式会社
システムおよび画像形成装置
7日前
ブラザー工業株式会社
プログラム及び情報処理装置
3日前
ブラザー工業株式会社
プリンタ、及び切断ユニット
3日前
ブラザー工業株式会社
カシメ装置及び缶製品作製装置
7日前
ブラザー工業株式会社
プログラムおよび情報処理装置
3日前
ブラザー工業株式会社
回転継手装置、モータ、及び工作機械
7日前
ブラザー工業株式会社
情報処理プログラム及び情報処理装置
今日
ブラザー工業株式会社
トナーカートリッジのリサイクル方法
今日
ブラザー工業株式会社
プログラム、および、データ処理装置
3日前
ブラザー工業株式会社
画像処理プログラム及び情報処理装置
3日前
ブラザー工業株式会社
画像処理装置、画像処理方法、および、プログラム
3日前
ブラザー工業株式会社
画像処理プログラム、情報処理装置、及び画像処理方法
3日前
ブラザー工業株式会社
通信装置及び通信装置のためのコンピュータプログラム
3日前
ブラザー工業株式会社
サポートプログラム
2日前
ブラザー工業株式会社
通信装置、画像処理装置、及びそれらのためのコンピュータプログラム
3日前
ブラザー工業株式会社
通信装置、画像処理装置、及びそれらのためのコンピュータプログラム
3日前
ブラザー工業株式会社
通信装置、通信装置のためのコンピュータプログラム、及び、通信装置によって実行される方法
3日前
ブラザー工業株式会社
通信装置、通信装置のためのコンピュータプログラム、及び、通信装置によって実行される方法
3日前
ブラザー工業株式会社
通信装置及び通信装置のためのコンピュータプログラム
2日前
個人
箔熱転写装置
22日前
シヤチハタ株式会社
印判
4か月前
東レ株式会社
凸版印刷版原版
9か月前
シヤチハタ株式会社
反転式印判
8か月前
独立行政法人 国立印刷局
印刷物
6か月前
キヤノン株式会社
記録装置
15日前
三光株式会社
感熱記録材料
5か月前
続きを見る
他の特許を見る