TOP
|
特許
|
意匠
|
商標
特許ウォッチ
Twitter
他の特許を見る
公開番号
2025140289
公報種別
公開特許公報(A)
公開日
2025-09-29
出願番号
2024039594
出願日
2024-03-14
発明の名称
画像形成装置
出願人
ブラザー工業株式会社
代理人
弁理士法人ATEN
主分類
H04N
1/00 20060101AFI20250919BHJP(電気通信技術)
要約
【課題】従来よりも効果的に画像形成の迅速化を図る。
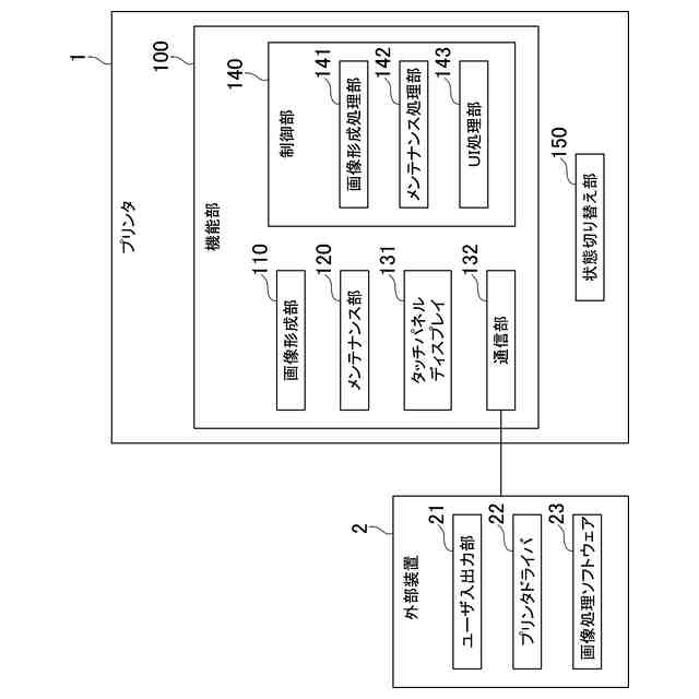
【解決手段】プリンタ1は、画像形成部110、メンテナンス部120、制御部140等を有する機能部100と、機能部100の構成要素の少なくとも一部について休止状態と稼働状態とを切り替える状態切り替え部150とを有している。これらの構成要素の一部が休止状態にある機能部100のスリープ状態の時に、通信部132が外部装置2から機能の問い合わせを受信すると、状態切り替え部150が機能部100の構成要素を休止状態から稼働状態に切り替える。
【選択図】図1
特許請求の範囲
【請求項1】
媒体に画像を形成する画像形成動作を行う画像形成部と、外部装置と通信する通信部と、前記画像形成部及び前記通信部を制御する制御部とを少なくとも構成するハードウェア及びソフトウェアからなる機能部と、
前記機能部の少なくとも一部について休止状態と稼働状態とを切り替える状態切り替え部とを備えており、
前記制御部は、
前記機能部の機能に関する問い合わせを前記通信部が前記外部装置から受信した際に、前記問い合わせに対する応答を前記通信部に前記外部装置へと送信させる応答処理と、
前記通信部による前記問い合わせの受信後に、前記画像形成動作に関する指示を前記通信部が前記外部装置から取得した際に、前記外部装置からの前記指示に従って前記画像形成動作を前記画像形成部に行わせる画像形成処理とを実行し、
前記状態切り替え部は、
前記通信部による前記問い合わせの受信があった場合に、前記機能部の少なくとも一部を前記休止状態から前記稼働状態に切り替える処理を、前記通信部による前記指示の受信前に開始するように行う機能復帰処理と、
前記画像形成動作の完了後に、前記機能部の少なくとも一部を前記稼働状態から前記休止状態に切り替える機能休止処理とを実行することを特徴とする画像形成装置。
続きを表示(約 830 文字)
【請求項2】
前記機能復帰処理は、
前記機能部の一部である第1部分を前記休止状態から前記稼働状態に切り替える第1切り替え処理と、
前記第1切り替え処理後に、前記機能部の他の一部である第2部分を前記休止状態から前記稼働状態に切り替える第2切り替え処理とを含んでいることを特徴とする請求項1に記載の画像形成装置。
【請求項3】
前記機能部が、前記第2部分として画面表示部を含んでおり、
前記画面表示部における画面表示は、前記稼働状態においてオンであり前記休止状態においてオフであることを特徴とする請求項2に記載の画像形成装置。
【請求項4】
前記第1部分が前記稼働状態において単位時間当たりに消費する電力が、前記第2部分が前記稼働状態において単位時間当たりに消費する電力より小さいことを特徴とする請求項2に記載の画像形成装置。
【請求項5】
前記機能部が、前記第2部分として前記画像形成部の一部及び前記画像形成部のメンテナンス動作を行う部分の少なくともいずれかを含んでおり、
前記メンテナンス動作を行う部分は、前記稼働状態において前記メンテナンス動作を行い、前記休止状態においてメンテナンス動作を行わないことを特徴とする請求項4に記載の画像形成装置。
【請求項6】
前記機能休止処理は、
前記画像形成動作の完了から第1時間が経過した場合に前記機能部の少なくとも一部を前記稼働状態から前記休止状態に切り替える第1休止処理と、
前記機能復帰処理において前記機能部の少なくとも一部を前記休止状態から前記稼働状態に切り替えてから、前記通信部による前記指示の受信がないまま、前記第1時間より短い第2時間が経過した場合に、前記機能部の少なくとも一部を前記稼働状態から前記休止状態に切り替える第2休止処理とを含んでいることを特徴とする請求項1に記載の画像形成装置。
発明の詳細な説明
【技術分野】
【0001】
本発明は、画像形成装置に関する。
続きを表示(約 1,600 文字)
【背景技術】
【0002】
従来、PC等の外部装置から送られる画像形成の指示に基づいて画像形成を行うプリンタ等の画像形成装置がある。特許文献1の装置はその一例であり、外部装置から画像形成の指示が送られるに当たり画像形成装置に先行動作を実行させる。先行動作は、画像形成の開始前に画像形成のための準備を行う動作である。
【先行技術文献】
【特許文献】
【0003】
特開2023-59889号公報
【発明の概要】
【発明が解決しようとする課題】
【0004】
画像形成装置において、画像形成が行われていない等の適宜の期間に、装置の機能の一部が休止されることがある。この休止状態は、画像形成が開始される前に稼働状態に切り替えられる。画像形成を迅速に実行するためには、状態の切り替えをなるべく早いタイミングで行うことが好ましい。特許文献1を例に挙げた場合、先行動作を契機に状態の切り替えを行うことが考えられる。
【0005】
しかしながら、上記先行動作は、画像形成の指示が発生してから行われる。より早いタイミングで状態の切り替えを行うことで、画像形成の迅速化を実現することが求められている。
【0006】
本発明の目的は、従来よりも効果的に画像形成の迅速化が図られた画像形成装置を実現することにある。
【課題を解決するための手段】
【0007】
本発明の画像形成装置は、媒体に画像を形成する画像形成動作を行う画像形成部と、外部装置と通信する通信部と、前記画像形成部及び前記通信部を制御する制御部とを少なくとも構成するハードウェア及びソフトウェアからなる機能部と、前記機能部の少なくとも一部について休止状態と稼働状態とを切り替える状態切り替え部とを備えており、前記制御部は、前記機能部の機能に関する問い合わせを前記通信部が前記外部装置から受信した際に、前記問い合わせに対する応答を前記通信部に前記外部装置へと送信させる応答処理と、前記通信部による前記問い合わせの受信後に、前記画像形成動作に関する指示を前記通信部が前記外部装置から取得した際に、前記外部装置からの前記指示に従って前記画像形成動作を前記画像形成部に行わせる画像形成処理とを実行し、前記状態切り替え部は、前記通信部による前記問い合わせの受信があった場合に、前記機能部の少なくとも一部を前記休止状態から前記稼働状態に切り替える処理を、前記通信部による前記指示の受信前に開始するように行う機能復帰処理と、前記画像形成動作の完了後に、前記機能部の少なくとも一部を前記稼働状態から前記休止状態に切り替える機能休止処理とを実行する。
【発明の効果】
【0008】
外部装置から画像形成装置に画像形成の指示がなされる前の段階で、画像形成装置の機能に関する問い合わせが外部装置からなされることがある。これは、例えば、外部装置が画像形成装置の機能を把握することで、外部装置においてユーザに機能を選択させることができるようにするためである。
【0009】
本発明は、上記のような外部装置からの機能の問い合わせを契機に機能部の休止状態を稼働状態に切り替える。そして、これにより、画像形成の指示を受信する前に切り替えを開始する。よって、画像形成の指示を受信して画像形成を開始するタイミングを早めることが可能である。よって、従来技術と比べて効果的に画像形成の迅速化が図られる。
【図面の簡単な説明】
【0010】
本発明の一実施形態に係るプリンタの概略構成を示すブロック図である。
画像形成の開始の際に図1のプリンタ及び外部装置が行う処理を示すシーケンス図である。
図1のプリンタにおけるスリープ状態とレディ状態との遷移を示すグラフである。
【発明を実施するための形態】
(【0011】以降は省略されています)
この特許をJ-PlatPat(特許庁公式サイト)で参照する
関連特許
個人
店内配信予約システム
2か月前
サクサ株式会社
中継装置
2か月前
WHISMR合同会社
収音装置
20日前
アイホン株式会社
電気機器
14日前
キヤノン株式会社
撮像装置
1か月前
キヤノン株式会社
電子機器
2か月前
株式会社リコー
画像形成装置
1か月前
キヤノン電子株式会社
画像読取装置
21日前
株式会社リコー
画像形成装置
1か月前
キヤノン電子株式会社
モバイル装置
2か月前
個人
ワイヤレスイヤホン対応耳掛け
12日前
株式会社リコー
画像形成装置
1か月前
株式会社ニコン
撮像装置
2か月前
キヤノン株式会社
撮像システム
14日前
ブラザー工業株式会社
読取装置
1か月前
大日本印刷株式会社
写真撮影装置
13日前
国立大学法人電気通信大学
小型光学装置
1か月前
キヤノン電子株式会社
シート材搬送装置
1か月前
パテントフレア株式会社
水中電波通信法
1か月前
沖電気工業株式会社
画像形成装置
2日前
株式会社松平商会
携帯機器カバー
23日前
DXO株式会社
情報処理システム
2か月前
パテントフレア株式会社
超高速電波通信
28日前
株式会社小糸製作所
画像照射装置
29日前
株式会社JVCケンウッド
スピーカ
21日前
株式会社リコー
画像形成装置
1か月前
日本無線株式会社
無線通信システム
23日前
株式会社オーディオテクニカ
受光器
2か月前
株式会社国際電気
遠隔監視システム
29日前
日本無線株式会社
無線通信システム
1か月前
日本無線株式会社
無線通信システム
6日前
株式会社大林組
監視システム
1か月前
日本無線株式会社
無線通信システム
1か月前
日本無線株式会社
無線通信システム
1か月前
サクサ株式会社
ダウンロード支援装置
1か月前
シャープ株式会社
画像形成装置
1か月前
続きを見る
他の特許を見る