TOP
|
特許
|
意匠
|
商標
特許ウォッチ
Twitter
他の特許を見る
公開番号
2025138265
公報種別
公開特許公報(A)
公開日
2025-09-25
出願番号
2024037256
出願日
2024-03-11
発明の名称
画像形成装置
出願人
ブラザー工業株式会社
代理人
弁理士法人第一テクニカル国際特許事務所
主分類
G03G
21/00 20060101AFI20250917BHJP(写真;映画;光波以外の波を使用する類似技術;電子写真;ホログラフイ)
要約
【課題】新品のドラムカートリッジの感光体ドラムの性能が低下するのを抑制する。
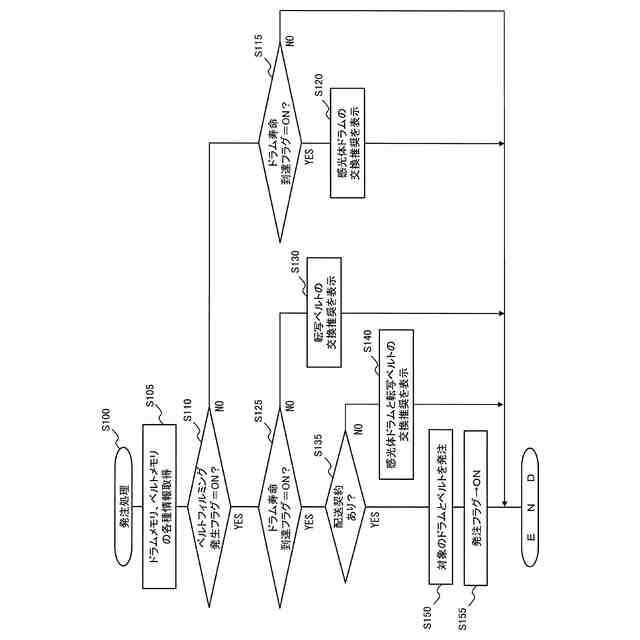
【解決手段】コントローラ100は、感光体ドラム53がドラム寿命に達したか否かを判定するステップS115とステップS125と、転写ベルト73にベルトフィルミングが発生したか否かを判定するステップS110と、ステップS125で感光体ドラム53がドラム寿命に達したと判定され、かつ、ステップS110でベルトフィルミングが発生したと判定された場合に、感光体ドラム53及び転写ベルト73の交換を促す報知を行うステップS140と、を実行する。
【選択図】図5
特許請求の範囲
【請求項1】
筐体と、
前記筐体に着脱可能なドラムカートリッジであって、感光体ドラムを有するドラムカートリッジと、
前記感光体ドラムと接触する転写ベルトを有するベルトユニットと、
コントローラと、
を備え、
前記コントローラは、
前記感光体ドラムの寿命が所定の閾値に達したか否かを判定するドラム判定処理と、
前記転写ベルトにベルトフィルミングが発生したか否かを判定するベルト判定処理と、
前記ドラム判定処理で前記感光体ドラムが寿命に達したと判定され、かつ、前記ベルト判定処理で前記ベルトフィルミングが発生したと判定された場合に、前記ドラムカートリッジ及び前記ベルトユニットの交換を促す表示を行う表示処理と、
を実行する
ことを特徴とする画像形成装置。
続きを表示(約 1,600 文字)
【請求項2】
前記コントローラは、
前記ドラム判定処理において、前記感光体ドラムのドラム累積回転数、又は、前記感光体ドラムを使用して印刷したドラム累積印刷枚数、の少なくとも一方が、前記所定の閾値を超えた場合に、前記寿命に達したと判定する
ことを特徴とする請求項1記載の画像形成装置。
【請求項3】
前記コントローラは、
前記ベルト判定処理において、前記ベルトユニットを用いて印刷したベルト累積印刷枚数と、前記ベルトユニットを用いて印刷したときの条件と、に基いて、前記ベルトフィルミングが発生したか否かを判定する
ことを特徴とする請求項1に記載の画像形成装置。
【請求項4】
前記コントローラは、さらに、
前記ドラムカートリッジが、契約品であるか否かを判定するドラム契約品判定処理
を実行する
ことを特徴とする請求項1記載の画像形成装置。
【請求項5】
前記コントローラは、さらに、
前記ベルトユニットが、契約品であるか否かを判定するベルト契約品判定処理
を実行する
ことを特徴とする請求項4記載の画像形成装置。
【請求項6】
前記コントローラは、さらに、
前記ドラム契約品判定処理において前記ドラムカートリッジが契約品であると判定された場合に、新たな前記ドラムカートリッジが配送済みであるか否かを判定するドラム配送判定処理と、
前記ベルト契約品判定処理において前記ベルトユニットが契約品であると判定された場合に、新たな前記ベルトユニットが配送済みであるか否かを判定するベルト配送判定処理と、
前記ドラム判定処理で前記所定条件に達したと判定され、前記ベルト判定処理で前記ベルトフィルミングが発生したと判定され、前記ドラム配送判定処理において新品の前記ドラムカートリッジが配送済みであると判定され、かつ、前記ベルト配送判定処理において新品のベルトユニットが配送済みであると判定された場合には、前記ドラムカートリッジ及び前記ベルトユニットを用いた印刷を禁止する印刷禁止処理と、
を実行する
ことを特徴とする請求項5記載の画像形成装置。
【請求項7】
前記コントローラは、
前記印刷禁止処理により印刷を禁止した後に、前記報知処理による前記報知を行う
ことを特徴とする請求項6記載の画像形成装置。
【請求項8】
前記コントローラは、さらに、
前記筐体に新品の前記ドラムカートリッジが装着されているか否かを判定する新品ドラム判定処理と、
前記筐体に新品の前記ベルトユニットが装着されているか否かを判定する新品ベルト判定処理
を実行する
ことを特徴とする請求項4記載の画像形成装置。
【請求項9】
前記コントローラは、
前記報知処理による前記報知の後、前記新品ベルト判定処理により新品の前記ベルトユニットが装着されたと判定され、前記新品ドラム判定処理により新品の前記ドラムカートリッジが装着されたと判定されない場合には、再び、前記報知処理を実行する
ことを特徴とする請求項8記載の画像形成装置。
【請求項10】
前記コントローラは、
前記報知処理による前記報知の後、前記新品ドラム判定処理により前記筐体に新品の前記ドラムカートリッジが装着されたと判定され、前記新品ベルト判定処理により前記筐体に新品の前記ベルトユニットが装着されたと判定されない場合には、再び、前記報知処理を実行する
ことを特徴とする請求項8記載の画像形成装置。
(【請求項11】以降は省略されています)
発明の詳細な説明
【技術分野】
【0001】
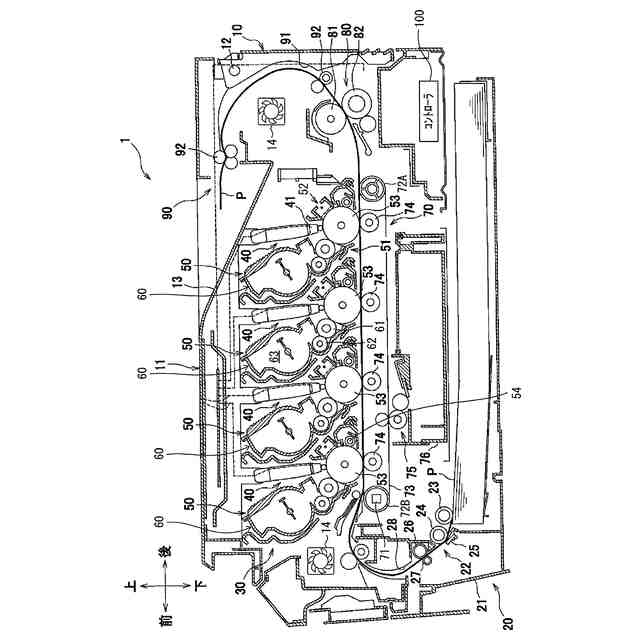
本開示は、感光体ドラムを有するドラムカートリッジ及び転写ベルトを有するベルトユニットを備えた画像形成装置に関する。
続きを表示(約 1,600 文字)
【背景技術】
【0002】
電子写真方式の画像形成装置では、感光体ドラム上にトナー像が形成される。そして、トナー像は、転写ベルトと感光体ドラムによって搬送された用紙上に転写される。それにより、用紙上に画像が形成される。転写ベルトには、印刷枚数が多くなると、紙粉やトナー等の付着物によってフィルム状に覆われる、いわゆるベルトフィルミングが発生する。特許文献1に記載の画像形成装置では、転写ベルトに発生したベルトフィルミングを、光学センサを用いて検知することが開示されている。
【先行技術文献】
【特許文献】
【0003】
特開2016-20970号公報
【発明の概要】
【発明が解決しようとする課題】
【0004】
転写ベルトにベルトフィルミングが発生した状態で、感光体ドラムを有するドラムカートリッジを新品に交換する場合がある。この場合、交換後の新品のドラムカートリッジの感光体ドラムに、転写ベルトに発生したベルトフィルミングに基づく付着物が付着し、新品のドラムカートリッジの感光体ドラムの性能が低下してしまうおそれがある。
【0005】
本開示の目的は、新品のドラムカートリッジの感光体ドラムの性能が低下するのを抑制できる画像形成装置を提供することにある。
【課題を解決するための手段】
【0006】
上記目的を達成するために、本開示の画像形成装置は、筐体と、前記筐体に着脱可能なドラムカートリッジであって、感光体ドラムを有するドラムカートリッジと、前記感光体ドラムと接触する転写ベルトを有するベルトユニットと、コントローラと、を備え、前記コントローラは、前記感光体ドラムが寿命に達したか否かを判定するドラム判定処理と、前記転写ベルトにベルトフィルミングが発生したか否かを判定するベルト判定処理と、前記ドラム判定処理で前記感光体ドラムが寿命に達したと判定され、かつ、前記ベルト判定処理で前記ベルトフィルミングが発生したと判定された場合に、前記ドラムカートリッジ及び前記ベルトユニットの交換を促す表示を行う表示処理と、を実行する。
【0007】
本開示においては、ドラム判定処理において、感光体ドラムが寿命に達したか否かが判定される。ドラム判定処理では、例えば感光体ドラムが交換時期となった場合に、寿命に達したと判定される。ベルト判定処理では転写ベルトにベルトフィルミングが発生したか否かが判定される。
【0008】
感光体ドラムが交換時期となり、かつ、ベルトフィルミングが発生している場合には、表示処理が行われる。表示処理では、ドラムカートリッジとベルトユニットとの両方の交換を促す表示が行われる。そのため、ベルトユニットを交換することなくドラムカートリッジだけを新品に交換してしまうのを抑制することができる。したがって、新品のドラムカートリッジが、ベルトユニットに生じているベルトフィルミングの影響を受けることを抑制することができるので、新品のドラムカートリッジ本の性能を発揮することができる。
【発明の効果】
【0009】
本開示によれば、新品のドラムカートリッジの感光体ドラムの性能が低下するのを抑制できる。
【図面の簡単な説明】
【0010】
実施形態に係る画像形成装置を示す概略図である。
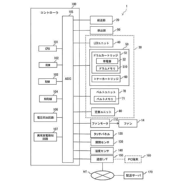
画像形成装置を示すブロック図である。
ドラムメモリに記憶される情報の一例を示す図である。
ベルトメモリに記憶される情報の一例を示す図である。
交換推奨表示の内容を表す図である。
コントローラが実行する発注処理の手順を詳細に表すフローチャートである。
コントローラが実行する配送品交換処理の手順を詳細に表すフローチャートである。
【発明を実施するための形態】
(【0011】以降は省略されています)
この特許をJ-PlatPat(特許庁公式サイト)で参照する
関連特許
ブラザー工業株式会社
複合機
21日前
ブラザー工業株式会社
空調機
11日前
ブラザー工業株式会社
空調機
11日前
ブラザー工業株式会社
空調機
11日前
ブラザー工業株式会社
空調機
11日前
ブラザー工業株式会社
空調機
11日前
ブラザー工業株式会社
カセット
11日前
ブラザー工業株式会社
定着装置
20日前
ブラザー工業株式会社
制御装置
1日前
ブラザー工業株式会社
カセット
11日前
ブラザー工業株式会社
カセット
11日前
ブラザー工業株式会社
カセット
11日前
ブラザー工業株式会社
定着装置
20日前
ブラザー工業株式会社
定着装置
20日前
ブラザー工業株式会社
工作機械
20日前
ブラザー工業株式会社
定着装置
13日前
ブラザー工業株式会社
液体吐出装置
5日前
ブラザー工業株式会社
画像形成装置
20日前
ブラザー工業株式会社
画像形成装置
19日前
ブラザー工業株式会社
画像形成装置
13日前
ブラザー工業株式会社
画像形成装置
11日前
ブラザー工業株式会社
画像形成装置
11日前
ブラザー工業株式会社
画像形成装置
21日前
ブラザー工業株式会社
画像形成装置
21日前
ブラザー工業株式会社
画像形成装置
11日前
ブラザー工業株式会社
画像形成装置
21日前
ブラザー工業株式会社
液体吐出装置
5日前
ブラザー工業株式会社
画像形成装置
21日前
ブラザー工業株式会社
画像形成装置
21日前
ブラザー工業株式会社
画像形成装置
21日前
ブラザー工業株式会社
画像形成装置
5日前
ブラザー工業株式会社
画像形成装置
25日前
ブラザー工業株式会社
画像形成装置
20日前
ブラザー工業株式会社
画像形成装置
1日前
ブラザー工業株式会社
液体吐出ヘッド
12日前
ブラザー工業株式会社
液体吐出ヘッド
12日前
続きを見る
他の特許を見る