TOP
|
特許
|
意匠
|
商標
特許ウォッチ
Twitter
他の特許を見る
10個以上の画像は省略されています。
公開番号
2025129969
公報種別
公開特許公報(A)
公開日
2025-09-05
出願番号
2024026995
出願日
2024-02-26
発明の名称
画像形成装置
出願人
ブラザー工業株式会社
代理人
弁理士法人矢野内外国特許事務所
主分類
G03G
21/16 20060101AFI20250829BHJP(写真;映画;光波以外の波を使用する類似技術;電子写真;ホログラフイ)
要約
【課題】ユーザがベルトのマークを検出するセンサに接触することを抑制可能な画像形成装置を提供する。
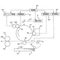
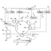
【解決手段】画像形成装置1は、後面開口部2Bを開閉可能なリアカバー23を有する装置本体2と、シートSに画像を形成する画像形成部5と、画像をシートSに定着させる定着器60であって、リアカバー23が開位置にあるときに装置本体2に着脱可能な定着器60と、画像形成部5に対向して配置され、シートSを搬送する転写ベルト41と、転写ベルト41に対向して配置され、画像形成部5によって転写ベルト41に形成されたマークMを検出するセンサユニット7とを備え、定着器60は、転写ベルト41のシート搬送方向における下流に配置され、センサユニット7は、転写ベルト41と定着器60との間に配置され、定着器60を装置本体2から取り外した状態において、センサユニット7を後面開口部2Bから遮蔽する遮蔽シート8を設けた。
【選択図】図9
特許請求の範囲
【請求項1】
開口が形成された側面と、前記開口を開放する開位置と前記開口を閉鎖する閉位置とに移動可能なカバーとを有する装置本体と、
シートに対して複数色の現像剤を転写して画像を形成する画像形成部と、
シートに転写された画像をシートに定着させる定着器であって、前記カバーが開位置にあるときに前記開口を通じて前記装置本体に着脱可能な定着器と、
前記画像形成部に対向して配置され、前記画像形成部によって画像が形成されたシートを搬送するベルトと、
前記ベルトに対向して配置され、前記画像形成部によって前記ベルトに形成されたマークを検出するベルトマーク検出センサと、
を備え、
前記定着器は、前記ベルトのシート搬送方向における下流に配置され、
前記ベルトマーク検出センサは、前記ベルトと前記定着器との間に配置され、
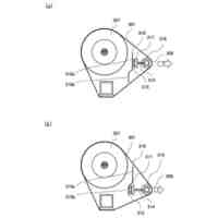
前記定着器を前記装置本体から取り外した状態において、前記ベルトマーク検出センサを前記開口から遮蔽する遮蔽部材を設けた画像形成装置。
続きを表示(約 950 文字)
【請求項2】
前記遮蔽部材は、シート状に形成される請求項1に記載の画像形成装置。
【請求項3】
前記遮蔽部材は、絶縁性を有する樹脂シートである請求項2に記載の画像形成装置。
【請求項4】
前記遮蔽部材は、難燃性を有する樹脂シートである請求項2に記載の画像形成装置。
【請求項5】
前記遮蔽部材は、遮光性を有する樹脂シートである請求項2に記載の画像形成装置。
【請求項6】
前記遮蔽部材は、黒色の樹脂シートである請求項5に記載の画像形成装置。
【請求項7】
前記装置本体は、前記装置本体に装着された前記定着器の下方に位置し、回路基板を覆う金属カバーをさらに備え、
前記遮蔽部材は、シート搬送方向の上流端が、前記ベルトの上面よりも下方において前記ベルトから離間して位置するように前記金属カバーに取り付けられている請求項1に記載の画像形成装置。
【請求項8】
前記金属カバーは、上面から下方に凹む凹部を有し、
前記ベルトマーク検出センサは、少なくとも一部が前記凹部内に位置するように配置され、
前記遮蔽部材は、前記金属カバーの上面に取り付けられて、前記ベルトマーク検出センサを上方から覆う請求項7に記載の画像形成装置。
【請求項9】
前記ベルトマーク検出センサを前記装置本体に固定するホルダをさらに備え、
前記遮蔽部材のシート搬送方向の上流端は、前記ホルダと前記定着器とで挟まれる位置にある請求項8に記載の画像形成装置。
【請求項10】
前記装置本体に装着された前記定着器は、前記金属カバーと対向する定着下カバーと、前記定着下カバーのシート搬送方向における上流に位置する定着シュートとを有し、
前記定着器が前記装置本体に装着された状態において、前記遮蔽部材は、前記金属カバーに対する取り付け部分よりもシート搬送方向の上流において前記定着下カバーと接触する第1接触部と、前記第1接触部よりもシート搬送方向の上流において前記ホルダと接触する第2接触部とを有する請求項9に記載の画像形成装置。
(【請求項11】以降は省略されています)
発明の詳細な説明
【技術分野】
【0001】
本発明は、画像形成装置に関する。
続きを表示(約 1,200 文字)
【背景技術】
【0002】
従来、カラーレーザプリンタ等の画像形成装置としては、複数の画像形成ユニットがシート搬送用のベルトに沿って並んで配置されており、ベルトによって搬送されるシートに対して各画像形成ユニットから順次トナー像が転写される方式の画像形成装置が知られている。
【0003】
このような画像形成装置においては、特許文献1に開示されるように、各画像形成ユニットによる転写位置がずれて、シートに転写されたトナー像に色ずれが生じることを防ぐために、レジストレーションと呼ばれる技術が採用されている。
【0004】
レジストレーションを行う際には、各画像形成ユニットによって所定のマークを形成したベルトに光を照射し、照射した光の反射光をセンサで受光する。また、受光したセンサの出力からベルトの表面とマークとの光の反射率の違いを読み取り、マークの位置を検出する。さらに、マークの位置の検出結果に基づいて色ずれの補正を行うことで、トナー像に色ずれが生じることを防いでいる。
【0005】
この場合、ベルトに形成されたマークを読み取るセンサは、全ての画像形成ユニットから転写されたトナー像によって形成されたマークを読み取る必要があるため、シート搬送方向におけるベルトの最下流に対応する位置に配置されている。また、センサのシート搬送方向における下流には、シートに転写されたトナー像をシートに定着させる定着器が配置されている。
【先行技術文献】
【特許文献】
【0006】
特許第4715858号公報
【発明の概要】
【発明が解決しようとする課題】
【0007】
近年においては、環境負荷を削減するために、装置の使用によって消耗した部品や、スペック的に劣るようになった部品を新しい部品に交換して、画像形成装置の寿命を延ばすことが求められている。
【0008】
ベルトおよび定着器は共に消耗品であるが、家庭や小規模オフィスを対象とした画像形成装置においては、サービスマン交換を前提としており、定着器は簡単に交換できる仕様となっていない場合が多い。
【0009】
しかし、環境負荷削減のために画像形成装置の長寿命化を図ろうとすると、定着器を簡単に交換可能な仕様に構成することが必要となる。
【0010】
ベルトのマークを読み取るセンサを備えた画像形成装置において、定着器を装置の後側の開口から交換可能に構成した場合、定着器を装置から取り外した状態では、ユーザが開口を通じてセンサに容易にアクセス可能になる。従って、ユーザがセンサに不用意に触れてしまい、センサの位置がずれたり、静電気によってセンサが故障したりするおそれがある。
(【0011】以降は省略されています)
この特許をJ-PlatPat(特許庁公式サイト)で参照する
関連特許
株式会社リコー
画像形成装置
4日前
株式会社オプトル
プロジェクタ
7日前
株式会社リコー
画像形成装置
4日前
キヤノン株式会社
画像形成装置
1日前
キヤノン株式会社
画像形成装置
1日前
キヤノン株式会社
画像形成装置
4日前
沖電気工業株式会社
画像形成装置
4日前
沖電気工業株式会社
情報処理装置
1日前
シャープ株式会社
固定機構および画像形成装置
7日前
株式会社リコー
定着装置、及び、画像形成装置
4日前
株式会社リコー
定着装置、及び、画像形成装置
4日前
シャープ株式会社
画像形成装置
7日前
シャープ株式会社
画像形成装置
7日前
ブラザー工業株式会社
画像形成装置
1日前
キヤノン株式会社
画像形成装置
7日前
キヤノン株式会社
画像形成装置
4日前
キヤノン株式会社
画像形成装置
4日前
株式会社オーク製作所
露光装置および露光方法
1日前
キヤノン株式会社
画像形成装置
7日前
キヤノン株式会社
画像形成装置
7日前
キヤノン株式会社
画像形成装置
4日前
キヤノン株式会社
画像形成装置
4日前
キヤノン株式会社
現像剤容器
1日前
セイコーエプソン株式会社
プロジェクター
7日前
キヤノン株式会社
画像形成装置
4日前
キヤノン株式会社
画像形成装置
1日前
キヤノン株式会社
画像形成装置
1日前
株式会社リコー
画像形成装置及び転写残トナーの回収方法
1日前
キヤノン株式会社
画像形成装置
4日前
キヤノン株式会社
画像形成装置
4日前
キヤノン株式会社
画像形成装置
4日前
キヤノン株式会社
画像形成装置
4日前
キヤノン株式会社
画像形成装置
4日前
株式会社リコー
画像形成装置及び転写残トナーの回収方法
1日前
キヤノン株式会社
画像形成装置
2日前
コニカミノルタ株式会社
画像形成システム、及びプログラム
7日前
続きを見る
他の特許を見る