TOP
|
特許
|
意匠
|
商標
特許ウォッチ
Twitter
他の特許を見る
10個以上の画像は省略されています。
公開番号
2025144220
公報種別
公開特許公報(A)
公開日
2025-10-02
出願番号
2024043892
出願日
2024-03-19
発明の名称
情報処理プログラム及び情報処理装置
出願人
ブラザー工業株式会社
代理人
弁理士法人第一テクニカル国際特許事務所
主分類
G06F
3/12 20060101AFI20250925BHJP(計算;計数)
要約
【課題】OS印刷機能で用いるプロトコルがラベルプリンタの印刷設定に非対応である場合であっても、当該印刷設定に対応した印刷を実行可能とする。
【解決手段】プリンタアプリケーション170は、ラベルプリンタ200における印刷設定項目のうち、CUPS160において設定不可能な固有印刷設定項目の内容を表す固有印刷設定を取得するステップS40と、CUPS160からの、画像データ、及び、ラベルプリンタ200における印刷設定項目のうちCUPS160において設定可能な共通印刷設定項目の内容を表す共通印刷設定、を含む印刷データを取得するステップS130と、ステップS130で取得した印刷データに、ステップS40で取得した固有印刷設定を付加した印刷データを生成するステップS145と、ステップS145にて生成された印刷データを、ラベルプリンタ200へ向けて送信するステップS150と、を実行させる。
【選択図】図10
特許請求の範囲
【請求項1】
情報処理装置の演算部によって実行可能であり、前記情報処理装置と通信可能な印刷装置を用いた印刷制御を実行可能な情報処理プログラムであって、前記印刷装置は、ロール状に巻回された長尺の被印刷用紙に対し印刷を行い印字ラベルを作成するラベルプリンタであり、前記情報処理装置にはOS標準印刷ソフトウェアを有するオペレーティングシステムが搭載されており、前記情報処理プログラムは前記OS標準印刷ソフトウェアに仮想の印刷装置として登録可能であり、
前記情報処理プログラムは、前記OS標準印刷ソフトウェアに前記仮想の印刷装置として登録されたとき、前記情報処理装置の演算部に対し、
前記ラベルプリンタにおける印刷設定項目のうち、前記OS標準印刷ソフトウェアにおいて設定不可能な第1設定項目の内容を表す第1設定を取得する第1設定取得処理と、
前記OS標準印刷ソフトウェアからの、画像データ、及び、前記ラベルプリンタにおける印刷設定項目のうち前記OS標準印刷ソフトウェアにおいて設定可能な第2設定項目の内容を表す第2設定、を含む第1印刷データを取得する第1印刷データ取得処理と、
前記第1印刷データ取得処理で取得した前記第1印刷データに、前記第1設定取得処理で取得した前記第1設定を付加した第2印刷データを生成する第2印刷データ生成処理と、
前記第2印刷データ生成処理にて生成された前記第2印刷データを、前記ラベルプリンタへ向けて送信する第2印刷データ送信処理と、
を実行させるよう構成されている、情報処理プログラム。
続きを表示(約 1,600 文字)
【請求項2】
前記情報処理プログラムは、前記情報処理装置の前記演算部に対し、さらに、
前記ラベルプリンタによる印刷の実行前に、前記第1設定取得処理で取得された前記第1設定を記憶する記憶処理と、
を実行させ、
前記第2印刷データ生成処理では、
前記記憶処理で記憶された前記第1設定を読み出し、当該読み出した第1設定を前記第1印刷データに付加した前記第2印刷データを生成する
よう構成されている、請求項1記載の情報処理プログラム。
【請求項3】
前記情報処理プログラムは、前記情報処理装置の前記演算部に対し、さらに、
前記ラベルプリンタの能力情報を取得する能力情報取得処理と、
前記能力情報取得処理で取得した前記能力情報に基づき、対応する前記第1設定項目を決定する設定項目決定処理と、
前記設定項目決定処理で決定した前記第1設定項目を報知する報知信号を出力する報知信号出力処理と、
を実行させるよう構成されている、請求項1記載の情報処理プログラム。
【請求項4】
前記第1印刷データ取得処理では、前記画像データ及び前記第2設定からなる前記第1印刷データを取得し、
前記第2印刷データ生成処理では、前記第1印刷データに対し前記第1設定を付加した、ラスターデータ形式の前記第2印刷データを生成する
よう構成されている、請求項1記載の情報処理プログラム。
【請求項5】
前記第1設定は、
前記ラベルプリンタにおける、前記被印刷用紙を切断するカッタの切断設定、及び、前記被印刷用紙に備えられる台紙から前記台紙に貼られたラベル用紙を引き剥がす引き剥がし設定、のうち少なくとも一方を含む、請求項1記載の情報処理プログラム。
【請求項6】
前記切断設定は、
前記カッタによる前記台紙及び前記ラベル用紙に対する切断態様、
前記カッタによる切断動作の自動実行又は手動実行の選択、及び、
複数の前記印字ラベルを印刷する際の切断頻度、
のうち少なくとも1つを含む、請求項5記載の情報処理プログラム。
【請求項7】
前記第2設定は、
印刷を実行するときの印刷量、
前記被印刷用紙のサイズ、及び、
印刷を実行するときの印字形成方向、
のうち少なくとも1つを含む、請求項1記載の情報処理プログラム。
【請求項8】
ロール状に巻回された長尺の被印刷用紙に対し印刷を行い印字ラベルを作成するラベルプリンタに対し通信可能な通信I/Fと、OS標準印刷ソフトウェアを有するオペレーティングシステム及び情報処理プログラムを備えた制御部と、を有する情報処理装置であって、前記情報処理プログラムは前記OS標準印刷ソフトウェアに仮想の印刷装置として登録され、
前記制御部は、
前記ラベルプリンタにおける印刷設定項目のうち、前記OS標準印刷ソフトウェアにおいて設定不可能な第1設定項目の内容を表す第1設定を取得する第1設定取得処理と、
前記OS標準印刷ソフトウェアからの、画像データ、及び、前記ラベルプリンタにおける印刷設定項目のうち前記OS標準印刷ソフトウェアにおいて設定可能な第2設定項目の内容を表す第2設定、を含む第1印刷データを取得する第1印刷データ取得処理と、
前記第1印刷データ取得処理で取得した前記第1印刷データに、前記第1設定取得処理で取得した前記第1設定を付加した第2印刷データを生成する第2印刷データ生成処理と、
前記第2印刷データ生成処理にて生成された前記第2印刷データを、前記ラベルプリンタへ向けて送信する第2印刷データ送信処理と、
を実行するよう構成されている、情報処理装置。
発明の詳細な説明
【技術分野】
【0001】
本発明は、印刷装置に対し通信可能な情報処理装置で実行される情報処理プログラム及び情報処理装置に関する。
続きを表示(約 2,100 文字)
【背景技術】
【0002】
従来、所定の印刷規格に従ってプリンタのベンダが提供するプリンタドライバを用いることなく印刷を行う、いわゆるドライバレスの印刷機能を有するオペレーティングシステム(OS)が一般的になりつつある。この場合、プリンタドライバのインストールを行うことなく印刷を行うことができる。
【0003】
このようなドライバレスのOS印刷機能を利用し、かつドライバレス未対応のプリンタへの対応あるいは通常のドライバレス印刷の機能を拡張するものとして、例えば特許文献1に記載のように、OSから印刷ジョブを受信し、受信した印刷ジョブをプリンタに送信する仮想プリンタを情報処理装置内に作成したものが知られている。
【先行技術文献】
【特許文献】
【0004】
特開2020-160905号公報
【発明の概要】
【発明が解決しようとする課題】
【0005】
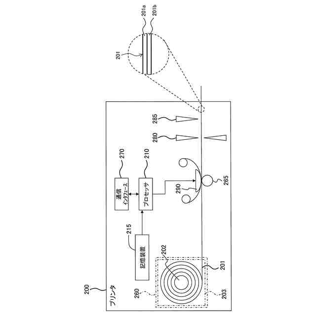
ところで、特殊なプリンタとして、ロール状に巻回された長尺の被印刷用紙に対し印刷を行って印字ラベルを作成する、ラベルプリンタが既に知られている。このラベルプリンタにおける設定には、被印刷用紙を切断するカッタの切断設定、被印刷用紙に備えられる台紙から台紙に貼られたラベル用紙を引き剥がす引き剥がし設定、等、通常のプリンタにはない特殊な設定が存在する。
【0006】
上記従来技術では、このようなラベルプリンタにおける特殊な設定を実行可能とすることについては、特に考慮されていない。
【0007】
本発明の目的は、OS印刷機能で用いるプロトコルがラベルプリンタの印刷設定に非対応である場合であっても、当該印刷設定に対応した印刷を実行できる情報処理プログラム及び情報処理装置を提供することにある。
【課題を解決するための手段】
【0008】
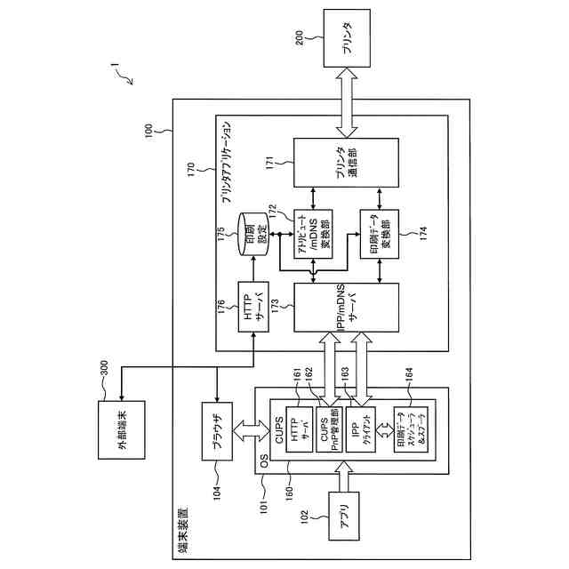
上記目的を達成するために、本願発明の情報処理プログラムは、情報処理装置の演算部によって実行可能であり、前記情報処理装置と通信可能な印刷装置を用いた印刷制御を実行可能な情報処理プログラムであって、前記印刷装置は、ロール状に巻回された長尺の被印刷用紙に対し印刷を行い印字ラベルを作成するラベルプリンタであり、前記情報処理装置にはOS標準印刷ソフトウェアを有するオペレーティングシステムが搭載されており、前記情報処理プログラムは前記OS標準印刷ソフトウェアに仮想の印刷装置として登録可能であり、前記情報処理プログラムは、前記OS標準印刷ソフトウェアに前記仮想の印刷装置として登録されたとき、前記情報処理装置の演算部に対し、前記ラベルプリンタにおける印刷設定項目のうち、前記OS標準印刷ソフトウェアにおいて設定不可能な第1設定項目の内容を表す第1設定を取得する第1設定取得処理と、前記OS標準印刷ソフトウェアからの、画像データ、及び、前記ラベルプリンタにおける印刷設定項目のうち前記OS標準印刷ソフトウェアにおいて設定可能な第2設定項目の内容を表す第2設定、を含む第1印刷データを取得する第1印刷データ取得処理と、前記印刷データ取得処理で取得した前記第1印刷データに、前記第1設定取得処理で取得した前記第1設定を付加した第2印刷データを生成する第2印刷データ生成処理と、前記第2印刷データ生成処理にて生成された前記第2印刷データを、前記ラベルプリンタへ向けて送信する第2印刷データ送信処理と、を実行させるよう構成されている。
【0009】
本願発明の対象とする印刷装置は、長尺の被印刷用紙に対し印刷を行って印字ラベルを作成するラベルプリンタである。ラベルプリンタは、それ以外の通常の印刷装置とは異なる、特殊な印刷設定がある。本願発明の情報処理装置が備えるOS標準印刷ソフトウェアは、ラベルプリンタに関する印刷設定項目のうち、第2設定項目については設定可能であるが、第1設定項目については設定不可能となっている。そこでこれに対応して、本願発明の情報処理プログラムが演算部で実行されると、第1設定取得処理と、第1印刷データ取得処理と、第2印刷データ生成処理と、第2印刷データ送信処理と、が実行される。
【0010】
第1設定取得処理では、OS標準印刷ソフトウェアで設定不可能な上記第1設定項目の内容を表す第1設定が取得される。この第1設定としては、例えば、被印刷用紙を切断するカッタの切断設定、被印刷用紙に備えられる台紙からラベル用紙を引き剥がす引き剥がし設定、等がある。
第1印刷データ取得処理では、画像データを含む第1印刷データが取得される。この第1印刷データには、上記画像データのほかに、OS標準印刷ソフトウェアで設定可能な上記第2設定項目の内容を表す第2設定が含まれる。
第2印刷データ生成処理では、上記第1印刷データに対し、上記第1設定が付加された第2印刷データが生成される。すなわち第2印刷データには、画像データ、第1設定、第2設定が含まれることになる。第2印刷データ送信処理では、これら3つを含む第2印刷データがラベルプリンタへと送信される。
(【0011】以降は省略されています)
この特許をJ-PlatPat(特許庁公式サイト)で参照する
関連特許
ブラザー工業株式会社
空調機
15日前
ブラザー工業株式会社
空調機
15日前
ブラザー工業株式会社
空調機
15日前
ブラザー工業株式会社
空調機
15日前
ブラザー工業株式会社
空調機
15日前
ブラザー工業株式会社
搬送装置
3日前
ブラザー工業株式会社
制御装置
5日前
ブラザー工業株式会社
カセット
15日前
ブラザー工業株式会社
カセット
15日前
ブラザー工業株式会社
カセット
15日前
ブラザー工業株式会社
カセット
15日前
ブラザー工業株式会社
画像形成装置
15日前
ブラザー工業株式会社
画像形成装置
15日前
ブラザー工業株式会社
画像形成装置
15日前
ブラザー工業株式会社
液体吐出装置
9日前
ブラザー工業株式会社
液体吐出装置
9日前
ブラザー工業株式会社
画像形成装置
9日前
ブラザー工業株式会社
画像形成装置
1日前
ブラザー工業株式会社
画像形成装置
5日前
ブラザー工業株式会社
画像形成装置
1日前
ブラザー工業株式会社
画像形成装置
1日前
ブラザー工業株式会社
画像形成装置
1日前
ブラザー工業株式会社
画像形成装置
2日前
ブラザー工業株式会社
液体吐出ヘッド
1日前
ブラザー工業株式会社
液体吐出ヘッド
5日前
ブラザー工業株式会社
サポートプログラム
8日前
ブラザー工業株式会社
システム及び管理装置
3日前
ブラザー工業株式会社
システム及びプログラム
3日前
ブラザー工業株式会社
システム及びプログラム
3日前
ブラザー工業株式会社
仮想プリンタ管理プログラム
1日前
ブラザー工業株式会社
システムおよび画像形成装置
9日前
ブラザー工業株式会社
システムおよび画像形成装置
9日前
ブラザー工業株式会社
システムおよび画像形成装置
9日前
ブラザー工業株式会社
システムおよび画像形成装置
9日前
ブラザー工業株式会社
プリンタ、及び切断ユニット
5日前
ブラザー工業株式会社
システムおよび画像形成装置
9日前
続きを見る
他の特許を見る