TOP
|
特許
|
意匠
|
商標
特許ウォッチ
Twitter
他の特許を見る
10個以上の画像は省略されています。
公開番号
2025146415
公報種別
公開特許公報(A)
公開日
2025-10-03
出願番号
2024047169
出願日
2024-03-22
発明の名称
画像形成装置
出願人
ブラザー工業株式会社
代理人
弁理士法人ぱてな
主分類
G03G
21/16 20060101AFI20250926BHJP(写真;映画;光波以外の波を使用する類似技術;電子写真;ホログラフイ)
要約
【課題】ドロワ及びジョイントシャフトを備えた構成において、上下方向に大型化することなくジョイントシャフトの破損を抑制できる画像形成装置を提供する。
【解決手段】画像形成装置1において、ドロワ80が装着位置と引き出し位置との間で移動するときに、ジョイントシャフト70は、引っ掛け部77の第1部分77P1がドロワ80の第1対向部81の最下端81Dの移動軌跡K1と重なる状態から、第1部分77P1が移動軌跡K1から下方に離れる状態、かつ引っ掛け部77の第2部分77P2が第1対向部81と対向する状態となるように軸部75周りに回動可能であり、第2部分77P2は、移動軌跡K1から下方に離れている。ドロワ80が装着位置に移動したときに、ジョイントシャフト70は、第1部分77P1及び第2部分77P2がドロワ80の第2対向部82から下方に離れている。
【選択図】図10
特許請求の範囲
【請求項1】
装置本体と、
前記装置本体に装着された装着位置と、前記装着位置よりも前記装置本体の外側に位置する引き出し位置と、に移動可能なドロワと、
幅方向に延びる回転軸心周りに回転可能に前記ドロワに支持された感光ドラムと、
前記ドロワよりも下方において前記装置本体に回転可能に支持され、前記感光ドラムに向けてシートを搬送する第1ローラと、
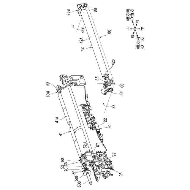
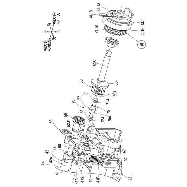
前記幅方向に延びる軸部を有し、前記軸部における前記幅方向の一端に伝達される駆動力を前記幅方向の他端から前記第1ローラに向けて伝達するジョイントシャフトと、
を備える画像形成装置であって、
前記ジョイントシャフトは、前記軸部における前記一端と前記他端との間に、前記軸部の外周面から前記軸部の径外方向に延びる長さが第1長さである第1部分と、前記軸部の周方向において前記第1部分と並ぶ第2部分であって、前記外周面から前記径外方向に延びる長さが前記第1長さよりも小さい第2長さである前記第2部分と、を有する引っ掛け部であって、前記装置本体に前記第1部分を引っ掛けることが可能な前記引っ掛け部を有し、
前記ドロワは、前記ドロワが前記装着位置と前記引き出し位置との間で移動するときに前記引っ掛け部に上から対向しながら通り過ぎる第1対向部と、前記ドロワが前記装着位置に移動した状態で前記引っ掛け部に上から対向する第2対向部と、を有し、
前記ドロワが前記装着位置と前記引き出し位置との間で移動するときに、前記ジョイントシャフトは、前記第1部分が前記第1対向部の最下端の移動軌跡と重なる状態から、前記第1部分が前記移動軌跡から下方に離れる状態、かつ前記第2部分が前記第1対向部と対向する状態となるように前記軸部周りに回動可能であり、前記第2部分は、前記移動軌跡から下方に離れており、
前記ドロワが前記装着位置に移動したときに、前記ジョイントシャフトは、前記第1部分及び前記第2部分が前記第2対向部から下方に離れていることを特徴とする画像形成装置。
続きを表示(約 1,200 文字)
【請求項2】
前記引っ掛け部は、複数の前記第1部分と、前記第1部分と同じ数である前記第2部分と、を有している請求項1記載の画像形成装置。
【請求項3】
前記引っ掛け部は、3つの前記第1部分と、3つの前記第2部分と、を有し、
各前記第1部分は、前記周方向において等角度間隔で配置されている請求項2記載の画像形成装置。
【請求項4】
1つの前記第1部分が鉛直方向の真下に位置する状態で、残りの前記第1部分の最上端は、前記鉛直方向の真上に位置する1つの前記第2部分の最上端よりも下方に位置している請求項3記載の画像形成装置。
【請求項5】
駆動力を発生するモータと、
前記モータと前記ジョイントシャフトとの間に位置し、前記駆動力を前記ジョイントシャフトの前記一端に伝達する接続状態と、前記駆動力を前記ジョイントシャフトの前記一端に伝達しない遮断状態と、に切り替わる電磁クラッチと、
をさらに備え、
前記電磁クラッチは、前記ドロワの移動時に前記遮断状態になっている請求項1乃至4のいずれか1項記載の画像形成装置。
【請求項6】
前記ジョイントシャフトは、前記第1ローラと同軸の位置に配置されている請求項1乃至4のいずれか1項記載の画像形成装置。
【請求項7】
駆動力を発生するモータと、
前記ジョイントシャフトの前記一端と連結し、前記モータの前記駆動力を受けて回転する第1カップリングと、
前記第1ローラの回転軸と同軸に設けられて前記ジョイントシャフトの前記他端と連結し、前記第1カップリング及び前記ジョイントシャフトと共に自在継手を構成して前記駆動力を前記第1ローラに伝達する第2カップリングと、
をさらに備えている請求項6記載の画像形成装置。
【請求項8】
前記ドロワに回転可能に支持され、前記第1ローラとの間でシートを挟んで回転し、前記感光ドラムに向けてシートを搬送する第2ローラと、
前記装置本体に設けられ、前記第1ローラを前記第2ローラに対して接近及び離隔可能に支持する軸受と、
前記装置本体と前記軸受との間に設けられ、前記第1ローラを前記第2ローラに向けて付勢する付勢部材と、
をさらに備えている請求項1乃至4のいずれか1項記載の画像形成装置。
【請求項9】
前記ドロワは、前記引き出し位置からさらに移動することで前記装置本体から取り外し可能であり、
前記ドロワは、前記感光ドラムを支持する支持壁を有し、
前記支持壁は、前記感光ドラムの最下端よりも下方に突出した脚部であって、前記装置本体から取り外された前記ドロワが載置される載置面と前記感光ドラムとの隙間を確保する前記脚部を有し、
前記第1対向部の前記最下端は、前記脚部の最下端である請求項1乃至4のいずれか1項記載の画像形成装置。
発明の詳細な説明
【技術分野】
【0001】
本発明は画像形成装置に関する。
続きを表示(約 2,100 文字)
【背景技術】
【0002】
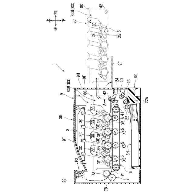
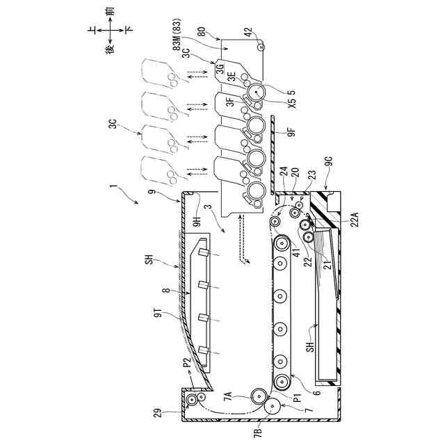
特許文献1に従来の画像形成装置の一例が開示されている。この画像形成装置において、ドロワは、本体筐体に装着された第1位置と、第1位置よりも本体筐体の外側に位置する第2位置と、に移動可能である。感光ドラムは、幅方向に延びる回転軸心周りに回転可能にドロワに支持されている。
【0003】
第2ローラは、ドロワよりも下方において本体筐体に回転可能に支持されている。第2ローラは、感光ドラムに向けてシートを搬送する。ジョイントシャフトは、幅方向に延びる軸部を有し、軸部における幅方向の一端に伝達される駆動力を幅方向の他端から第2ローラに伝達する。
【0004】
ジョイントシャフトは、引っ掛け部を有している。引っ掛け部は、軸部における一端と他端との間に設けられている。引っ掛け部は、軸部の外周面から軸部の径外方向に延びる長さが一定のフランジ形状である。引っ掛け部は、本体筐体に引っ掛けることが可能である。これにより、組み立て時にジョイントシャフトから手を離してもジョイントシャフトが落ちないので、ジョイントシャフトの組み付け作業を容易に実施できる。
【先行技術文献】
【特許文献】
【0005】
特開2022-21402号公報
【発明の概要】
【発明が解決しようとする課題】
【0006】
ところで、上記従来の画像形成装置において、ドロワは、ドロワが第1位置と第2位置との間で移動するときに引っ掛け部に上から対向しながら通り過ぎる対向部を有している。具体的には、対向部は、ドロワが有する一対の側壁のうちの幅方向においてジョイントシャフト側に位置する側壁の下端面である。
【0007】
そして、上記従来の画像形成装置においては、ジョイントシャフトとドロワとが上下方向に離れているが、ジョイントシャフトとドロワとの相対位置関係は画像形成装置によって様々であり、ジョイントシャフトとドロワとが上下方向において接近しているものもある。
【0008】
ここで、ジョイントシャフトとドロワとが上下方向において接近していると、ドロワが第1位置と第2位置との間で移動するときに対向部が引っ掛け部に干渉する位置となり易く、ドロワと引っ掛け部との接触によりジョイントシャフトが破損するおそれがある。これを避けるためには、ドロワとジョイントシャフトとの上下方向のクリアランスを大きく確保する必要があるが、この場合は、上下方向の大型化を抑制することが難しくなるという問題がある。
【0009】
本発明は、上記従来の実情に鑑みてなされたものであって、ドロワ及びジョイントシャフトを備えた構成において、上下方向に大型化することなくジョイントシャフトの破損を抑制できる画像形成装置を提供することを目的とする。
【課題を解決するための手段】
【0010】
本発明の画像形成装置は、装置本体と、
前記装置本体に装着された装着位置と、前記装着位置よりも前記装置本体の外側に位置する引き出し位置と、に移動可能なドロワと、
幅方向に延びる回転軸心周りに回転可能に前記ドロワに支持された感光ドラムと、
前記ドロワよりも下方において前記装置本体に回転可能に支持され、前記感光ドラムに向けてシートを搬送する第1ローラと、
前記幅方向に延びる軸部を有し、前記軸部における前記幅方向の一端に伝達される駆動力を前記幅方向の他端から前記第1ローラに向けて伝達するジョイントシャフトと、
を備える画像形成装置であって、
前記ジョイントシャフトは、前記軸部における前記一端と前記他端との間に、前記軸部の外周面から前記軸部の径外方向に延びる長さが第1長さである第1部分と、前記軸部の周方向において前記第1部分と並ぶ第2部分であって、前記外周面から前記径外方向に延びる長さが前記第1長さよりも小さい第2長さである前記第2部分と、を有する引っ掛け部であって、前記装置本体に前記第1部分を引っ掛けることが可能な前記引っ掛け部を有し、
前記ドロワは、前記ドロワが前記装着位置と前記引き出し位置との間で移動するときに前記引っ掛け部に上から対向しながら通り過ぎる第1対向部と、前記ドロワが前記装着位置に移動した状態で前記引っ掛け部に上から対向する第2対向部と、を有し、
前記ドロワが前記装着位置と前記引き出し位置との間で移動するときに、前記ジョイントシャフトは、前記第1部分が前記第1対向部の最下端の移動軌跡と重なる状態から、前記第1部分が前記移動軌跡から下方に離れる状態、かつ前記第2部分が前記第1対向部と対向する状態となるように前記軸部周りに回動可能であり、前記第2部分は、前記移動軌跡から下方に離れており、
前記ドロワが前記装着位置に移動したときに、前記ジョイントシャフトは、前記第1部分及び前記第2部分が前記第2対向部から下方に離れていることを特徴とする。
(【0011】以降は省略されています)
この特許をJ-PlatPat(特許庁公式サイト)で参照する
関連特許
ブラザー工業株式会社
搬送装置
3日前
ブラザー工業株式会社
制御装置
5日前
ブラザー工業株式会社
画像形成装置
1日前
ブラザー工業株式会社
画像形成装置
5日前
ブラザー工業株式会社
画像形成装置
1日前
ブラザー工業株式会社
画像形成装置
2日前
ブラザー工業株式会社
画像形成装置
1日前
ブラザー工業株式会社
画像形成装置
1日前
ブラザー工業株式会社
液体吐出ヘッド
1日前
ブラザー工業株式会社
液体吐出ヘッド
5日前
ブラザー工業株式会社
サポートプログラム
8日前
ブラザー工業株式会社
システム及び管理装置
3日前
ブラザー工業株式会社
システム及びプログラム
3日前
ブラザー工業株式会社
システム及びプログラム
3日前
ブラザー工業株式会社
仮想プリンタ管理プログラム
1日前
ブラザー工業株式会社
プリンタ、及び切断ユニット
5日前
ブラザー工業株式会社
プログラム及び情報処理装置
5日前
ブラザー工業株式会社
カシメ装置及び缶製品作製装置
9日前
ブラザー工業株式会社
プログラムおよび情報処理装置
5日前
ブラザー工業株式会社
画像形成装置及び画像形成システム
1日前
ブラザー工業株式会社
プログラム、および、画像処理装置
1日前
ブラザー工業株式会社
プログラム、および、データ処理装置
5日前
ブラザー工業株式会社
情報処理プログラム及び情報処理装置
1日前
ブラザー工業株式会社
回転継手装置、モータ、及び工作機械
9日前
ブラザー工業株式会社
画像処理プログラム及び情報処理装置
5日前
ブラザー工業株式会社
トナーカートリッジのリサイクル方法
2日前
ブラザー工業株式会社
情報処理プログラム及び情報処理装置
2日前
ブラザー工業株式会社
画像処理プログラム及び情報処理装置
1日前
ブラザー工業株式会社
画像処理装置、画像処理方法、および、プログラム
5日前
ブラザー工業株式会社
通信装置及び通信装置のためのコンピュータプログラム
5日前
ブラザー工業株式会社
画像処理プログラム、情報処理装置、及び画像処理方法
5日前
ブラザー工業株式会社
プリンタ及びプリンタのためのコンピュータプログラム
1日前
ブラザー工業株式会社
サポートプログラム
4日前
ブラザー工業株式会社
通信装置、画像処理装置、及びそれらのためのコンピュータプログラム
5日前
ブラザー工業株式会社
通信装置、画像処理装置、及びそれらのためのコンピュータプログラム
5日前
ブラザー工業株式会社
端末装置のためのコンピュータプログラム、端末装置、及び、端末装置によって実行される方法
1日前
続きを見る
他の特許を見る