TOP
|
特許
|
意匠
|
商標
特許ウォッチ
Twitter
他の特許を見る
公開番号
2025144933
公報種別
公開特許公報(A)
公開日
2025-10-03
出願番号
2024044862
出願日
2024-03-21
発明の名称
画像形成装置及び画像形成システム
出願人
ブラザー工業株式会社
代理人
弁理士法人ATEN
主分類
B41J
2/01 20060101AFI20250926BHJP(印刷;線画機;タイプライター;スタンプ)
要約
【課題】なるべく限られた種類のインクを用いつつ、転写用及び非転写用の画像の両方を媒体に形成するのに適した画像形成装置及び画像形成システムを提供する。
【解決手段】プリンタ10は、シアン、マゼンタ及びイエローからなる3色の昇華型インクと黒色の通常型インクとを媒体に吐出する記録ヘッド6を有している。制御部8は、転写用のカラー画像を用紙Px上に形成するように記録ヘッド6から昇華型インクを吐出させる転写用画像形成処理と、非転写用の単色画像を用紙Px上に形成するように記録ヘッド6から通常型インクを吐出させる非転写用画像形成処理とを実行する。
【選択図】図1
特許請求の範囲
【請求項1】
シアン、マゼンタ及びイエローからなる3色の転写用のインクと黒色の非転写用のインクとを媒体に吐出するヘッドと、
転写用の媒体を前記ヘッドに供給する媒体供給部と、
制御部とを備えており、
前記制御部は、
転写用のカラー画像を前記転写用の媒体の一方の面に形成するように前記ヘッドから前記転写用の媒体に前記転写用のインクを吐出させる転写用画像形成処理と、
非転写用の単色画像を前記転写用の媒体の前記一方の面に形成するように前記ヘッドから前記転写用の媒体に前記非転写用のインクを吐出させる非転写用画像形成処理とを、
前記媒体供給部に前記転写用の媒体を前記ヘッドに供給させつつ実行することを特徴とする画像形成装置。
続きを表示(約 2,200 文字)
【請求項2】
ユーザ指定の画像データを取得する指定画像データ取得部と、
定型画像データを記憶する記憶部とをさらに備えており、
前記非転写用の単色画像は、前記記憶部の定型画像データが示す画像及び前記指定画像データ取得部が取得した前記ユーザ指定の画像データが示す画像の少なくともいずれかであることを特徴とする請求項1に記載の画像形成装置。
【請求項3】
黒色がシアン、マゼンタ及びイエローの混色で表現されるように、前記転写用のカラー画像をシアン、マゼンタ及びイエローの階調値で示すCMYデータを取得するCMYデータ取得部をさらに備えており、
前記転写用画像形成処理が、前記画像データ取得部が取得した前記CMYデータに基づいて、前記ヘッドから前記転写用の媒体に前記転写用のインクを吐出させる処理であることを特徴とする請求項1に記載の画像形成装置。
【請求項4】
前記非転写用の単色画像を単色の階調値で示す単色画像データを取得する単色画像データ取得部を備えており、
前記非転写用画像形成処理が、前記単色画像データ取得部が取得した前記単色画像データに基づいて、前記ヘッドから前記転写用の媒体に前記非転写用のインクを吐出させる処理であることを特徴とする請求項1に記載の画像形成装置。
【請求項5】
前記媒体供給部が前記ヘッドに供給可能である媒体が、前記転写用の媒体及び非転写用の媒体のいずれか一方であり、
外部装置から画像データを取得する画像データ取得部と、
前記媒体供給部が供給可能である媒体に関する設定を記憶する記憶部とをさらに備えており、
前記制御部は、
前記画像データが前記転写用の媒体を使用することを指示しているか、あるいは、前記記憶部の前記設定が前記転写用の媒体を示している場合に、前記媒体供給部に前記転写用の媒体を前記ヘッドに供給させつつ前記転写用画像形成処理及び前記非転写用画像形成処理を実行し、
前記画像データが前記非転写用の媒体を使用することを指示しているか、あるいは、前記記憶部の前記設定が前記非転写用の媒体を示している場合に、前記媒体供給部に前記非転写用の媒体を前記ヘッドに供給させつつ前記非転写用画像形成処理を実行することを特徴とする請求項1に記載の画像形成装置。
【請求項6】
前記媒体供給部が、前記転写用の媒体及び非転写用の媒体を選択的に前記ヘッドに供給可能であり、
外部装置から画像データを取得する画像データ取得部とをさらに備えており、
前記制御部は、
前記画像データが前記転写用の媒体を使用することを指示している場合に、前記媒体供給部に前記転写用の媒体を前記ヘッドに供給させつつ前記転写用画像形成処理及び前記非転写用画像形成処理を実行し、
前記画像データが前記非転写用の媒体を使用することを指示している場合に、前記媒体供給部に前記非転写用の媒体を前記ヘッドに供給させつつ前記非転写用画像形成処理を実行することを特徴とする請求項1に記載の画像形成装置。
【請求項7】
請求項1に記載の画像形成装置と、前記画像形成装置と通信可能な外部装置とを備えている画像形成システムであって、
前記画像形成装置及び前記外部装置の少なくともいずれかが、
黒色がシアン、マゼンタ及びイエローの混色で表現されるように、前記転写用のカラー画像をシアン、マゼンタ及びイエローの階調値で示すCMYデータを生成するCMYデータ生成部を備えており、
前記転写用画像形成処理が、前記CMYデータ生成部が生成した前記CMYデータに基づいて、前記ヘッドから前記転写用の媒体に前記転写用のインクを吐出させる処理であることを特徴とする画像形成システム。
【請求項8】
前記画像形成装置及び前記外部装置の少なくともいずれかが、
前記非転写用の単色画像を単色の階調値で示す単色画像データを生成する単色画像データ生成部を備えており、
前記非転写用画像形成処理が、前記単色画像データ生成部が生成した前記単色画像データに基づいて、前記ヘッドから前記転写用の媒体に前記非転写用のインクを吐出させる処理であることを特徴とする請求項7に記載の画像形成システム。
【請求項9】
前記外部装置が、ユーザ指定の画像データを前記画像形成装置に送信する指定画像送信部を備えており、
前記画像形成装置が、定型画像データを記憶する記憶部をさらに備えており、
前記非転写用の単色画像は、前記記憶部の定型画像データが示す画像及び前記指定画像データ送信部が前記画像形成部に送信した前記ユーザ指定の画像データが示す画像の少なくともいずれかであることを特徴とする請求項8に記載の画像形成システム。
【請求項10】
前記画像形成装置及び前記外部装置の少なくともいずれかが、
前記定型画像データに係る画像生成を行うか否かをユーザ入力に基づいて設定する画像形成設定部を備えており、
前記単色画像データ生成部が、
前記画像形成設定部による設定内容に応じて前記定型画像データが示す画像が前記非転写用の単色画像に含まれるようにするか否かを選択しつつ前記単色画像データを生成することを特徴とする請求項9に記載の画像形成システム。
発明の詳細な説明
【技術分野】
【0001】
本発明は、画像形成装置及び画像形成システムに関する。
続きを表示(約 1,600 文字)
【背景技術】
【0002】
従来、転写用の媒体に転写用のインクで画像を形成した後、転写用の媒体から他の媒体へと画像を転写する方式が採用された画像形成装置がある。特許文献1の印刷装置はその一例である。
【先行技術文献】
【特許文献】
【0003】
特開平11-188998号公報
【発明の概要】
【発明が解決しようとする課題】
【0004】
上記のような転写用の画像を形成する画像形成装置において、転写用の画像と合わせて、定型文を表す画像等の転写用でない画像を媒体に形成する要請がある。その一方で、装置のサイズが過大になるのを抑制するため、使用するインクの種類はなるべく少なく留めたい。
【0005】
本発明の目的は、なるべく限られた種類のインクを用いつつ、転写用及び非転写用の画像の両方を媒体に形成するのに適した画像形成装置及びこれを備えた画像形成システムを実現することにある。
【課題を解決するための手段】
【0006】
本発明の画像形成装置は、シアン、マゼンタ及びイエローからなる3色の転写用のインクと黒色の非転写用のインクとを媒体に吐出するヘッドと、転写用の媒体を前記ヘッドに供給する媒体供給部と、制御部とを備えており、前記制御部は、転写用のカラー画像を前記転写用の媒体の一方の面に形成するように前記ヘッドから前記転写用の媒体に前記転写用のインクを吐出させる転写用画像形成処理と、非転写用の単色画像を前記転写用の媒体の前記一方の面に形成するように前記ヘッドから前記転写用の媒体に前記非転写用のインクを吐出させる非転写用画像形成処理とを、前記媒体供給部に前記転写用の媒体を前記ヘッドに供給させつつ実行する。
【0007】
また、本発明の画像形成システムは、本発明の画像形成装置と、前記画像形成装置と通信可能な外部装置とを備えている画像形成システムであって、前記画像形成装置及び前記外部装置の少なくともいずれかが、黒色がシアン、マゼンタ及びイエローの混色で表現されるように、前記転写用のカラー画像をシアン、マゼンタ及びイエローの階調値で示すCMYデータを生成するCMYデータ生成部を備えており、前記転写用画像形成処理が、前記CMYデータ生成部が生成した前記CMYデータに基づいて、前記ヘッドから前記転写用の媒体に前記転写用のインクを吐出させる処理である。
【発明の効果】
【0008】
本発明の画像形成装置によると、転写用の画像は3色の転写用のインクで形成し、非転写用の画像は黒色の非転写用のインクで形成する。このため、4色のインクを用いるという限られた構成でありながら、画像を転写する際に非転写用の画像が転写先の媒体に転写されにくい。つまり、なるべく限られた種類のインクを用いつつ、転写用及び非転写用の画像の両方を媒体に形成するのに適した装置が実現する。
【0009】
また、本発明の画像形成システムによると、黒色が3色の混色で表現されたCMYデータに基づいて転写用の画像が3色のインクにより適切に媒体に形成される。
【図面の簡単な説明】
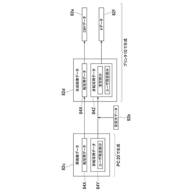
【0010】
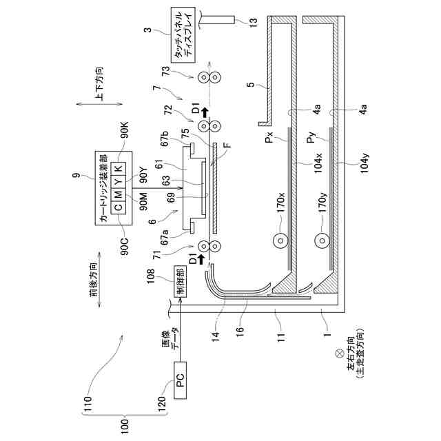
本発明の一実施形態である第1実施形態に係るプリンタシステムの概要構成図である。
図1のプリンタの制御系の構成を示すブロック図である。
図1のPC及び図2の制御部により画像データが生成される状況を示す概念図である。
図1のPC及び図2の制御部により画像データが生成される別の状況を示す概念図である。
図3又は図4の原画像データが示す画像の内容の一例である。
図3又は図4の合成画像データが示す画像の内容の一例である。
本発明の別の一実施形態である第2実施形態に係るプリンタシステムの概要構成図である。
【発明を実施するための形態】
(【0011】以降は省略されています)
この特許をJ-PlatPat(特許庁公式サイト)で参照する
関連特許
ブラザー工業株式会社
制御装置
6日前
ブラザー工業株式会社
搬送装置
4日前
ブラザー工業株式会社
画像形成装置
2日前
ブラザー工業株式会社
画像形成装置
2日前
ブラザー工業株式会社
画像形成装置
6日前
ブラザー工業株式会社
画像形成装置
2日前
ブラザー工業株式会社
画像形成装置
3日前
ブラザー工業株式会社
画像形成装置
2日前
ブラザー工業株式会社
液体吐出ヘッド
6日前
ブラザー工業株式会社
液体吐出ヘッド
2日前
ブラザー工業株式会社
システム及び管理装置
4日前
ブラザー工業株式会社
システム及びプログラム
4日前
ブラザー工業株式会社
システム及びプログラム
4日前
ブラザー工業株式会社
仮想プリンタ管理プログラム
2日前
ブラザー工業株式会社
プリンタ、及び切断ユニット
6日前
ブラザー工業株式会社
プログラム及び情報処理装置
6日前
ブラザー工業株式会社
プログラムおよび情報処理装置
6日前
ブラザー工業株式会社
プログラム、および、画像処理装置
2日前
ブラザー工業株式会社
画像形成装置及び画像形成システム
2日前
ブラザー工業株式会社
画像処理プログラム及び情報処理装置
2日前
ブラザー工業株式会社
プログラム、および、データ処理装置
6日前
ブラザー工業株式会社
画像処理プログラム及び情報処理装置
6日前
ブラザー工業株式会社
情報処理プログラム及び情報処理装置
2日前
ブラザー工業株式会社
情報処理プログラム及び情報処理装置
3日前
ブラザー工業株式会社
トナーカートリッジのリサイクル方法
3日前
ブラザー工業株式会社
画像処理装置、画像処理方法、および、プログラム
6日前
ブラザー工業株式会社
プリンタ及びプリンタのためのコンピュータプログラム
2日前
ブラザー工業株式会社
通信装置及び通信装置のためのコンピュータプログラム
6日前
ブラザー工業株式会社
画像処理プログラム、情報処理装置、及び画像処理方法
6日前
ブラザー工業株式会社
サポートプログラム
5日前
ブラザー工業株式会社
通信装置、画像処理装置、及びそれらのためのコンピュータプログラム
6日前
ブラザー工業株式会社
通信装置、画像処理装置、及びそれらのためのコンピュータプログラム
6日前
ブラザー工業株式会社
通信装置、通信装置のためのコンピュータプログラム、及び、通信装置によって実行される方法
6日前
ブラザー工業株式会社
通信装置、通信装置のためのコンピュータプログラム、及び、通信装置によって実行される方法
6日前
ブラザー工業株式会社
端末装置のためのコンピュータプログラム、端末装置、及び、端末装置によって実行される方法
2日前
ブラザー工業株式会社
管理プログラム、管理装置、管理方法、管理システム、実行プログラム、画像形成装置、及び実行方法
2日前
続きを見る
他の特許を見る