TOP
|
特許
|
意匠
|
商標
特許ウォッチ
Twitter
他の特許を見る
10個以上の画像は省略されています。
公開番号
2025146280
公報種別
公開特許公報(A)
公開日
2025-10-03
出願番号
2024046965
出願日
2024-03-22
発明の名称
管理プログラム、管理装置、管理方法、管理システム、実行プログラム、画像形成装置、及び実行方法
出願人
ブラザー工業株式会社
代理人
名古屋国際弁理士法人
主分類
G06F
3/12 20060101AFI20250926BHJP(計算;計数)
要約
【課題】デバイスのタスク管理についての新たな方法を提供する。
【解決手段】管理プログラムは、管理装置の制御部に、送信処理と、判定処理と、再送信処理と、報知処理と、を実行させる。送信処理は、複数のデバイスにタスク処理の実行を指示する第1タスク処理コマンドを送信する。判定処理は、複数のデバイスでのタスク処理が完了したか否かを判定する。再送信処理は、タスク処理が未完了である未完了デバイスに対し第2タスク処理コマンドを送信する。報知処理は、第2タスク処理コマンドにより、未完了デバイスにてタスク処理が実行されることを、該未完了デバイスのユーザ及び/又は管理者に報知する。
【選択図】図5
特許請求の範囲
【請求項1】
通信部と、
制御部と、
を備えた管理装置における前記制御部が実行可能な管理プログラムであって、
前記制御部に、
前記通信部を介して、複数のデバイスに対し、タスク処理の実行を指示する第1タスク処理コマンドを送信する送信処理と、
前記通信部を介して取得した情報に基づき、前記複数のデバイスでの前記タスク処理が完了したか否かを判定する判定処理と、
前記複数のデバイスのうち、前記判定処理にて前記タスク処理が未完了と判定されたデバイスである未完了デバイスに対し、前記通信部を介して、前記タスク処理の実行を指示する第2タスク処理コマンドを送信する再送信処理と、
前記第2タスク処理コマンドにより、前記未完了デバイスにて前記タスク処理が実行されることを、該未完了デバイスのユーザ及び/又は管理者に報知する報知処理と、
を実行させる管理プログラム。
続きを表示(約 1,800 文字)
【請求項2】
請求項1に記載の管理プログラムであって、
前記判定処理では、前記通信部を介して取得した情報に基づき、さらに、前記未完了デバイスにて前記タスク処理が未完了となった原因であるエラー原因を判別し、
前記再送信処理では、前記判定処理にて予め定められた前記エラー原因である特定エラー原因が判別された場合には、該判定処理が行われた前記未完了デバイスに対し、前記第2タスク処理コマンドを送信し、
前記判定処理で前記特定エラー原因とは異なる判別結果が得られた場合には、該判定処理が行われた前記未完了デバイスに前記タスク処理を実行させるための手動実行メッセージを、該未完了デバイスに対応する端末に対し送信する第1手動実行処理を前記制御部にさらに実行させる
管理プログラム。
【請求項3】
請求項2に記載の管理プログラムであって、
前記特定エラー原因とは、前記未完了デバイスに対する操作に基づくものである
管理プログラム。
【請求項4】
請求項2に記載の管理プログラムであって、
前記判定処理では、前記未完了デバイスの通信不良に関する前記エラー原因を、前記特定エラー原因ではない前記エラー原因として判別し、
前記第1手動実行処理では、前記判定処理で前記通信不良に関する前記エラー原因が判別された場合には、該判定処理が行われた前記未完了デバイスに対応する端末に、前記手動実行メッセージを送信する
管理プログラム。
【請求項5】
請求項2に記載の管理プログラムであって、
前記判定処理では、前記未完了デバイスの通信不良に関する前記エラー原因を、前記特定エラー原因として判別し、
前記再送信処理では、前記判定処理で前記通信不良に関する前記エラー原因が判別された前記未完了デバイスの通信が回復すると、該未完了デバイスに対し、前記第2タスク処理コマンドを送信する
管理プログラム。
【請求項6】
請求項2に記載の管理プログラムであって、
前記第1手動実行処理では、前記判定処理で前記エラー原因を判別できなかった場合には、該判定処理が行われた前記未完了デバイスに対応する端末に、前記手動実行メッセージを送信する
管理プログラム。
【請求項7】
請求項1から請求項6のうちのいずれか1項に記載の管理プログラムであって、
前記判定処理では、前記第2タスク処理コマンドに基づく前記タスク処理が完了したか否かをさらに判定し、
前記再送信処理では、前記第2タスク処理コマンドを送信した回数が上限回数に達するまで、前記未完了デバイスに対し前記第2タスク処理コマンドを送信し、
前記第2タスク処理コマンドを送信した回数が前記上限回数に達した前記未完了デバイスに対応する端末に、該未完了デバイスに前記タスク処理を実行させるための手動実行メッセージを送信する第2手動実行処理を、前記制御部にさらに実行させる
管理プログラム。
【請求項8】
請求項1から請求項6のうちのいずれか1項に記載の管理プログラムであって、
前記報知処理では、前記通信部を介して、前記未完了デバイスに対し、該未完了デバイスに設けられた報知部にて、該未完了デバイスにて前記タスク処理が実行されることを報知するよう指示する報知コマンドを送信する
管理プログラム。
【請求項9】
請求項1から請求項6のうちのいずれか1項に記載の管理プログラムであって、
前記報知処理では、前記通信部を介して、前記未完了デバイスに対し、該未完了デバイスを制御する端末にて、該未完了デバイスにて前記タスク処理が実行されることを報知するよう指示する報知コマンドを送信する
管理プログラム。
【請求項10】
請求項1から請求項6のうちのいずれか1項に記載の管理プログラムであって、
前記報知処理では、前記通信部を介して、前記未完了デバイスに対応する端末に対し、該未完了デバイスにて前記タスク処理が実行されることを報知する再実行メッセージを送信する
管理プログラム。
(【請求項11】以降は省略されています)
発明の詳細な説明
【技術分野】
【0001】
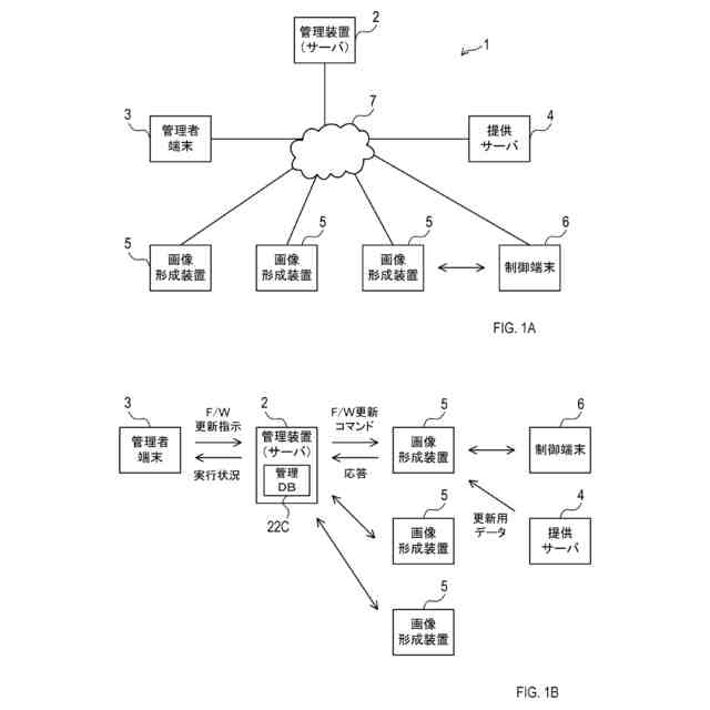
本開示は、複数のデバイスを管理する技術に関する。
続きを表示(約 1,600 文字)
【背景技術】
【0002】
特許文献1に記載されているように、インターネット等のネットワークを介して管理サーバと複数の画像形成装置とを接続し、管理サーバにて各画像形成装置の稼働状態を一元的に管理する技術が知られている。特許文献1によれば、管理サーバは、ネットワークを介して各画像形成装置のファームウェアを自動更新することや、ファームウェアの更新への同意又は拒否を受け付けることが可能となっている。
【先行技術文献】
【特許文献】
【0003】
特開2017-16393号公報
【発明の概要】
【発明が解決しようとする課題】
【0004】
しかし、特許文献1の技術では、画像形成装置のファームウェアの自動更新に問題が発生した場合の処理については、十分に開示されていない。
本開示の一局面は、デバイスのタスク管理についての新たな方法を提供する。
【課題を解決するための手段】
【0005】
本開示の一態様は、通信部と、制御部と、を備えた管理装置における制御部が実行可能な管理プログラムであって、制御部に、送信処理と、判定処理と、再送信処理と、報知処理と、を実行させる。送信処理は、通信部を介して、複数のデバイスに対し、タスク処理の実行を指示する第1タスク処理コマンドを送信する。判定処理は、通信部を介して取得した情報に基づき、複数のデバイスでのタスク処理が完了したか否かを判定する。再送信処理は、複数のデバイスのうち、判定処理にてタスク処理が未完了と判定されたデバイスである未完了デバイスに対し、通信部を介して、タスク処理の実行を指示する第2タスク処理コマンドを送信する。報知処理は、第2タスク処理コマンドにより、未完了デバイスにてタスク処理が実行されることを、該未完了デバイスのユーザ及び/又は管理者に報知する。
【0006】
上記構成によれば、未完了デバイスのユーザ及び/又は管理者に対して報知処理が行われるため、第2タスク処理コマンドの送信による未完了デバイスでのタスク処理の自動的な実行が妨げられるのを抑制できる。したがって、より確実に、未完了デバイスにてタスク処理を実行できる。
【0007】
また、本開示の別の態様は、上記プログラムにより動作するコンピュータに相当する装置や、上記プログラムにより実現される方法である。このような態様によれば、より確実に、未完了デバイスにてタスク処理を実行できる。
【0008】
本開示の一態様は、通信部と、制御部と、を備えた画像形成装置における制御部が実行可能な実行プログラムであって、制御部に、受信処理と、報知処理と、を実行させる。受信処理は、通信部を介して、タスク処理の実行を指示するタスク処理コマンドを受信する。報知処理は、受信処理により、同一のタスク処理の実行を指示するタスク処理コマンドを、2以上の所定の回数にわたり受信すると、画像形成装置にてタスク処理が実行されることを、画像形成装置のユーザ及び/又は管理者に報知する。
【0009】
上記構成によれば、画像形成装置のユーザ及び/又は管理者に対して報知処理が行われるため、タスク処理コマンドの再送信による画像形成装置でのタスク処理の自動的な実行が妨げられるのを抑制できる。したがって、より確実に、画像形成装置にてタスク処理を実行できる。
【0010】
また、本開示の別の態様は、上記プログラムにより動作するコンピュータに相当する装置や、上記プログラムにより実現される方法である。このような態様によれば、より確実に、画像形成装置にてタスク処理を実行できる。
【図面の簡単な説明】
(【0011】以降は省略されています)
この特許をJ-PlatPat(特許庁公式サイト)で参照する
関連特許
個人
裁判のAI化
2か月前
個人
工程設計支援装置
1か月前
個人
フラワーコートA
2か月前
個人
地球保全システム
5日前
個人
介護情報提供システム
2か月前
個人
冷凍食品輸出支援構造
1か月前
個人
為替ポイント伊達夢貯
1か月前
個人
設計支援システム
2か月前
個人
表変換編集支援システム
25日前
個人
設計支援システム
2か月前
個人
携帯情報端末装置
1か月前
個人
知財出願支援AIシステム
1か月前
個人
結婚相手紹介支援システム
1か月前
個人
行動時間管理システム
27日前
株式会社カクシン
支援装置
2か月前
個人
パスワード管理支援システム
25日前
個人
AIによる情報の売買の仲介
1か月前
個人
海外支援型農作物活用システム
17日前
個人
アンケート支援システム
2か月前
個人
AIキャラクター制御システム
25日前
個人
システム及びプログラム
18日前
株式会社キーエンス
受発注システム
4日前
日本精機株式会社
施工管理システム
1か月前
個人
食品レシピ生成システム
4日前
個人
パスポートレス入出国システム
1か月前
株式会社キーエンス
受発注システム
4日前
株式会社キーエンス
受発注システム
4日前
株式会社アジラ
進入判定装置
1か月前
サクサ株式会社
中継装置
2か月前
キヤノン株式会社
表示システム
4日前
個人
冷凍加工連携型農場運用システム
1か月前
個人
音声対話型帳票生成支援システム
25日前
個人
SaaS型勤務調整支援システム
25日前
大同特殊鋼株式会社
疵判定方法
11日前
個人
食事受注会計処理システム
1か月前
個人
人格進化型対話応答制御システム
25日前
続きを見る
他の特許を見る