TOP
|
特許
|
意匠
|
商標
特許ウォッチ
Twitter
他の特許を見る
公開番号
2025146356
公報種別
公開特許公報(A)
公開日
2025-10-03
出願番号
2024047084
出願日
2024-03-22
発明の名称
プリンタ及びプリンタのためのコンピュータプログラム
出願人
ブラザー工業株式会社
代理人
弁理士法人 快友国際特許事務所
主分類
B41J
29/38 20060101AFI20250926BHJP(印刷;線画機;タイプライター;スタンプ)
要約
【課題】プリンタが端末装置から印刷指示を受信する状況において、セキュリティの向上と、ユーザの利便性の向上と、を両立し得る技術を提供すること。
【解決手段】プリンタは、印刷実行部と、特定の端末装置から印刷指示を受信する指示受信部と、印刷指示に従った印刷を印刷実行部に実行させる印刷制御部と、を備え、印刷制御部は、特定の端末装置から印刷指示が受信され、かつ、プリンタの周囲に特定の端末装置とは異なる端末装置が存在する場合に、認証情報の入力をユーザに要求し、ユーザによって入力される認証情報の認証が成功する場合に、印刷を印刷実行部に実行させ、特定の端末装置から印刷指示が受信され、かつ、プリンタの周囲に異なる端末装置が存在しない場合に、認証情報の入力をユーザに要求することなく、印刷を印刷実行部に実行させる。
【選択図】図2
特許請求の範囲
【請求項1】
プリンタであって、
Wi-Fi規格に従ったWi-Fi通信を実行するためのWi-Fiインターフェースと、
印刷実行部と、
前記プリンタと特定の端末装置との双方が所属するWi-Fiネットワークを利用して、前記Wi-Fiインターフェースを介して、前記特定の端末装置から印刷指示を受信する指示受信部と、
前記印刷指示に従った印刷を前記印刷実行部に実行させる印刷制御部と、
を備え、
前記印刷制御部は、
前記特定の端末装置から前記印刷指示が受信され、かつ、前記プリンタの周囲に前記特定の端末装置とは異なる端末装置が存在する場合に、認証情報の入力をユーザに要求し、前記ユーザによって入力される前記認証情報の認証が成功する場合に、前記印刷を前記印刷実行部に実行させ、
前記特定の端末装置から前記印刷指示が受信され、かつ、前記プリンタの周囲に前記異なる端末装置が存在しない場合に、前記認証情報の入力を前記ユーザに要求することなく、前記印刷を前記印刷実行部に実行させる、
プリンタ。
続きを表示(約 2,800 文字)
【請求項2】
前記印刷制御部は、
前記特定の端末装置から前記印刷指示が受信され、かつ、前記プリンタの周囲に前記異なる端末装置が存在し、かつ、前記プリンタと前記特定の端末装置との間の距離が所定距離以上である場合に、前記認証情報の入力を前記ユーザに要求し、
前記特定の端末装置から前記印刷指示が受信され、かつ、前記プリンタの周囲に前記異なる端末装置が存在し、かつ、前記プリンタと前記特定の端末装置との間の距離が前記所定距離未満である場合に、前記認証情報の入力を前記ユーザに要求しない、
請求項1に記載のプリンタ。
【請求項3】
前記プリンタと前記特定の端末装置との間の距離は、所定信号を前記特定の端末装置に送信する時刻と、前記特定の端末装置から応答信号を受信する時刻と、が利用されることによって特定される、請求項2に記載のプリンタ。
【請求項4】
前記印刷制御部は、
前記特定の端末装置から前記印刷指示が受信され、かつ、前記プリンタの周囲に前記異なる端末装置が存在し、かつ、前記プリンタと前記特定の端末装置とが同じクラスタに所属しない場合に、前記認証情報の入力を前記ユーザに要求し、
前記特定の端末装置から前記印刷指示が受信され、かつ、前記プリンタの周囲に前記異なる端末装置が存在し、かつ、前記プリンタと前記特定の端末装置とが前記同じクラスタに所属する場合に、前記認証情報の入力を前記ユーザに要求しない、
請求項1に記載のプリンタ。
【請求項5】
プリンタであって、
Wi-Fi規格に従ったWi-Fi通信を実行するためのWi-Fiインターフェースと、
印刷実行部と、
前記プリンタと特定の端末装置との双方が所属するWi-Fiネットワークを利用して、前記Wi-Fiインターフェースを介して、前記特定の端末装置から印刷指示を受信する指示受信部と、
前記印刷指示に従った印刷を前記印刷実行部に実行させる印刷制御部と、
を備え、
前記印刷制御部は、
前記特定の端末装置から前記印刷指示が受信され、かつ、前記プリンタと前記特定の端末装置とが同じクラスタに所属しない場合に、認証情報の入力をユーザに要求し、前記ユーザによって入力される前記認証情報の認証が成功する場合に、前記印刷を前記印刷実行部に実行させ、
前記特定の端末装置から前記印刷指示が受信され、かつ、前記プリンタと前記特定の端末装置とが前記同じクラスタに所属する場合に、前記認証情報の入力を前記ユーザに要求することなく、前記印刷を前記印刷実行部に実行させる、
プリンタ。
【請求項6】
前記プリンタは、さらに、
前記プリンタが所属する前記クラスタに関する情報を外部に通知する通知信号を送信する通知送信部を備え、
前記通知信号を受信した前記特定の端末装置が前記クラスタに所属することによって、前記プリンタと前記特定の端末装置とが前記同じクラスタに所属する、請求項4又は5に記載のプリンタ。
【請求項7】
前記プリンタは、さらに、
前記プリンタと前記特定の端末装置とが前記Wi-Fiネットワークに所属する前に、前記特定の端末装置から検索信号を受信する受信部と、
前記特定の端末装置から前記検索信号が受信される場合に、検索応答信号を前記特定の端末装置に送信する応答送信部と、
を備える、請求項1又は5に記載のプリンタ。
【請求項8】
前記プリンタは、
Wi-Fi規格のWi-Fi Aware方式に従って、前記特定の端末装置から前記検索信号を受信し、
前記Wi-Fi Aware方式に従って、前記検索応答信号を前記特定の端末装置に送信し、
前記Wi-Fiネットワークは、前記Wi-Fi Aware方式に従った無線接続が確立されることによって形成されるネットワークである、
請求項7に記載のプリンタ。
【請求項9】
プリンタのためのコンピュータプログラムあって、
前記プリンタは、
Wi-Fi規格に従ったWi-Fi通信を実行するためのWi-Fiインターフェースと、
印刷実行部と、
コンピュータと、
を備え、
前記コンピュータプログラムは、前記コンピュータを、以下の各部、即ち、
前記プリンタと特定の端末装置との双方が所属するWi-Fiネットワークを利用して、前記Wi-Fiインターフェースを介して、前記特定の端末装置から印刷指示を受信する指示受信部と、
前記印刷指示に従った印刷を前記印刷実行部に実行させる印刷制御部と、
として機能させ、
前記印刷制御部は、
前記特定の端末装置から前記印刷指示が受信され、かつ、前記プリンタの周囲に前記特定の端末装置とは異なる端末装置が存在する場合に、認証情報の入力をユーザに要求し、前記ユーザによって入力される前記認証情報の認証が成功する場合に、前記印刷を前記印刷実行部に実行させ、
前記特定の端末装置から前記印刷指示が受信され、かつ、前記プリンタの周囲に前記異なる端末装置が存在しない場合に、前記認証情報の入力を前記ユーザに要求することなく、前記印刷を前記印刷実行部に実行させる、
コンピュータプログラム。
【請求項10】
プリンタのためのコンピュータプログラムであって、
前記プリンタは、
Wi-Fi規格に従ったWi-Fi通信を実行するためのWi-Fiインターフェースと、
印刷実行部と、
コンピュータと、
を備え、
前記コンピュータプログラムは、前記コンピュータを、以下の各部、即ち、
前記プリンタと特定の端末装置との双方が所属するWi-Fiネットワークを利用して、前記Wi-Fiインターフェースを介して、前記特定の端末装置から印刷指示を受信する指示受信部と、
前記印刷指示に従った印刷を前記印刷実行部に実行させる印刷制御部と、
として機能させ、
前記印刷制御部は、
前記特定の端末装置から前記印刷指示が受信され、かつ、前記プリンタと前記特定の端末装置とが同じクラスタに所属しない場合に、認証情報の入力をユーザに要求し、前記ユーザによって入力される前記認証情報の認証が成功する場合に、前記印刷を前記印刷実行部に実行させ、
前記特定の端末装置から前記印刷指示が受信され、かつ、前記プリンタと前記特定の端末装置とが前記同じクラスタに所属する場合に、前記認証情報の入力を前記ユーザに要求することなく、前記印刷を前記印刷実行部に実行させる、
コンピュータプログラム。
発明の詳細な説明
【技術分野】
【0001】
本明細書は、端末装置から印刷指示を受信するプリンタに関する。
続きを表示(約 2,600 文字)
【背景技術】
【0002】
特許文献1には、画像入出力装置とクライアント端末とを備えるシステムが開示されている。画像入出力装置は、プリントジョブの送信元のクライアント端末との距離が所定距離以内である場合に、プリントジョブの実行を直ちに行う。一方、画像入出力装置は、クライアント端末との距離が所定距離以内でない場合に、プリントジョブの実行を直ちに行わずに、パスワードが入力されてからプリントジョブの実行を行う。
【先行技術文献】
【特許文献】
【0003】
特開2009-146361号公報
【発明の概要】
【発明が解決しようとする課題】
【0004】
本明細書では、プリンタが端末装置から印刷指示を受信する状況において、セキュリティの向上と、ユーザの利便性の向上と、を両立し得る技術を提供する。
【課題を解決するための手段】
【0005】
本明細書は、プリンタを開示する。プリンタは、Wi-Fi規格に従ったWi-Fi通信を実行するためのWi-Fiインターフェースと、印刷実行部と、前記プリンタと特定の端末装置との双方が所属するWi-Fiネットワークを利用して、前記Wi-Fiインターフェースを介して、前記特定の端末装置から印刷指示を受信する指示受信部と、前記印刷指示に従った印刷を前記印刷実行部に実行させる印刷制御部と、を備え、前記印刷制御部は、前記特定の端末装置から前記印刷指示が受信され、かつ、前記プリンタの周囲に前記特定の端末装置とは異なる端末装置が存在する場合に、認証情報の入力をユーザに要求し、前記ユーザによって入力される前記認証情報の認証が成功する場合に、前記印刷を前記印刷実行部に実行させ、前記特定の端末装置から前記印刷指示が受信され、かつ、前記プリンタの周囲に前記異なる端末装置が存在しない場合に、前記認証情報の入力を前記ユーザに要求することなく、前記印刷を前記印刷実行部に実行させてもよい。
【0006】
上記の構成によると、プリンタは、特定の端末装置から印刷指示を受信し、かつ、プリンタの周囲に異なる端末装置が存在する場合に、認証情報の入力をユーザに要求する。そして、プリンタは、ユーザによって入力された認証情報の認証が成功する場合に、印刷指示に従った印刷を実行する。仮に、上記の異なる端末装置が存在する場合には、認証が実行されないと、第三者によって印刷結果が取得されるおそれがある。これに対し、上記の構成によると、認証が実行されるので、第三者によって印刷結果が取得されるのを抑制でき、この結果、セキュリティが向上する。一方、プリンタは、特定の端末装置から印刷指示を受信し、かつ、プリンタの周囲に異なる端末装置が存在しない場合に、認証情報の入力をユーザに要求することなく、印刷を実行する。プリンタの周囲に異なる端末装置が存在しない場合には、第三者によって印刷結果が取得される可能性は低い。上記の構成によると、このような状況ではユーザが認証情報を入力せずに済むので、ユーザの利便性が向上する。
【0007】
本明細書は、別のプリンタも開示する。プリンタは、Wi-Fi規格に従ったWi-Fi通信を実行するためのWi-Fiインターフェースと、印刷実行部と、前記プリンタと特定の端末装置との双方が所属するWi-Fiネットワークを利用して、前記Wi-Fiインターフェースを介して、前記特定の端末装置から印刷指示を受信する指示受信部と、前記印刷指示に従った印刷を前記印刷実行部に実行させる印刷制御部と、を備え、前記印刷制御部は、前記特定の端末装置から前記印刷指示が受信され、かつ、前記プリンタと前記特定の端末装置とが同じクラスタに所属しない場合に、認証情報の入力をユーザに要求し、前記ユーザによって入力される前記認証情報の認証が成功する場合に、前記印刷を前記印刷実行部に実行させ、前記特定の端末装置から前記印刷指示が受信され、かつ、前記プリンタと前記特定の端末装置とが前記同じクラスタに所属する場合に、前記認証情報の入力を前記ユーザに要求することなく、前記印刷を前記印刷実行部に実行させてもよい。
【0008】
上記の構成によると、プリンタは、特定の端末装置から印刷指示を受信し、かつ、プリンタと特定の端末装置とが同じクラスタに所属しない場合に、認証情報の入力をユーザに要求する。そして、プリンタは、ユーザによって入力された認証情報の認証が成功する場合に、印刷指示に従った印刷を実行する。プリンタと特定の端末装置とが同じクラスタに所属しない場合には、プリンタと特定の端末装置との間の距離が比較的大きい可能性が高い。仮に、このような状況において、認証が実行されないと、第三者よって印刷結果が取得されるおそれがある。これに対し、上記の構成によると、認証が実行されるので、第三者によって印刷結果が取得されるのを抑制でき、この結果、セキュリティが向上する。一方、プリンタは、特定の端末装置から印刷指示を受信し、かつ、プリンタと特定の端末装置とが同じクラスタに所属する場合に、認証情報の入力をユーザに要求することなく、印刷を実行する。プリンタと特定の端末装置とが同じクラスタに所属する場合には、プリンタと特定の端末装置との間の距離が比較的小さい可能性が高い。このような状況では、第三者によって印刷結果が取得される可能性は低い。上記の構成によると、このような状況ではユーザが認証情報を入力せずに済むので、ユーザの利便性が向上する。
【0009】
上記のプリンタを実現するためのコンピュータプログラム、当該コンピュータプログラムを記憶するコンピュータ可読記録媒体、及び、プリンタによって実行される方法も、新規で有用である。
【図面の簡単な説明】
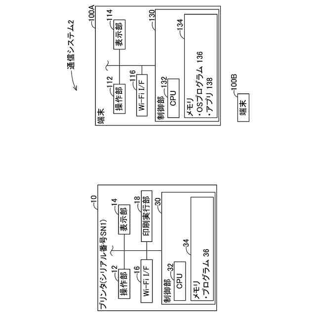
【0010】
通信システムの構成図である。
プリンタによって実行される処理のフローチャートである。
ケースAのシーケンス図である。
図3の続きのシーケンス図である。
ケースBのシーケンス図である。
【発明を実施するための形態】
(【0011】以降は省略されています)
この特許をJ-PlatPat(特許庁公式サイト)で参照する
関連特許
ブラザー工業株式会社
空調機
16日前
ブラザー工業株式会社
空調機
16日前
ブラザー工業株式会社
空調機
16日前
ブラザー工業株式会社
空調機
16日前
ブラザー工業株式会社
空調機
16日前
ブラザー工業株式会社
制御装置
6日前
ブラザー工業株式会社
カセット
16日前
ブラザー工業株式会社
カセット
16日前
ブラザー工業株式会社
カセット
16日前
ブラザー工業株式会社
カセット
16日前
ブラザー工業株式会社
搬送装置
4日前
ブラザー工業株式会社
液体吐出装置
10日前
ブラザー工業株式会社
画像形成装置
2日前
ブラザー工業株式会社
画像形成装置
10日前
ブラザー工業株式会社
液体吐出装置
10日前
ブラザー工業株式会社
画像形成装置
2日前
ブラザー工業株式会社
画像形成装置
3日前
ブラザー工業株式会社
画像形成装置
16日前
ブラザー工業株式会社
画像形成装置
16日前
ブラザー工業株式会社
画像形成装置
2日前
ブラザー工業株式会社
画像形成装置
2日前
ブラザー工業株式会社
画像形成装置
6日前
ブラザー工業株式会社
画像形成装置
16日前
ブラザー工業株式会社
液体吐出ヘッド
6日前
ブラザー工業株式会社
液体吐出ヘッド
2日前
ブラザー工業株式会社
圧電アクチュエータ
17日前
ブラザー工業株式会社
サポートプログラム
9日前
ブラザー工業株式会社
システム及び管理装置
4日前
ブラザー工業株式会社
システム及びプログラム
4日前
ブラザー工業株式会社
システム及びプログラム
4日前
ブラザー工業株式会社
システムおよび画像形成装置
10日前
ブラザー工業株式会社
システムおよび画像形成装置
10日前
ブラザー工業株式会社
プログラム及び情報処理装置
6日前
ブラザー工業株式会社
システムおよび画像形成装置
10日前
ブラザー工業株式会社
システムおよび画像形成装置
10日前
ブラザー工業株式会社
プリンタ、及び切断ユニット
6日前
続きを見る
他の特許を見る