TOP
|
特許
|
意匠
|
商標
特許ウォッチ
Twitter
他の特許を見る
公開番号
2025146521
公報種別
公開特許公報(A)
公開日
2025-10-03
出願番号
2024047353
出願日
2024-03-22
発明の名称
画像形成装置
出願人
ブラザー工業株式会社
代理人
弁理士法人第一テクニカル国際特許事務所
主分類
G03G
21/00 20060101AFI20250926BHJP(写真;映画;光波以外の波を使用する類似技術;電子写真;ホログラフイ)
要約
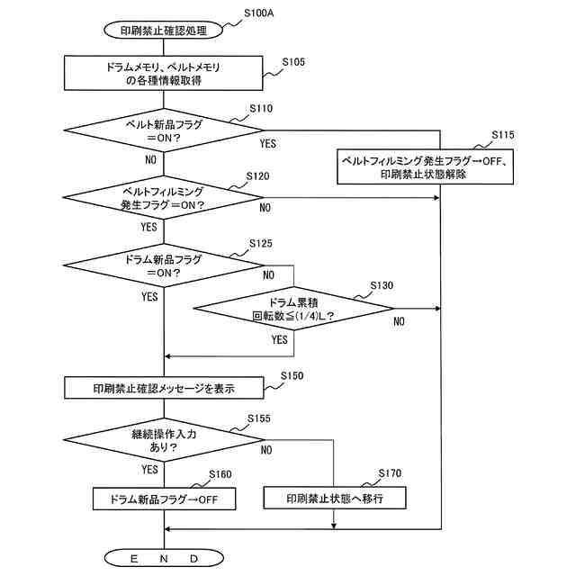
【課題】新品のドラムカートリッジがベルトフィルミングの影響を受けて性能が低下するのを抑制する。
【解決手段】感光体ドラム53を有して着脱可能なドラムカートリッジ51と、感光体ドラム53と接触する転写ベルト73を有するベルトユニット70と、コントローラ100と、を備え、コントローラ100は、ドラムカートリッジ51が新品か否かを判定するステップS125と、転写ベルト73にベルトフィルミングが発生しているか否かを判定するステップS120と、ドラムカートリッジ51が新品であると判定され、かつ、ベルトフィルミングが発生していると判定された場合に、ドラムカートリッジ51及びベルトユニット70を用いた印刷を禁止するステップS135と、を実行する。
【選択図】図5
特許請求の範囲
【請求項1】
筐体と、
前記筐体に着脱可能なドラムカートリッジであって、感光体ドラムを有するドラムカートリッジと、
前記感光体ドラムと接触する転写ベルトを有するベルトユニットと、
コントローラと、
を備え、
前記コントローラは、
前記ドラムカートリッジが新品か否かを判定するドラム判定処理と、
前記転写ベルトにベルトフィルミングが発生しているか否かを判定するフィルミング判定処理と、
前記ドラム判定処理で前記ドラムカートリッジが新品であると判定され、かつ、前記フィルミング判定処理で前記ベルトフィルミングが発生していると判定された場合に、前記ドラムカートリッジ及び前記ベルトユニットを用いた印刷を禁止する第1印刷禁止処理と、
を実行する
ことを特徴とする画像形成装置。
続きを表示(約 1,400 文字)
【請求項2】
感光体ドラムを有するドラムカートリッジと、
前記感光体ドラムと接触する転写ベルトを有するベルトユニットと、
コントローラと、
を備え、
前記コントローラは、
前記ドラムカートリッジが新品か否かを判定するドラム判定処理と、
前記転写ベルトにベルトフィルミングが発生しているか否かを判定するフィルミング判定処理と、
前記ドラム判定処理で前記ドラムカートリッジが新品であると判定され、かつ、前記フィルミング判定処理で前記ベルトフィルミングが発生していると判定された場合に、新品の前記ドラムカートリッジを使用するか否かを表示するための表示信号を出力する第1問い合わせ表示処理と、
を実行する
ことを特徴とする画像形成装置。
【請求項3】
表示部を有し、
前記コントローラは、
前記第1問い合わせ表示処理において前記表示信号を前記表示部に出力する
ことを特徴とする請求項2記載の画像形成装置。
【請求項4】
前記コントローラは、
前記フィルミング判定処理を実行した後、前記ドラム判定処理を実行する
ことを特徴とする請求項1又は請求項2記載の画像形成装置。
【請求項5】
前記コントローラは、さらに、
前記ベルトユニットが新品か否かを判定するベルト判定処理
を実行する
ことを特徴とする請求項1又は請求項2記載の画像形成装置。
【請求項6】
前記コントローラは、
前記ベルト判定処理で前記ベルトユニットが新品ではないと判定された場合、前記フィルミング判定処理を実行した後、前記ドラム判定処理を実行する。
ことを特徴とする請求項5記載の画像形成装置。
【請求項7】
前記コントローラは、
前記ベルト判定処理で前記ベルトユニットが新品であると判定された場合、前記フィルミング判定処理の実行を省略して前記ドラム判定処理を実行する
ことを特徴とする請求項5記載の画像形成装置。
【請求項8】
前記ドラムカートリッジは、
前記ドラムカートリッジが新品であることを表すドラム新品フラグを記憶可能なドラムメモリを有し、
前記画像形成装置は、
前記ドラムメモリと通信可能なドラム通信部
をさらに備える
ことを特徴とする請求項1又は請求項2記載の画像形成装置。
【請求項9】
前記コントローラは、前記ドラム判定処理において、
前記ドラム通信部を介し前記ドラムメモリから取得された前記ドラム新品フラグに基づき、前記ドラムカートリッジが新品か否かの判定を行う
ことを特徴とする請求項8記載の画像形成装置。
【請求項10】
前記ベルトユニットは、
前記転写ベルトにおけるベルトフィルミングの発生の有無を表すベルトフィルミング情報を記憶可能なベルトメモリを有し、
前記画像形成装置は、
前記ベルトメモリと通信可能なベルト通信部
をさらに備える
ことを特徴とする請求項1又は請求項2記載の画像形成装置。
(【請求項11】以降は省略されています)
発明の詳細な説明
【技術分野】
【0001】
本開示は、感光体ドラム及び転写ベルトを備えた画像形成装置に関する。
続きを表示(約 1,700 文字)
【背景技術】
【0002】
電子写真方式の画像形成装置では、感光体ドラム上にトナー像が形成される。そして、トナー像は、転写ベルトと感光体ドラムによって搬送された用紙上に転写される。それにより、用紙上に画像が形成される。転写ベルトには、印刷枚数が多くなると、紙粉やトナー等の付着物によってフィルム状に覆われる、いわゆるベルトフィルミングが発生する。特許文献1に記載の画像形成装置では、転写ベルトに発生したベルトフィルミングを、光学センサを用いて検知することが開示されている。
【先行技術文献】
【特許文献】
【0003】
特開2016-20970号公報
【発明の概要】
【発明が解決しようとする課題】
【0004】
転写ベルトにベルトフィルミングが発生した状態で、感光体ドラムを有するドラムカートリッジを新品に交換する場合がある。この場合、交換後の新品のドラムカートリッジに、転写ベルトに発生したベルトフィルミングに基づく付着物が付着し、感光体ドラムの性能が低下してしまうおそれがある。
【0005】
本発明の目的は、新品のドラムカートリッジの感光体ドラムの性能が低下するのを抑制できる画像形成装置を提供することにある。
【課題を解決するための手段】
【0006】
上記目的を達成するために、本願第1の開示の画像形成装置は、筐体と、前記筐体に着脱可能なドラムカートリッジであって、感光体ドラムを有するドラムカートリッジと、前記感光体ドラムと接触する転写ベルトを有するベルトユニットと、コントローラと、を備え、前記コントローラは、前記ドラムカートリッジが新品か否かを判定するドラム判定処理と、前記転写ベルトにベルトフィルミングが発生しているか否かを判定するフィルミング判定処理と、前記ドラム判定処理で前記ドラムカートリッジが新品であると判定され、かつ、前記フィルミング判定処理で前記ベルトフィルミングが発生していると判定された場合に、前記ドラムカートリッジ及び前記ベルトユニットを用いた印刷を禁止する第1印刷禁止処理と、を実行する。
【0007】
本願第1の開示の画像形成装置は、ドラム判定処理において、感光体ドラムが新品か否かが判定される。フィルミング判定処理では転写ベルトにベルトフィルミングが発生したか否かが判定される。
【0008】
感光体ドラムが交換時期となって新品に交換されており、かつ、ベルトフィルミングが発生している場合には、ドラム判定処理及びフィルミング判定処理の両方の判定が満たされるため、第1印刷禁止処理が行われる。第1印刷禁止処理では、感光体ドラム及び転写ベルトを用いた印刷が禁止される。そのため、新品の感光体ドラムが古い転写ベルトにおけるベルトフィルミングの悪影響を受けて性能が低下するのを抑制することができる。
【0009】
また上記目的を達成するために、本願第2の開示の画像形成装置は、感光体ドラムを有するドラムカートリッジと、前記感光体ドラムと接触する転写ベルトを有するベルトユニットと、コントローラと、を備え、前記コントローラは、前記ドラムカートリッジが新品か否かを判定するドラム判定処理と、前記転写ベルトにベルトフィルミングが発生しているか否かを判定するフィルミング判定処理と、前記ドラム判定処理で前記ドラムカートリッジが新品であると判定され、かつ、前記フィルミング判定処理で前記ベルトフィルミングが発生していると判定された場合に、新品の前記ドラムカートリッジを使用するか否かを表示するための表示信号を出力する第1問い合わせ表示処理と、を実行する。
【0010】
本願第2の開示の画像形成装置は、ドラム判定処理において、感光体ドラムが新品か否かが判定される。フィルミング判定処理では転写ベルトにベルトフィルミングが発生したか否かが判定される。
(【0011】以降は省略されています)
この特許をJ-PlatPat(特許庁公式サイト)で参照する
関連特許
個人
表示装置
6日前
個人
雨用レンズカバー
4日前
株式会社シグマ
絞りユニット
1か月前
キヤノン株式会社
撮像装置
1か月前
キヤノン株式会社
撮像装置
1か月前
キヤノン株式会社
撮像装置
26日前
平和精機工業株式会社
雲台
1か月前
日本精機株式会社
車両用投射装置
12日前
株式会社リコー
画像形成装置
22日前
株式会社リコー
画像形成装置
1か月前
株式会社リコー
画像形成装置
2か月前
株式会社リコー
画像形成装置
2か月前
株式会社リコー
画像形成装置
2か月前
株式会社リコー
画像形成装置
1か月前
キヤノン株式会社
画像形成装置
2か月前
キヤノン株式会社
トナー
13日前
株式会社オプトル
プロジェクタ
2か月前
キヤノン株式会社
画像形成装置
2か月前
キヤノン株式会社
画像形成装置
2か月前
シャープ株式会社
画像形成装置
2か月前
キヤノン株式会社
トナー
18日前
キヤノン株式会社
画像形成装置
1か月前
キヤノン株式会社
画像形成装置
2か月前
キヤノン株式会社
画像形成装置
2か月前
ブラザー工業株式会社
再生方法
2か月前
キヤノン株式会社
画像形成装置
7日前
株式会社オプトル
プロジェクタ
25日前
キヤノン株式会社
トナー
今日
キヤノン株式会社
画像形成装置
1か月前
キヤノン株式会社
トナー
1か月前
アイホン株式会社
カメラシステム
12日前
キヤノン株式会社
レンズキャップ
5日前
アイホン株式会社
機器の設置構造
2か月前
スタンレー電気株式会社
照明装置
14日前
アイホン株式会社
機器の設置構造
2か月前
キヤノン株式会社
現像装置
11日前
続きを見る
他の特許を見る