TOP
|
特許
|
意匠
|
商標
特許ウォッチ
Twitter
他の特許を見る
公開番号
2025142960
公報種別
公開特許公報(A)
公開日
2025-10-01
出願番号
2024042615
出願日
2024-03-18
発明の名称
システム及びプログラム
出願人
ブラザー工業株式会社
代理人
弁理士法人ネクスト
主分類
G06Q
30/016 20230101AFI20250924BHJP(計算;計数)
要約
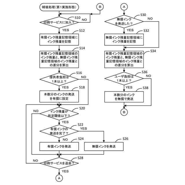
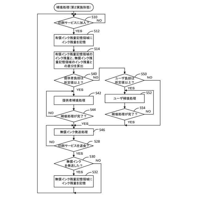
【課題】サービス提供者とユーザとの間の経済的な負担の不均衡を抑制することが可能となる技術を提供する。
【解決手段】サーバCPU32Aは、プリンタ20が印刷サービスに加入する際のインク残量を示す第1値を特定し(S12)、印刷サービスを退会する際のインク残量を示す第2値を特定し(S32)、第1値と第2値との差分を決定し(S14,S34)、決定した差分に基づいて、印刷サービスを締結したプリンタ20のユーザと、印刷サービスによりサービスを提供したサービス提供者とのいずれかに、インクに係る費用を補填する(S18,S38)。
【選択図】 図2
特許請求の範囲
【請求項1】
消耗品を収容する収容部を備える消費装置と、制御装置と、記憶装置と、を含むシステムであって、
前記記憶装置は、前記収容部に収容された消耗品の消費状態を示す値を記憶し、
前記制御装置は、
前記消費装置に対して所定の利用契約を締結する際の前記消費状態を示す第1値を特定する第1特定処理と、
前記所定の利用契約を解約する際の前記消費状態を示す第2値を特定する第2特定処理と、
前記第1値と前記第2値との差分を決定する決定処理と、
前記決定処理において決定した差分に基づいて、前記所定の利用契約を締結した前記消費装置のユーザと、前記所定の利用契約によりサービスを提供したサービス提供者とのいずれかに、前記消耗品に係る費用を補填する補填処理と、
を実行する、
システム。
続きを表示(約 1,300 文字)
【請求項2】
前記補填処理では、前記差分が所定の閾値以上である場合に、前記ユーザ及び前記サービス提供者のうち前記費用をより多く負担している方に前記費用を補填する、
請求項1に記載のシステム。
【請求項3】
前記補填処理では、前記ユーザが前記サービス提供者より前記費用を多く負担している場合に、前記消耗品を無償で提供する、
請求項1に記載のシステム。
【請求項4】
前記補填処理では、前記ユーザが前記サービス提供者より前記費用を多く負担している場合に、前記ユーザに前記差分に応じた対価を提供する、
請求項1に記載のシステム。
【請求項5】
前記補填処理では、前記サービス提供者が前記ユーザより前記費用を多く負担している場合に、前記差分に応じた対価を前記ユーザに請求する、
請求項1に記載のシステム。
【請求項6】
前記決定処理では、前記第1値が複数特定された場合には、前記複数の第1値を合計した第1合計値を算出し、前記第2値が複数特定された場合には、前記複数の第2値の合計した第2合計値を算出し、前記第1合計値と前記第2合計値との差分を決定する、
請求項1~5のいずれか1項に記載のシステム。
【請求項7】
前記第1特定処理では、前記所定の利用契約を締結する際の前記消耗品の残量を前記第1値として特定し、
前記第2特定処理では、前記所定の利用契約を解約する際の前記前記消耗品の残量を前記第2値として特定する、
請求項1に記載のシステム。
【請求項8】
消耗品を収容する収容部を備える消費装置と、制御装置と、記憶装置と、を含むシステムであって、
前記記憶装置は、前記収容部に収容された消耗品の消費状態を示す値を記憶し、
前記制御装置は、
前記消費装置に対して所定の利用契約を締結する際の前記消費状態を示す第1値を特定する第1特定処理と、
前記所定の利用契約を解約する際の前記消費状態を示す第2値を特定する第2特定処理と、
前記第1値と前記第2値との差分を決定する決定処理と、
前記決定処理において決定した差分に基づいて、前記所定の利用契約を締結した前記消費装置のユーザに、前記消耗品に関する通知を行う通知処理と、
を実行する、
システム。
【請求項9】
前記制御装置はさらに、
前記決定処理において決定した差分に基づいて、前記所定の利用契約によりサービスを提供したサービス提供者が前記ユーザより前記消耗品に係る費用を多く負担している場合には、前記ユーザに対して前記消耗品の利用を制限する制限処理、
を実行する、
請求項8に記載のシステム。
【請求項10】
前記制限処理では、前記所定の利用契約の締結回数又は解約回数に応じて、前記消耗品の利用の制限量を増大させる、
請求項9に記載のシステム。
(【請求項11】以降は省略されています)
発明の詳細な説明
【技術分野】
【0001】
本願は、消費装置のユーザとサービス提供者との間の経済的な負担の不均衡を抑制する技術に関するものである。
続きを表示(約 1,500 文字)
【背景技術】
【0002】
交換や補充が必要な消耗品に関しては、その消耗品を消費する消費装置に対して締結した契約に応じて配送を行うサービスが知られている。こうしたサービスでは、例えば、サービスの利用費をユーザが支払って、発注時に消耗品に係る費用を支払うことなく消耗品を受け取るものがある。
【0003】
特許文献1には、上記契約を解約する場合、消耗品(トナーカートリッジ30)のメモリ(33)に記憶された識別情報が、消耗品が契約品であることを示すとき、識別情報を、消耗品が通常品であることを示す情報に書き換える書換処理を実行し、契約解約後も引き続き消耗品を利用可能とする発明が開示されている。
【先行技術文献】
【特許文献】
【0004】
特開2021-160229号公報
【発明の概要】
【発明が解決しようとする課題】
【0005】
例えば、上記サービスにおいて、契約をしていない間は消耗品に係る費用をユーザが支払い、契約中はサービス提供者が消耗品に係る費用を負担するような場合が考えられる。このような場合、特許文献1に開示されている発明のように、契約中にサービス提供者が費用を負担した消耗品を契約解約後も引き続き使えるようにすると、サービス提供者の経済的な負担が大きくなる。一方、契約をしていない間にユーザが費用を負担した消耗品を契約後も引き続き使えるようにすると、ユーザの経済的な負担が大きくなる。
【0006】
本願は、サービス提供者とユーザとの間の経済的な負担の不均衡を抑制することが可能となる技術を提供することを目的とする。
【課題を解決するための手段】
【0007】
上記目的を達成するため、本願のシステムは、消耗品を収容する収容部を備える消費装置と、制御装置と、記憶装置と、を含むシステムであって、記憶装置は、収容部に収容された消耗品の消費状態を示す値を記憶し、制御装置は、消費装置に対して所定の利用契約を締結する際の消費状態を示す第1値を特定する第1特定処理と、所定の利用契約を解約する際の消費状態を示す第2値を特定する第2特定処理と、第1値と第2値との差分を決定する決定処理と、決定処理において決定した差分に基づいて、所定の利用契約を締結した消費装置のユーザと、所定の利用契約によりサービスを提供したサービス提供者とのいずれかに、消耗品に係る費用を補填する補填処理と、を実行する。
【0008】
本願のシステムでは、所定の利用契約を締結する際の消費状態を示す第1値と、所定の利用契約を解約する際の消費状態を示す第2値との差分を決定し、決定した差分に基づいて、所定の利用契約を締結した消費装置のユーザと、所定の利用契約によりサービスを提供したサービス提供者とのいずれかに対して、消耗品に係る費用を補填するようにしたので、サービス提供者とユーザとの間の経済的な負担の不均衡を抑制することが可能となる。
【0009】
また、補填処理では、差分が所定の閾値以上である場合に、ユーザ及びサービス提供者のうち費用をより多く負担している方に費用を補填する。これにより、差分が所定の閾値以上である場合に限って、サービス提供者とユーザとの間の経済的な負担の不均衡を抑制することが可能となる。
【0010】
また、補填処理では、ユーザがサービス提供者より費用を多く負担している場合に、消耗品を無償で提供する。これにより、ユーザの経済的な負担を軽減することができる。
(【0011】以降は省略されています)
この特許をJ-PlatPat(特許庁公式サイト)で参照する
関連特許
個人
裁判のAI化
2か月前
個人
フラワーコートA
1か月前
個人
地球保全システム
2日前
個人
工程設計支援装置
1か月前
個人
為替ポイント伊達夢貯
29日前
個人
冷凍食品輸出支援構造
29日前
個人
介護情報提供システム
2か月前
個人
携帯情報端末装置
1か月前
個人
表変換編集支援システム
22日前
個人
設計支援システム
2か月前
個人
設計支援システム
2か月前
個人
結婚相手紹介支援システム
1か月前
個人
知財出願支援AIシステム
29日前
個人
パスワード管理支援システム
22日前
個人
AIによる情報の売買の仲介
1か月前
株式会社カクシン
支援装置
2か月前
個人
行動時間管理システム
24日前
株式会社キーエンス
受発注システム
1日前
個人
パスポートレス入出国システム
1か月前
日本精機株式会社
施工管理システム
1か月前
個人
アンケート支援システム
1か月前
個人
システム及びプログラム
15日前
株式会社キーエンス
受発注システム
1日前
株式会社キーエンス
受発注システム
1日前
株式会社アジラ
進入判定装置
1か月前
個人
AIキャラクター制御システム
22日前
個人
食品レシピ生成システム
1日前
個人
海外支援型農作物活用システム
14日前
サクサ株式会社
中継装置
2か月前
サクサ株式会社
中継装置
22日前
個人
人格進化型対話応答制御システム
22日前
個人
社会還元・施設向け供給支援構造
22日前
大同特殊鋼株式会社
疵判定方法
8日前
大阪瓦斯株式会社
住宅設備機器
1か月前
個人
SaaS型勤務調整支援システム
22日前
個人
未来型家系図構築システム
14日前
続きを見る
他の特許を見る