TOP
|
特許
|
意匠
|
商標
特許ウォッチ
Twitter
他の特許を見る
公開番号
2025146324
公報種別
公開特許公報(A)
公開日
2025-10-03
出願番号
2024047035
出願日
2024-03-22
発明の名称
画像処理プログラム及び情報処理装置
出願人
ブラザー工業株式会社
代理人
名古屋国際弁理士法人
主分類
G06F
3/12 20060101AFI20250926BHJP(計算;計数)
要約
【課題】印刷装置で印刷させる画像を情報処理装置で生成するにあたり、所望のサイズとは異なるサイズの画像が生成されることを抑制可能な技術を提供する。
【解決手段】情報処理装置は、印刷画像情報を取得する。印刷画像情報は、画像内容情報と、サイズ関連情報とを含む。画像内容情報は、印刷装置で印刷可能な印刷画像の内容を示す。サイズ関連情報は、媒体サイズを直接または間接的に示す。情報処理装置は、サイズ関連情報により示される媒体サイズを、登録済サイズとして登録する。情報処理装置は、画像内容情報が示す印刷画像を、登録済サイズとして登録されている媒体サイズのうちの、サイズ関連情報により示される媒体サイズに合わせて描画する。
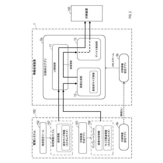
【選択図】図2
特許請求の範囲
【請求項1】
制御部を備えた情報処理装置における前記制御部が実行可能な画像処理プログラムであって、
前記制御部に、
印刷画像情報を取得する取得処理であって、前記印刷画像情報は、印刷装置で印刷可能な印刷画像の内容を示す画像内容情報と、前記印刷画像が印刷される被印刷媒体のサイズである媒体サイズを直接または間接的に示すサイズ関連情報とを含む、取得処理と、
前記取得処理により取得された前記サイズ関連情報により示される前記媒体サイズを、登録済サイズとして登録する登録処理と、
前記取得処理により取得された前記画像内容情報が示す前記印刷画像を、前記登録済サイズとして登録されている前記媒体サイズのうちの、前記サイズ関連情報により示される前記媒体サイズに合わせて、描画する、描画処理と、
前記描画処理により描画された前記印刷画像の情報を含む印刷コマンドを前記印刷装置へ送信する送信処理と、
を実行させる画像処理プログラム。
続きを表示(約 2,200 文字)
【請求項2】
請求項1に記載の画像処理プログラムであって、
前記送信処理は、前記サイズ関連情報により示される前記被印刷媒体のサイズを示す媒体サイズ情報を前記印刷装置へ送信することを含み、
前記印刷装置は、前記媒体サイズ情報により示される前記媒体サイズの前記被印刷媒体に前記印刷画像を印刷するように構成されている、
画像処理プログラム。
【請求項3】
請求項1または請求項2に記載の画像処理プログラムであって、
前記登録処理は、前記取得処理により取得された前記サイズ関連情報により示される前記媒体サイズが前記登録済サイズとして登録されていない場合に、当該媒体サイズを前記登録済サイズとして新規に登録する、
画像処理プログラム。
【請求項4】
請求項1または請求項2に記載の画像処理プログラムであって、
前記取得処理で取得される前記サイズ関連情報は、当該サイズ関連情報により示される前記媒体サイズに対応した第1IDを含み、
前記登録済サイズとして登録されている前記媒体サイズは、当該媒体サイズに対応した第2IDが対応付けられて当該第2IDと共に登録されており、
前記登録処理は、前記第1IDと同じ値の前記第2IDが前記登録済サイズとして登録されていない場合、前記第1IDと同じ値の前記第2IDを、前記第1IDに対応した前記媒体サイズを対応付けて、前記登録済サイズとして新規に登録する、
画像処理プログラム。
【請求項5】
請求項1または請求項2に記載の画像処理プログラムであって、
前記取得処理で取得される前記サイズ関連情報は、当該サイズ関連情報により示される前記媒体サイズに対応した第1IDを含み、
前記登録済サイズとして登録されている前記媒体サイズは、当該媒体サイズに対応した第2IDが対応付けられて当該第2IDと共に登録されており、
前記登録処理は、前記第1IDと同じ値の前記第2IDが登録されているもののその第2IDには前記第1IDに対応した前記媒体サイズとは異なる前記媒体サイズが対応付けられている場合に実行される処理として、
当該第2IDとは異なる値の新たな第2IDを生成すると共に、前記サイズ関連情報内の前記第1IDの値を当該新たな第2IDと同じ値に更新する第1処理と、
前記第1処理の実行後に実行される第2処理であって、前記第1処理により生成された前記新たな第2IDを、前記サイズ関連情報内の前記第1IDに対応した前記媒体サイズを対応付けて、前記登録済サイズとして新規に登録する、第2処理と、
を含む、画像処理プログラム。
【請求項6】
請求項1または請求項2に記載の画像処理プログラムであって、
前記取得処理で取得される前記サイズ関連情報は、当該サイズ関連情報により示される前記媒体サイズに対応した第1IDを含み、
前記登録済サイズとして登録されている前記媒体サイズは、当該媒体サイズに対応した第2IDが対応付けられて当該第2IDと共に登録されており、
前記登録処理は、前記第1IDに対応した前記媒体サイズが、前記第1IDとは異なる値の前記第2IDと対応付けられて前記登録済サイズとして登録されている場合、当該第1IDに対応する前記媒体サイズを新たに登録することに代えて、前記サイズ関連情報内の前記第1IDの値を当該第2IDの値に更新する、
画像処理プログラム。
【請求項7】
請求項1または請求項2に記載の画像処理プログラムであって、
前記媒体サイズは、前記印刷画像の長さに対応する長さである媒体長を含み、
前記印刷画像情報は、前記媒体長を前記印刷画像の長さに応じて変化させることが可能であるか否かを示す可変長設定情報を含み、
前記登録処理は、前記媒体長を変化可能であることを前記可変長設定情報が示していることに応じて、前記サイズ関連情報により示される前記媒体サイズを、当該媒体サイズのうちの前記媒体長を前記印刷画像の長さに応じて変化可能な前記登録済サイズとして登録する、
画像処理プログラム。
【請求項8】
制御部を備えた情報処理装置であって、
前記制御部は、
印刷画像情報を取得する取得処理であって、前記印刷画像情報は、印刷装置で印刷可能な印刷画像の内容を示す画像内容情報と、前記印刷画像が印刷される被印刷媒体のサイズである媒体サイズを直接または間接的に示すサイズ関連情報とを含む、取得処理と、
前記取得処理により取得された前記サイズ関連情報により示される前記媒体サイズを、登録済サイズとして登録する登録処理と、
前記取得処理により取得された前記画像内容情報が示す前記印刷画像を、前記登録済サイズとして登録されている前記媒体サイズのうちの、前記サイズ関連情報により示される前記媒体サイズに合わせて、描画する、描画処理と、
前記描画処理により描画された前記印刷画像の情報を含む印刷コマンドを前記印刷装置へ送信する送信処理と、
を実行するように構成されている、情報処理装置。
発明の詳細な説明
【技術分野】
【0001】
本開示は、印刷装置に印刷させる画像を情報処理装置で処理する技術に関する。
続きを表示(約 1,500 文字)
【背景技術】
【0002】
特許文献1に開示されている、PCで実行されるプログラムは、印刷装置に印刷させる画像を生成すると共に、印刷させる媒体サイズを決定して、その画像をその媒体サイズの媒体に印刷させる。
【先行技術文献】
【特許文献】
【0003】
特許第6907851号公報
【発明の概要】
【発明が解決しようとする課題】
【0004】
特許文献1に開示されているようなシステムで所望の印刷結果を得るためには、印刷させる媒体のサイズに応じた適切なサイズの画像が情報処理装置で生成されることが望ましい。しかし、例えば情報処理装置で用いられるプログラムの構成に起因して、あるいは当該プログラムが画像生成に用いる各種データの内容等に起因して、意図しないサイズの画像が生成されてしまうことが起こり得る。
【0005】
本開示の一局面は、印刷装置で印刷させる画像を情報処理装置で生成するにあたり、所望のサイズとは異なるサイズの画像が生成されることを抑制可能な技術を提供する。
【課題を解決するための手段】
【0006】
本開示の一局面は、情報処理装置で実行可能な画像処理プログラムを提供する。情報処理装置は、制御部を備える。制御部は画像処理プログラムを実行可能である。画像処理プログラムは、制御部に、取得処理と、登録処理と、描画処理と、送信処理とを実行させる。
【0007】
取得処理は、印刷画像情報を取得する。印刷画像情報は、画像内容情報と、サイズ関連情報とを含む。画像内容情報は、印刷装置で印刷可能な印刷画像の内容を示す。サイズ関連情報は、媒体サイズを直接または間接的に示す。媒体サイズ(例えば互いに直交する長さ及び幅により規定)は、印刷画像が印刷される被印刷媒体のサイズである。
【0008】
登録処理は、取得処理により取得されたサイズ関連情報により示される媒体サイズを、登録済サイズとして登録する。
描画処理は、取得処理により取得された画像内容情報が示す印刷画像を、登録済サイズとして登録されている媒体サイズのうちの、サイズ関連情報により示される媒体サイズに合わせて、描画する。
【0009】
送信処理は、印刷コマンドを前記印刷装置へ送信する。印刷コマンドは、描画処理により描画された印刷画像の情報を含む。
このような画像処理プログラムによれば、取得処理で取得されたサイズ関連情報により示される媒体サイズが、登録済サイズとして登録される。これにより、その登録された媒体サイズに適合したサイズの印刷画像が描画処理により描画される。そのため、印刷装置で印刷させる画像を情報処理装置で生成するにあたり、所望のサイズとは異なるサイズの画像が生成されることを抑制できる。つまり、取得されたサイズ関連情報により示される媒体サイズが登録されていない状態で印刷画像が描画されること(例えばその媒体サイズに適合しない別の登録済サイズに合わせて描画されること)が抑制される。
【0010】
本開示の別の一局面では、制御部を備え、その制御部が上記の登録処理、描画処理及び送信処理を実行するように構成された、情報処理装置が提供されてもよい。その情報処理装置は、登録処理、描画処理及び/または送信処理を、コンピュータプログラムに従って実行するように構成されていてもよいし、いわゆるワイヤードロジックによって実行するように構成されていてもよい。
【図面の簡単な説明】
(【0011】以降は省略されています)
この特許をJ-PlatPat(特許庁公式サイト)で参照する
関連特許
ブラザー工業株式会社
制御装置
6日前
ブラザー工業株式会社
搬送装置
4日前
ブラザー工業株式会社
画像形成装置
2日前
ブラザー工業株式会社
画像形成装置
2日前
ブラザー工業株式会社
液体吐出装置
10日前
ブラザー工業株式会社
画像形成装置
10日前
ブラザー工業株式会社
画像形成装置
6日前
ブラザー工業株式会社
画像形成装置
2日前
ブラザー工業株式会社
画像形成装置
3日前
ブラザー工業株式会社
画像形成装置
2日前
ブラザー工業株式会社
液体吐出装置
10日前
ブラザー工業株式会社
液体吐出ヘッド
2日前
ブラザー工業株式会社
液体吐出ヘッド
6日前
ブラザー工業株式会社
サポートプログラム
9日前
ブラザー工業株式会社
システム及び管理装置
4日前
ブラザー工業株式会社
システム及びプログラム
4日前
ブラザー工業株式会社
システム及びプログラム
4日前
ブラザー工業株式会社
システムおよび画像形成装置
10日前
ブラザー工業株式会社
システムおよび画像形成装置
10日前
ブラザー工業株式会社
システムおよび画像形成装置
10日前
ブラザー工業株式会社
プリンタ、及び切断ユニット
6日前
ブラザー工業株式会社
仮想プリンタ管理プログラム
2日前
ブラザー工業株式会社
プログラム及び情報処理装置
6日前
ブラザー工業株式会社
システムおよび画像形成装置
10日前
ブラザー工業株式会社
システムおよび画像形成装置
10日前
ブラザー工業株式会社
プログラムおよび情報処理装置
6日前
ブラザー工業株式会社
カシメ装置及び缶製品作製装置
10日前
ブラザー工業株式会社
画像形成装置及び画像形成システム
2日前
ブラザー工業株式会社
プログラム、および、画像処理装置
2日前
ブラザー工業株式会社
回転継手装置、モータ、及び工作機械
10日前
ブラザー工業株式会社
画像処理プログラム及び情報処理装置
2日前
ブラザー工業株式会社
プログラム、および、データ処理装置
6日前
ブラザー工業株式会社
情報処理プログラム及び情報処理装置
3日前
ブラザー工業株式会社
トナーカートリッジのリサイクル方法
3日前
ブラザー工業株式会社
情報処理プログラム及び情報処理装置
2日前
ブラザー工業株式会社
画像処理プログラム及び情報処理装置
6日前
続きを見る
他の特許を見る