TOP
|
特許
|
意匠
|
商標
特許ウォッチ
Twitter
他の特許を見る
10個以上の画像は省略されています。
公開番号
2025138198
公報種別
公開特許公報(A)
公開日
2025-09-25
出願番号
2024037140
出願日
2024-03-11
発明の名称
システムおよび画像形成装置
出願人
ブラザー工業株式会社
代理人
弁理士法人コスモス国際特許商標事務所
主分類
H04N
1/00 20060101AFI20250917BHJP(電気通信技術)
要約
【課題】画像形成装置をリモート操作で制御する新たな技術を提供すること。
【解決手段】MFP1は、PC5からクラウド遠隔操作の開始指示を受け付けると、ブラウザ62にて動作可能なブラウザ用P262とCSS261とを含む実行用ファイル26を、匿名アクセスを禁止した非構造化ストレージ201にアップロードし、さらにタッチパネル131に表示中の画面を示すパネル画像データをアップロードする。PC5のブラウザ62は、実行用ファイル26を、匿名アクセスを禁止した非構造化ストレージ201からダウンロードしてブラウザ用P262を取得する。ブラウザ用P262は、PC5に、パネル画像データをダウンロードさせ、CSS261に基づくレイアウトで、ブラウザ62にパネル画像531を表示させ、パネル画像531への操作を受け付けると、操作情報をアップロードし、MFP1は、操作情報をダウンロードして、対応する処理を実行する。
【選択図】図1
特許請求の範囲
【請求項1】
画像形成装置と、情報処理装置と、を含むシステムであって、前記情報処理装置および前記画像形成装置は、インターネットに接続され、
前記情報処理装置は、ブラウザをインストール可能であり、
前記画像形成装置および前記情報処理装置は、前記インターネットに接続されるクラウドストレージであって、匿名アクセスを禁止することが可能な前記クラウドストレージにアクセス可能であり、
前記画像形成装置は、前記情報処理装置からリモート操作の開始指示を受け付けると、前記ブラウザにおいて動作可能なリモート操作用プログラムと、前記リモート操作において操作を受け付けるリモート操作画面のレイアウトを示すレイアウト情報と、を含む1つのファイルを、匿名アクセスを禁止した状態の前記クラウドストレージにアップロードするファイルアップロード処理を実行し、
前記画像形成装置はさらに、前記開始指示を受け付けた後、前記リモート操作画面を示す画像データを、前記クラウドストレージにアップロードする画像アップロード処理を実行可能であり、
前記ブラウザは、前記ファイルが前記クラウドストレージにアップロードされると、前記情報処理装置に、前記クラウドストレージに非匿名でアクセスして前記クラウドストレージから前記ファイルをダウンロードするために必要な第1アクセス情報を用いて、非匿名で前記クラウドストレージにアクセスし、前記クラウドストレージから前記ファイルをダウンロードするファイルダウンロード処理を実行させ、前記ファイルダウンロード処理を前記情報処理装置に実行させることで、ダウンロードされた前記ファイルに含まれる前記リモート操作用プログラムおよび前記レイアウト情報を取得し、
前記リモート操作用プログラムは、前記情報処理装置に、前記クラウドストレージから前記画像データをダウンロードし、前記画像データに示される前記リモート操作画面を、前記レイアウト情報に基づくレイアウトで、前記ブラウザによって前記情報処理装置のユーザインタフェースに表示させる画面表示処理を実行させることが可能であり、
前記リモート操作用プログラムはさらに、前記ユーザインタフェースを介して前記リモート操作画面への操作を受け付けると、前記情報処理装置に、操作内容を示す操作データを、前記クラウドストレージにアップロードする操作アップロード処理を実行させ、
前記画像形成装置は、前記操作データが前記クラウドストレージにアップロードされると、前記操作データを前記クラウドストレージからダウンロードし、前記操作データに示される操作に対応する処理を実行し、前記操作データに示される操作が、画像形成に関する操作であれば、その操作に対応する処理として画像形成処理を実行し、
前記画像形成装置はさらに、前記リモート操作用プログラムによって前記情報処理装置に表示される前記リモート操作画面の内容を変更する事象が発生した場合に、前記画像アップロード処理を実行することによって、変更された前記リモート操作画面を示す前記画像データを、前記クラウドストレージにアップロードし、
前記リモート操作用プログラムは、変更後の前記リモート操作画面を示す前記画像データが前記クラウドストレージにアップロードされると、前記情報処理装置に、前記画面表示処理を実行させ、前記画面表示処理では、前記クラウドストレージから変更後の前記リモート操作画面を示す前記画像データをダウンロードし、変更後の前記リモート操作画面を、前記レイアウト情報に基づくレイアウトで、前記ブラウザを用いて前記ユーザインタフェースに表示させる、
ように構成されるシステム。
続きを表示(約 5,700 文字)
【請求項2】
請求項1に記載するシステムであって、
前記画像形成装置は、ディスプレイを備え、前記ディスプレイに本体操作画面を表示し、前記画像アップロード処理では、前記ディスプレイに表示される前記本体操作画面を仮想的に再現するための画像データを、前記リモート操作画面を示す前記画像データとして、前記クラウドストレージにアップロードし、
前記リモート操作用プログラムは、前記情報処理装置に、前記画面表示処理を実行させることが可能であり、前記画面表示処理では、前記クラウドストレージからダウンロードされた前記画像データに基づく、前記本体操作画面を仮想的に再現する前記リモート操作画面を、前記レイアウト情報に基づくレイアウトで、前記ブラウザを用いて前記ユーザインタフェースに表示させる、
ように構成されるシステム。
【請求項3】
請求項2に記載するシステムであって、
前記画像形成装置は、前記ディスプレイに表示される前記本体操作画面の内容を変更する事象が発生した場合に、前記画像アップロード処理を実行し、前記画像アップロード処理では、変更後の前記本体操作画面を仮想的に再現するための前記画像データを、前記クラウドストレージにアップロードし、
前記リモート操作用プログラムは、変更後の前記本体操作画面を仮想的に再現するための前記画像データが前記クラウドストレージにアップロードされると、前記情報処理装置に前記画面表示処理を実行させ、前記画面表示処理では、前記クラウドストレージから変更後の前記本体操作画面を仮想的に再現するための前記画像データをダウンロードし、変更後の前記本体操作画面を仮想的に再現する前記リモート操作画面を、前記レイアウト情報に基づくレイアウトで、前記ブラウザを用いて前記ユーザインタフェースに表示させる、
ように構成されるシステム。
【請求項4】
請求項2に記載するシステムであって、
前記画像形成装置は、前記クラウドストレージにアップロードされた前記操作データに示される操作に対応する処理の実行に伴って前記本体操作画面の内容を変更可能であり、前記操作データに示される操作に対応する前記処理の実行に伴って前記本体操作画面の内容を変更した場合に、前記画像アップロード処理を実行することによって、前記操作データに示される操作に対応する前記処理に伴う変更後の前記本体操作画面を仮想的に再現するための前記画像データを、前記クラウドストレージにアップロードし、
前記リモート操作用プログラムは、前記操作データに示される操作に対応する前記処理に伴う変更後の前記本体操作画面を仮想的に再現するための前記画像データが前記クラウドストレージにアップロードされると、前記情報処理装置に前記画面表示処理を実行させ、前記画面表示処理では、前記クラウドストレージから前記操作データに示される操作に対応する前記処理に伴う変更後の前記本体操作画面を仮想的に再現するための前記画像データをダウンロードさせ、前記操作データに示される操作に対応する前記処理に伴う変更後の前記本体操作画面を仮想的に再現する前記リモート操作画面を、前記レイアウト情報に基づくレイアウトで、前記ブラウザを用いて前記ユーザインタフェースに表示させる、
ように構成されるシステム。
【請求項5】
請求項1に記載するシステムであって、
前記画像形成装置は、タッチパネルを備え、前記タッチパネルに複数の操作子を含む本体パネル画面を表示し、前記複数の操作子の1つへの操作を受け付けると、操作を受け付けた前記操作子に基づく処理を実行し、
前記リモート操作用プログラムは、前記情報処理装置に、前記画面表示処理を実行させることが可能であり、前記画面表示処理では、前記クラウドストレージからダウンロードされた前記画像データに基づく、前記本体パネル画面を仮想的に再現する前記リモート操作画面を、前記レイアウト情報に基づくレイアウトで、前記ブラウザを用いて前記ユーザインタフェースに表示させ、
前記リモート操作用プログラムはさらに、前記ユーザインタフェースを介して前記リモート操作画面に表示される前記複数の操作子の1つへの操作を受け付けると、前記情報処理装置に前記操作アップロード処理を実行させ、前記操作アップロード処理では、操作を受け付けた前記操作子を特定する情報を前記操作データとして、前記クラウドストレージにアップロードし、
前記画像形成装置は、前記操作データが前記クラウドストレージにアップロードされると、前記操作データを前記クラウドストレージからダウンロードし、前記操作データによって特定される操作子に基づく処理を実行する、
ように構成されるシステム。
【請求項6】
請求項5に記載するシステムであって、
前記画像形成装置は、前記タッチパネルを含む操作盤を備え、前記操作盤には、複数のハードウェアキーも含まれ、前記複数のハードウェアキーの1つへの操作を受け付けると、操作を受け付けた前記ハードウェアキーに基づく処理を実行し、
前記画像形成装置はさらに、前記情報処理装置からリモート操作の開始指示を受け付けると、前記ファイルアップロード処理を実行し、前記ファイルアップロード処理にてアップロードされる前記ファイルには、前記リモート操作用プログラムと、前記レイアウト情報と、前記ハードウェアキーを仮想的に再現するためのキー画像データと、が含まれ、
前記ブラウザは、前記ファイルダウンロード処理を前記情報処理装置に実行させることで、ダウンロードされた前記ファイルに含まれる前記リモート操作用プログラム、前記レイアウト情報、および前記キー画像データを取得し、
前記リモート操作用プログラムは、前記情報処理装置に、前記画面表示処理を実行させることが可能であり、前記画面表示処理では、前記クラウドストレージからダウンロードされた前記ファイルに含まれる前記キー画像データに基づいて、前記ハードウェアキーを仮想的に再現する前記リモート操作画面であって、かつ前記クラウドストレージからダウンロードされた前記画像データに基づいて、前記操作盤を仮想的に再現する前記リモート操作画面を、前記レイアウト情報に基づくレイアウトで、前記ブラウザを用いて前記ユーザインタフェースに表示させ、
前記リモート操作用プログラムはさらに、前記ユーザインタフェースを介して前記リモート操作画面に仮想的に再現される前記複数のハードウェアキーの1つへの操作を受け付けると、前記情報処理装置に前記操作アップロード処理を実行させ、前記操作アップロード処理では、操作を受け付けた前記ハードウェアキーを特定する情報を前記操作データとして、前記クラウドストレージにアップロードし、
前記画像形成装置は、前記操作データが前記クラウドストレージにアップロードされると、前記操作データを前記クラウドストレージからダウンロードし、前記操作データによって特定される前記ハードウェアキーに基づく処理を実行する、
ように構成されるシステム。
【請求項7】
請求項1に記載するシステムであって、
前記画像形成装置は、前記ファイルアップロード処理を実行した後、前記開始指示を行った前記情報処理装置に宛てて、前記リモート操作用プログラムのアップロードが完了したことを示す応答データを送信し、前記応答データには、前記クラウドストレージに非匿名でアクセスして前記クラウドストレージから前記ファイルをダウンロードするために必要な前記第1アクセス情報が含まれ、
前記ブラウザは、前記ファイルが前記クラウドストレージにアップロードされると、前記情報処理装置に、前記ファイルダウンロード処理を実行させ、前記ファイルダウンロード処理では、前記情報処理装置が受信した前記応答データに含まれる前記第1アクセス情報を用いて前記クラウドストレージにアクセスし、前記クラウドストレージから前記ファイルをダウンロードする、
ように構成されるシステム。
【請求項8】
請求項1に記載するシステムであって、
前記画像形成装置は、前記情報処理装置からリモート操作の開始指示を受け付けると、前記ファイルアップロード処理を実行し、前記ファイルアップロード処理では、前記リモート操作用プログラムと、前記レイアウト情報と、に加え、前記操作データを前記クラウドストレージを介して受け渡すために必要な第2アクセス情報を含む前記1つのファイルを、前記クラウドストレージにアップロードし、
前記ブラウザは、前記ファイルが前記クラウドストレージにアップロードされると、前記情報処理装置に、前記ファイルダウンロード処理を実行させ、前記ファイルダウンロード処理では、前記第1アクセス情報を用いて、非匿名で前記クラウドストレージにアクセスし、前記クラウドストレージから前記ファイルをダウンロードし、前記ファイルダウンロード処理を前記情報処理装置に実行させることで、ダウンロードされた前記ファイルに含まれる前記リモート操作用プログラム、前記レイアウト情報、および前記第2アクセス情報を取得し、
前記リモート操作用プログラムはさらに、前記ユーザインタフェースを介して前記リモート操作画面への操作を受け付けると、前記情報処理装置に、前記操作アップロード処理を実行させ、前記操作アップロード処理では、前記第2アクセス情報を用いて前記クラウドストレージにアクセスし、前記操作データを、前記クラウドストレージにアップロードする、
ように構成されるシステム。
【請求項9】
請求項8に記載するシステムであって、
前記クラウドストレージには、前記第1アクセス情報を用いて非匿名でアクセス可能な第1クラウドストレージと、前記第2アクセス情報を用いてアクセス可能な第2クラウドストレージと、が含まれ、
前記第1アクセス情報は、前記第1クラウドストレージに非匿名でアクセスし、前記画像データを前記第1クラウドストレージを介して受け渡すために必要な情報でもあり、
前記第2アクセス情報は、前記第2クラウドストレージにアクセスし、前記画像データを前記第2クラウドストレージを介して受け渡すために必要な情報でもあり、
前記画像形成装置は、前記開始指示を受け付けた後、前記画像アップロード処理を実行可能であり、前記画像アップロード処理では、アップロード対象の前記画像データが1つのデータとして前記第2クラウドストレージに格納可能なデータサイズであれば、前記第2アクセス情報を用いて前記第2クラウドストレージにアクセスし、前記第2クラウドストレージに前記画像データをアップロードし、アップロード対象の前記画像データが1つのデータとして前記第2クラウドストレージに格納可能なデータサイズでなければ、前記第1アクセス情報を用いて前記第1クラウドストレージに非匿名でアクセスし、前記第1クラウドストレージに前記画像データをアップロードし、さらに前記第2アクセス情報を用いて前記第2クラウドストレージにアクセスし、アップロード対象の前記画像データを前記第1クラウドストレージにアップロードしたことを示す場所データを、前記第2クラウドストレージにアップロードし、
前記リモート操作用プログラムは、前記情報処理装置に、前記画面表示処理を実行させることが可能であり、前記画面表示処理では、前記第2クラウドストレージに前記画像データが格納されている場合には、前記第2アクセス情報を用いて前記第2クラウドストレージにアクセスし、前記画像データを前記第2クラウドストレージからダウンロードし、ダウンロードした前記画像データに示される前記リモート操作画面を、前記レイアウト情報に基づくレイアウトで、前記ブラウザを用いて前記ユーザインタフェースに表示させ、前記第2クラウドストレージに前記画像データが格納されておらず前記場所データが格納されている場合には、前記場所データに基づいて、前記第1アクセス情報を用いて前記第1クラウドストレージに非匿名でアクセスし、前記画像データを前記第1クラウドストレージからダウンロードし、前記第1クラウドストレージからダウンロードした前記画像データに示される前記リモート操作画面を、前記レイアウト情報に基づくレイアウトで、前記ブラウザを用いて前記ユーザインタフェースに表示させる、
ように構成されるシステム。
【請求項10】
請求項1に記載するシステムであって、
前記画像形成装置は、前記情報処理装置から前記開始指示を受け付けると、前記ファイルアップロード処理を実行し、前記ファイルアップロード処理では、前記リモート操作用プログラムと前記レイアウト情報とを含む前記1つのファイルを、前記クラウドストレージに設けられた前記画像形成装置用の格納領域にアップロードし、
前記ブラウザは、前記ファイルが前記クラウドストレージに設けられた前記画像形成装置用の前記格納領域にアップロードされると、前記情報処理装置に、前記ファイルダウンロード処理を実行させ、前記ファイルダウンロード処理では、前記第1アクセス情報を用いて、非匿名で前記クラウドストレージにアクセスし、前記クラウドストレージに設けられた前記画像形成装置用の前記格納領域から前記ファイルをダウンロードする、
ように構成されるシステム。
(【請求項11】以降は省略されています)
発明の詳細な説明
【技術分野】
【0001】
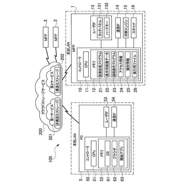
本明細書に開示される技術分野は、情報処理装置から画像形成装置を制御するシステムに関する。
続きを表示(約 3,200 文字)
【背景技術】
【0002】
印刷やスキャン等の画像形成を行うことが可能な画像形成装置であって、操作盤を介して各種の入力操作を受け付ける技術が知られている。例えば特許文献1には、印刷部と、画像読み取り部と、操作パネルと、を備える機能実行装置であって、操作パネルは、ハードウェアキーとタッチパネルとを含み、ハードウェアキーへの入力操作やタッチパネルに表示されるアイコンないしボタンへの入力操作を受け付ける構成が開示されている。
【先行技術文献】
【特許文献】
【0003】
特開2021-73543号公報
【発明の概要】
【発明が解決しようとする課題】
【0004】
近年、画像形成装置に対して、情報処理装置から、その画像形成装置の操作盤に触れずに、その操作盤で受け付けられる入力操作を可能にする、いわゆるリモート操作の要望が高まっている。特許文献1には、画像形成装置をリモート操作で制御する技術は開示されておらず、改善の余地がある。
【課題を解決するための手段】
【0005】
この課題の解決を目的としてなされたシステムは、画像形成装置と、情報処理装置と、を含むシステムであって、前記情報処理装置および前記画像形成装置は、インターネットに接続され、前記情報処理装置は、ブラウザをインストール可能であり、前記画像形成装置および前記情報処理装置は、前記インターネットに接続されるクラウドストレージであって、匿名アクセスを禁止することが可能な前記クラウドストレージにアクセス可能であり、前記画像形成装置は、前記情報処理装置からリモート操作の開始指示を受け付けると、前記ブラウザにおいて動作可能なリモート操作用プログラムと、前記リモート操作において操作を受け付けるリモート操作画面のレイアウトを示すレイアウト情報と、を含む1つのファイルを、匿名アクセスを禁止した状態の前記クラウドストレージにアップロードするファイルアップロード処理を実行し、前記画像形成装置はさらに、前記開始指示を受け付けた後、前記リモート操作画面を示す画像データを、前記クラウドストレージにアップロードする画像アップロード処理を実行可能であり、前記ブラウザは、前記ファイルが前記クラウドストレージにアップロードされると、前記情報処理装置に、前記クラウドストレージに非匿名でアクセスして前記クラウドストレージから前記ファイルをダウンロードするために必要な第1アクセス情報を用いて、非匿名で前記クラウドストレージにアクセスし、前記クラウドストレージから前記ファイルをダウンロードするファイルダウンロード処理を実行させ、前記ファイルダウンロード処理を前記情報処理装置に実行させることで、ダウンロードされた前記ファイルに含まれる前記リモート操作用プログラムおよび前記レイアウト情報を取得し、前記リモート操作用プログラムは、前記情報処理装置に、前記クラウドストレージから前記画像データをダウンロードし、前記画像データに示される前記リモート操作画面を、前記レイアウト情報に基づくレイアウトで、前記ブラウザによって前記情報処理装置のユーザインタフェースに表示させる画面表示処理を実行させることが可能であり、前記リモート操作用プログラムはさらに、前記ユーザインタフェースを介して前記リモート操作画面への操作を受け付けると、前記情報処理装置に、操作内容を示す操作データを、前記クラウドストレージにアップロードする操作アップロード処理を実行させ、前記画像形成装置は、前記操作データが前記クラウドストレージにアップロードされると、前記操作データを前記クラウドストレージからダウンロードし、前記操作データに示される操作に対応する処理を実行し、前記操作データに示される操作が、画像形成に関する操作であれば、その操作に対応する処理として画像形成処理を実行し、前記画像形成装置はさらに、前記リモート操作用プログラムによって前記情報処理装置に表示される前記リモート操作画面の内容を変更する事象が発生した場合に、前記画像アップロード処理を実行することによって、変更された前記リモート操作画面を示す前記画像データを、前記クラウドストレージにアップロードし、前記リモート操作用プログラムは、変更後の前記リモート操作画面を示す前記画像データが前記クラウドストレージにアップロードされると、前記情報処理装置に、前記画面表示処理を実行させ、前記画面表示処理では、前記クラウドストレージから変更後の前記リモート操作画面を示す前記画像データをダウンロードし、変更後の前記リモート操作画面を、前記レイアウト情報に基づくレイアウトで、前記ブラウザを用いて前記ユーザインタフェースに表示させる、ように構成される。
【0006】
本明細書に開示されるシステムによれば、情報処理装置からの開始指示を受け付けた画像形成装置が、情報処理装置でのリモート操作を開始するにあたって、リモート操作用プログラムとレイアウト情報とを1つのファイルとして、匿名アクセスを禁止した状態のクラウドストレージにアップロードする。そのファイルのアップロード後、情報処理装置にインストールされたブラウザが、非匿名でクラウドストレージにアクセスしてそのファイルをダウンロードする。これにより、画像形成装置が匿名アクセスを禁止した状態のクラウドサービスにリモート操作用プログラム等をアップロードする場合であっても、ブラウザは、リモート操作用プログラム等をダウンロードでき、リモート操作用プログラムによって適切なリモート操作画面を表示させることができる。
【0007】
上記システムの機能を実現するための制御方法、システムに含まれる画像形成装置、各装置にて実行されるコンピュータプログラム、当該コンピュータプログラムを格納するコンピュータにて読取可能な記憶媒体も、新規で有用である。
【発明の効果】
【0008】
本明細書に開示される技術によれば、画像形成装置をリモート操作で制御する新たな技術が実現される。
【図面の簡単な説明】
【0009】
本形態の遠隔操作システムの概要を示す説明図である。
本形態の遠隔操作システムの概要を示す説明図である。
開始指示手順の例を示すシーケンス図である。
データ構造の例を示す説明図である。
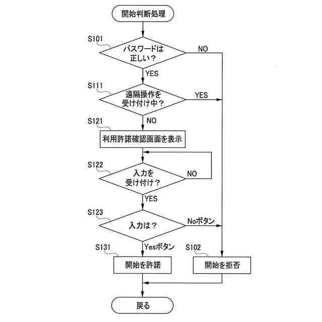
開始判断処理の手順の例を示すフローチャートである。
利用許諾確認画面の例を示す説明図である。
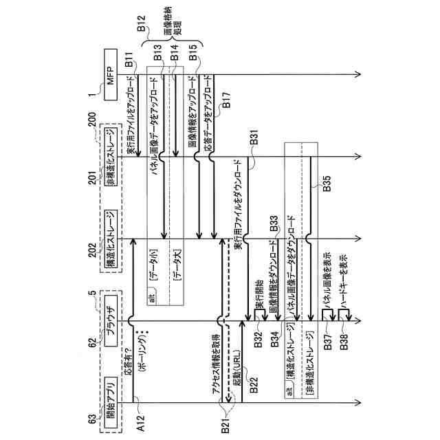
画面準備手順の例を示すシーケンス図である。
実行用ファイルの例を示す説明図である。
画像格納処理の手順の例を示すフローチャートである。
構造化ストレージに格納される情報の例を示す説明図である。
画面が同期している状態の例を示す説明図である。
遠隔操作手順の例を示すシーケンス図である。
ブラウザ画像変更処理の手順の例を示すフローチャートである。
デバイス画像変更処理の手順の例を示すフローチャートである。
操作情報処理の手順の例を示すフローチャートである。
操作終了手順の例を示すシーケンス図である。
【発明を実施するための形態】
【0010】
以下、遠隔操作システムを具体化した実施の形態について、添付図面を参照しつつ詳細に説明する。本明細書では、印刷機能を有する複合機(以下、「MFP」とする)を、インターネットを介してリモート操作するための遠隔操作システムを開示する。
(【0011】以降は省略されています)
この特許をJ-PlatPat(特許庁公式サイト)で参照する
関連特許
ブラザー工業株式会社
空調機
16日前
ブラザー工業株式会社
空調機
16日前
ブラザー工業株式会社
空調機
16日前
ブラザー工業株式会社
空調機
16日前
ブラザー工業株式会社
空調機
16日前
ブラザー工業株式会社
制御装置
6日前
ブラザー工業株式会社
定着装置
18日前
ブラザー工業株式会社
カセット
16日前
ブラザー工業株式会社
カセット
16日前
ブラザー工業株式会社
カセット
16日前
ブラザー工業株式会社
カセット
16日前
ブラザー工業株式会社
搬送装置
4日前
ブラザー工業株式会社
画像形成装置
6日前
ブラザー工業株式会社
画像形成装置
16日前
ブラザー工業株式会社
画像形成装置
16日前
ブラザー工業株式会社
画像形成装置
16日前
ブラザー工業株式会社
液体吐出装置
10日前
ブラザー工業株式会社
液体吐出装置
10日前
ブラザー工業株式会社
画像形成装置
10日前
ブラザー工業株式会社
画像形成装置
2日前
ブラザー工業株式会社
画像形成装置
18日前
ブラザー工業株式会社
画像形成装置
2日前
ブラザー工業株式会社
画像形成装置
3日前
ブラザー工業株式会社
画像形成装置
2日前
ブラザー工業株式会社
画像形成装置
2日前
ブラザー工業株式会社
液体吐出ヘッド
6日前
ブラザー工業株式会社
液体吐出ヘッド
17日前
ブラザー工業株式会社
液体吐出ヘッド
17日前
ブラザー工業株式会社
液体吐出ヘッド
18日前
ブラザー工業株式会社
液体吐出ヘッド
2日前
ブラザー工業株式会社
圧電アクチュエータ
17日前
ブラザー工業株式会社
サポートプログラム
9日前
ブラザー工業株式会社
システム及び管理装置
4日前
ブラザー工業株式会社
システム及びプログラム
4日前
ブラザー工業株式会社
システム及びプログラム
4日前
ブラザー工業株式会社
システムおよび画像形成装置
10日前
続きを見る
他の特許を見る