TOP
|
特許
|
意匠
|
商標
特許ウォッチ
Twitter
他の特許を見る
公開番号
2025141497
公報種別
公開特許公報(A)
公開日
2025-09-29
出願番号
2024041457
出願日
2024-03-15
発明の名称
画像処理プログラム及び情報処理装置
出願人
ブラザー工業株式会社
代理人
名古屋国際弁理士法人
主分類
G06F
16/583 20190101AFI20250919BHJP(計算;計数)
要約
【課題】所望のデータベースが関連付けられた印刷画像のファイルを容易に見つけ出すことが可能な技術を提供する。
【解決手段】情報処理装置の制御部は、検索情報の入力を受け付ける。制御部は、1つ以上の印刷画像ファイルの中から、特定データベース連結ファイルを検索する。1つ以上の印刷画像ファイルの各々は、印刷装置で印刷可能な印刷画像の情報を含む。特定データベース連結ファイルは、(i)データベースが関連付けられていて当該データベース中のデータが印刷画像に含まれており且つ(ii)当該データベースが検索情報に基づく検索条件を満たしている、印刷画像ファイルである。制御部は、検索された特定データベース連結ファイルを示す検索ファイル情報を表示する。
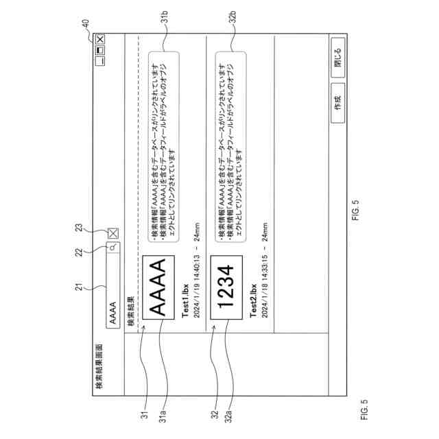
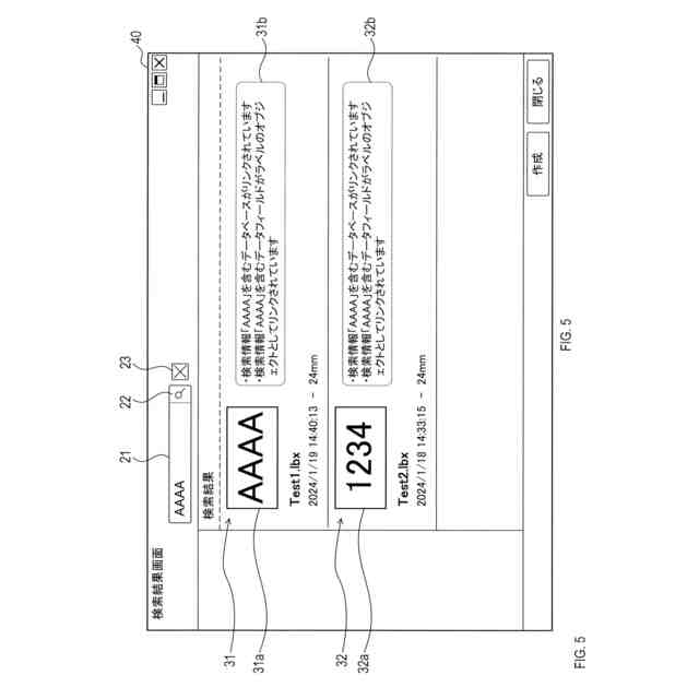
【選択図】図5
特許請求の範囲
【請求項1】
入力部と、
表示部と、
制御部と、
を備えた情報処理装置における前記制御部が実行可能な画像処理プログラムであって、
前記制御部に、
前記入力部を介して検索情報の入力を受け付ける入力受付処理と、
保存領域に保存されている1つ以上の印刷画像ファイルの中から特定データベース連結ファイルを検索する検索処理であって、前記印刷画像ファイルは、印刷装置で印刷可能な印刷画像の情報を含み、前記特定データベース連結ファイルは、(i)データベースが関連付けられていて当該データベース中のデータが前記印刷画像に含まれており且つ(ii)当該データベースが前記検索情報に基づく検索条件を満たしている、前記印刷画像ファイルである、検索処理と、
前記検索処理で検索された前記特定データベース連結ファイルを示す検索ファイル情報を前記表示部に表示する表示処理と、
を実行させる、画像処理プログラム。
続きを表示(約 1,400 文字)
【請求項2】
請求項1に記載の画像処理プログラムであって、
前記検索情報は、前記データベースに入力可能なデータを含み、
前記検索条件は、前記データが前記データベースに含まれていることによって満たされる、
画像処理プログラム。
【請求項3】
請求項2に記載の画像処理プログラムであって、
前記入力受付処理は、
前記データの入力欄を前記表示部に表示することと、
前記入力部を介して前記入力欄への前記データの入力を受け付けることと、
を含む、画像処理プログラム。
【請求項4】
請求項1に記載の画像処理プログラムであって、
前記データベースが関連付けられている前記印刷画像ファイルは、前記データベースの所在を示す所在情報を含み、
前記検索処理は、前記所在情報が示す前記所在にある前記データベースが前記検索条件を満たしているか否かを判断する、
画像処理プログラム。
【請求項5】
請求項1に記載の画像処理プログラムであって、
前記データベースは、前記印刷画像に関連付いたデータフィールドであるリンクフィールドを含み、
前記データベースが関連付けられている前記印刷画像は、前記リンクフィールド内の1つのデータを示すオブジェクトであるリンクオブジェクトを含み、
前記検索処理は、前記データベースが前記検索条件を満たしているか否かを、当該データベースのうちの前記リンクフィールドを判断対象として判断する、
画像処理プログラム。
【請求項6】
請求項1~請求項5のいずれか1項に記載の画像処理プログラムであって、
前記検索ファイル情報は、
前記特定データベース連結ファイルが示す前記印刷画像のサンプルであるサンプル画像と、
当該特定データベース連結ファイルに関連付けられている前記データベースが前記検索条件を満たしていることを示す条件充足情報と、
を含む、画像処理プログラム。
【請求項7】
請求項2または請求項3に記載の画像処理プログラムであって、
前記検索ファイル情報は、
前記特定データベース連結ファイルが示す前記印刷画像のサンプルであるサンプル画像と、
当該特定データベース連結ファイルに関連付けられている前記データベースには前記入力受付処理により受け付けられた前記データが含まれていること、を示す条件充足情報と、
を含む、画像処理プログラム。
【請求項8】
制御部を備えた情報処理装置であって、
前記制御部は、
入力部を介して検索情報の入力を受け付ける入力受付処理と、
保存領域に保存されている1つ以上の印刷画像ファイルの中から特定データベース連結ファイルを検索する検索処理であって、前記印刷画像ファイルは、印刷装置で印刷可能な印刷画像の情報を含み、前記特定データベース連結ファイルは、データベースが関連付けられていて当該データベース中のデータが前記印刷画像に含まれており且つそのデータベースが前記検索情報に基づく検索条件を満たしている前記印刷画像ファイルである、検索処理と、
前記検索処理で検索された前記特定データベース連結ファイルを示す検索ファイル情報を表示部に表示する表示処理と、
を実行するように構成されている、情報処理装置。
発明の詳細な説明
【技術分野】
【0001】
本開示は、印刷装置に印刷させる画像を情報処理装置で処理する技術に関する。
続きを表示(約 1,700 文字)
【背景技術】
【0002】
特許文献1は、印字ラベルに配置されるオブジェクトにデータベースのデータを組み込む技術を開示している。
【先行技術文献】
【特許文献】
【0003】
特開2019-051657号公報
【発明の概要】
【発明が解決しようとする課題】
【0004】
データベースのデータが組み込まれた印字ラベルをファイルとして保存しておくことでその印字ラベルを再び印刷させたり編集したりすることが可能となる。
この場合において、保存されているファイルにどのようなデータベースが関連付けられているのか、換言すればどのデータベースのどのデータが組み込まれているのか、を把握するために、ファイルを逐一開いて確認することが要求されるのは、使用者の使い勝手の低下を招く。
【0005】
本開示の一局面は、所望のデータベースが関連付けられた印刷画像のファイルを容易に見つけ出すことが可能な技術を提供する。
【課題を解決するための手段】
【0006】
本開示の一局面は、情報処理装置で実行可能な画像処理プログラムを提供する。情報処理装置は、入力部と、表示部と、制御部とを備える。制御部は、画像処理プログラムを実行可能である。画像処理プログラムは、制御部に、入力受付処理と、検索処理と、表示処理とを実行させる。
【0007】
入力受付処理は、入力部を介して検索情報の入力を受け付ける。
検索処理は、保存領域に保存されている1つ以上の印刷画像ファイルの中から、特定データベース連結ファイルを検索する。印刷画像ファイルは、印刷装置で印刷可能な印刷画像の情報を含む。特定データベース連結ファイルは、(i)データベースが関連付けられていて当該データベース中のデータが前記印刷画像に含まれており且つ(ii)当該データベースが検索情報に基づく検索条件を満たしている、前記印刷画像ファイルである。つまり、上記(i)及び(ii)を満たす印刷画像ファイルのことを特定データベース連結ファイルと称している。
【0008】
表示処理は、検索ファイル情報を表示部に表示する。検索ファイル情報は、検索処理で検索された特定データベース連結ファイルを示す。
このような画像処理プログラムによれば、検索情報が入力されると、その検索情報に基づいて、検索条件を満たす印刷画像ファイル、即ち特定データベース連結ファイルが検索される。そのため、情報処理装置の使用者は、1つ以上の印刷画像ファイルの中から、所望のデータベースが関連付けられた印刷画像ファイルを容易に見つけ出すことができる。
【0009】
なお、検索情報として受け付け可能な情報は、例えばテキストを含んでいてもよいし、テキスト以外の情報を含んでいてもよい。また、検索条件はどのように決められてもよい。検索条件は、例えば、入力された検索情報を含んでいることであってもよいし、入力された検索情報に合致していることであってもよい。検索情報に合致している、とは、例えば、データベースのファイル名が検索情報を含んでいること、検索情報がデータベースの属性を示している場合にデータベースがその属性を有していること、であってもよい。保存領域は、情報処理装置が有していてもよいし情報処理装置の外部に存在していてもよい。情報処理装置は、印刷画像ファイルに基づく印刷画像の印刷を印刷装置に指示可能であってもよい。
【0010】
本開示の別の一局面では、制御部を備え、その制御部が上記の入力受付処理、検索処理及び表示処理を実行するように構成された、情報処理装置が提供されてもよい。その情報処理装置は、入力受付処理、検索処理及び/または表示処理を、コンピュータプログラムに従って実行するように構成されていてもよいし、いわゆるワイヤードロジックによって実行するように構成されていてもよい。
【図面の簡単な説明】
(【0011】以降は省略されています)
この特許をJ-PlatPat(特許庁公式サイト)で参照する
関連特許
ブラザー工業株式会社
制御装置
8日前
ブラザー工業株式会社
搬送装置
6日前
ブラザー工業株式会社
液体吐出装置
今日
ブラザー工業株式会社
画像形成装置
5日前
ブラザー工業株式会社
画像形成装置
4日前
ブラザー工業株式会社
画像形成装置
4日前
ブラザー工業株式会社
画像形成装置
4日前
ブラザー工業株式会社
画像形成装置
4日前
ブラザー工業株式会社
画像形成装置
8日前
ブラザー工業株式会社
液体吐出ヘッド
4日前
ブラザー工業株式会社
システム及び管理装置
6日前
ブラザー工業株式会社
システム及びプログラム
6日前
ブラザー工業株式会社
システム及びプログラム
6日前
ブラザー工業株式会社
仮想プリンタ管理プログラム
4日前
ブラザー工業株式会社
プログラム及び情報処理装置
8日前
ブラザー工業株式会社
プログラムおよび情報処理装置
8日前
ブラザー工業株式会社
画像形成装置及び画像形成システム
4日前
ブラザー工業株式会社
プログラム、および、画像処理装置
4日前
ブラザー工業株式会社
画像処理プログラム及び情報処理装置
8日前
ブラザー工業株式会社
プログラム、および、データ処理装置
8日前
ブラザー工業株式会社
トナーカートリッジのリサイクル方法
5日前
ブラザー工業株式会社
情報処理プログラム及び情報処理装置
今日
ブラザー工業株式会社
情報処理プログラム及び情報処理装置
5日前
ブラザー工業株式会社
情報処理プログラム及び情報処理装置
4日前
ブラザー工業株式会社
画像処理プログラム及び情報処理装置
4日前
ブラザー工業株式会社
画像処理装置、画像処理方法、および、プログラム
8日前
ブラザー工業株式会社
画像処理プログラム、情報処理装置、及び画像処理方法
8日前
ブラザー工業株式会社
現像カートリッジのリサイクル方法および画像形成装置
今日
ブラザー工業株式会社
プリンタ及びプリンタのためのコンピュータプログラム
4日前
ブラザー工業株式会社
通信装置及び通信装置のためのコンピュータプログラム
8日前
ブラザー工業株式会社
サーバ、通信システム、および、コンピュータプログラム
今日
ブラザー工業株式会社
印刷装置
今日
ブラザー工業株式会社
サポートプログラム
7日前
ブラザー工業株式会社
通信装置、画像処理装置、及びそれらのためのコンピュータプログラム
8日前
ブラザー工業株式会社
通信装置、画像処理装置、及びそれらのためのコンピュータプログラム
8日前
ブラザー工業株式会社
通信装置、通信装置のためのコンピュータプログラム、及び、通信装置によって実行される方法
8日前
続きを見る
他の特許を見る