TOP
|
特許
|
意匠
|
商標
特許ウォッチ
Twitter
他の特許を見る
公開番号
2025144368
公報種別
公開特許公報(A)
公開日
2025-10-02
出願番号
2024044113
出願日
2024-03-19
発明の名称
コイル装置
出願人
新電元工業株式会社
代理人
個人
,
個人
,
個人
,
個人
主分類
H01F
17/04 20060101AFI20250925BHJP(基本的電気素子)
要約
【課題】本発明は、ケース内のコアに応力が発生することを抑制して、当該コアが割れることを抑制できるコイル装置を提供する。
【解決手段】コイル装置100は、板状に形成されたコア1と、コア1の板厚方向A1の一方側に開口し、コア1が収容されるコアケース2と、コイル3及びコイル3が収容されるコイルケース8を有し、コアケース2に対して板厚方向A1の一方側に重ねて配置されるコイルユニット4と、弾性変形可能な材料からなり、コア1及びコアケース2の間に挟まれる弾性部材30と、を備える。
【選択図】図1
特許請求の範囲
【請求項1】
板状に形成されたコアと、
前記コアの板厚方向の一方側に開口し、前記コアが収容されるコアケースと、
コイル及び前記コイルが収容されるコイルケースを有し、前記コアケースに対して前記板厚方向の一方側に重ねて配置されるコイルユニットと、
弾性変形可能な材料からなり、前記コアと前記コアケースとの間に挟まれる弾性部材と、を備えるコイル装置。
続きを表示(約 220 文字)
【請求項2】
前記弾性部材が、前記板厚方向において前記コアと前記コアケースとの間に挟まれる弾性シートである請求項1に記載のコイル装置。
【請求項3】
弾性変形可能な材料からなり、前記板厚方向において前記コアと前記コイルケースとの間に挟まれる弾性シートからなる第二弾性部材がさらに設けられる請求項1に記載のコイル装置。
【請求項4】
前記弾性シートは、放熱シートである請求項2又は請求項3に記載のコイル装置。
発明の詳細な説明
【技術分野】
【0001】
本開示は、電磁誘導を利用して、非接触で対象物に電力を供給する給電装置、又は非接触で対象物から電力の供給を受ける受電装置等に適用可能なコイル装置に関する。
続きを表示(約 1,700 文字)
【背景技術】
【0002】
非接触で対象物に電気を供給する給電装置として、特許文献1に示されるIH(Induction Heating)式誘導加熱調理器が知られている。この誘導加熱調理器は、調理容器が載置されるトッププレートと、調理容器を加熱する加熱コイルと、当該加熱コイルが載置されるコイルベースと、を有する。コイルベースには、フェライトコアを保持するための複数のフェライト保持部がさらに備えられている。非接触で対象物に電気を供給する給電装置としては、上記した誘導加熱調理器の他に、スマートフォン用のワイヤレス充電装置などもある。
また、給電装置と対をなすものとして、非接触で対象物から電気の供給を受ける受電装置もある。
【先行技術文献】
【特許文献】
【0003】
特開2020-119693号公報
【発明の概要】
【発明が解決しようとする課題】
【0004】
ところで、上述した給電装置や受電装置などのコイル装置は、ケース内にコア(フェライトコア)を備えている。このため、上記のコイル装置では、ケースを通じてコアに対して外力が作用した際に、当該外力に基づいてコアに大きな応力が生じると、当該コアが割れてしまう可能性がある。
【0005】
本発明は、上述した事情に鑑みてなされたものであって、ケース内のコアに応力が発生することを抑制して、当該コアが割れることを抑制できるコイル装置を提供することを目的とする。
【課題を解決するための手段】
【0006】
この課題を解決するために本発明は、板状に形成されたコアと、前記コアの板厚方向の一方側に開口し前記コアが収容されるコアケースと、コイル及び該コイルが収容されるコイルケースを有し前記コアケースに対して前記板厚方向の一方側に重ねて配置されるコイルユニットと、弾性変形可能な材料からなり前記コア及び前記コアケースの間に挟まれる弾性部材と、を備える。
【発明の効果】
【0007】
本発明では、コアケースとコアケース内に収容されたコアとの間に、弾性変形可能な材料からなる弾性部材が設置されている。このため、コイル装置に外力が作用することでコアケースが変形しても、当該コアケースの変形を、コアケースとコアとの間に介在する弾性部材において吸収することができる。これにより、コアケースの変形がコアに伝わることを抑制できる。したがって、コイル装置に作用する外力に基づいて、該コアケース内のコアに応力が生じて当該コアが割れてしまうことを抑制することができる。
【図面の簡単な説明】
【0008】
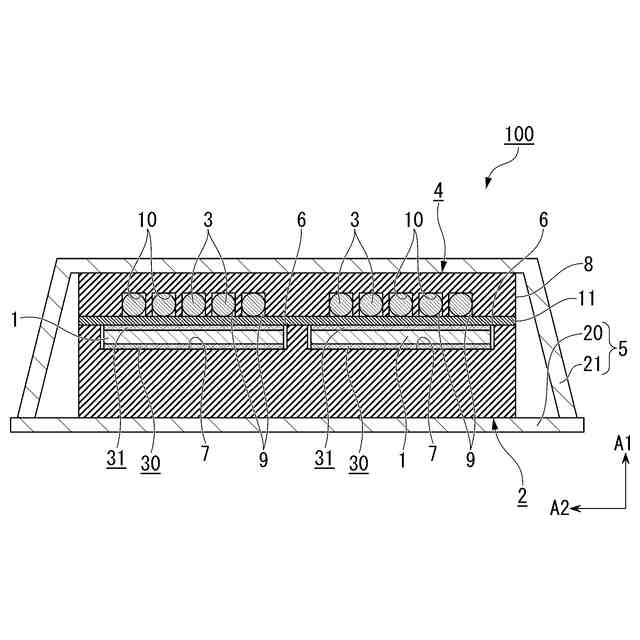
本発明の一実施形態に係るコイル部品の縦断面図である。
図1の要部を拡大した断面図である。
【発明を実施するための形態】
【0009】
以下、図1及び図2を参照して本発明の一実施形態に係るコイル装置100について説明する。
図1に示すように、コイル装置100は、コア1と、コア1が収容されるコアケース2と、コイル3及びコイル3が収容されるコイルケース8を有するコイルユニット4と、第一弾性部材30及び第二弾性部材31と、を備える。また、本実施形態のコイル装置100は、これらコアケース2及びコイルユニット4が収容される筐体5も備える。
当該コイル装置100では、コイル3に通電することで非接触な状態で外部に電力を供給するための誘電磁界を周囲に発生させる、あるいは、誘電磁界内に位置することで非接触な状態で外部から電力の供給を受ける、ことが可能である。
【0010】
以下の説明において、図面の上下方向を板厚方向A1と表現し、水平方向を板面方向A2と表現する。また、これら上下方向及び水平方向は、図面内で示されるコイル装置100の方向であり、当該コイル装置100の向きが変わればこれら上下及び水平の向きが変化するのは当然である。
(【0011】以降は省略されています)
この特許をJ-PlatPat(特許庁公式サイト)で参照する
関連特許
新電元工業株式会社
水素製造システム
1か月前
新電元工業株式会社
電源装置及び制御方法
26日前
新電元工業株式会社
ボビン及びトランス装置
28日前
新電元工業株式会社
半導体モジュール及び電子回路
12日前
新電元工業株式会社
制御回路及びスイッチング電源
1か月前
新電元工業株式会社
液体用ホース及び液体塗布装置
1か月前
新電元工業株式会社
テープ剥離装置及びテープ剥離方法
5日前
新電元工業株式会社
ウェーハ搬送用ベルヌーイチャック
27日前
新電元工業株式会社
電力変換装置及び電力変換装置の制御方法
1か月前
APB株式会社
蓄電セル
26日前
東ソー株式会社
絶縁電線
28日前
個人
フレキシブル電気化学素子
1か月前
マクセル株式会社
電源装置
20日前
日新イオン機器株式会社
イオン源
1か月前
株式会社東芝
端子台
20日前
株式会社ユーシン
操作装置
1か月前
ローム株式会社
半導体装置
27日前
三菱電機株式会社
回路遮断器
7日前
株式会社GSユアサ
蓄電装置
21日前
株式会社ホロン
冷陰極電子源
1か月前
株式会社GSユアサ
蓄電装置
21日前
太陽誘電株式会社
コイル部品
1か月前
株式会社GSユアサ
蓄電装置
13日前
オムロン株式会社
電磁継電器
1か月前
株式会社GSユアサ
蓄電設備
1か月前
株式会社GSユアサ
蓄電設備
1か月前
日本特殊陶業株式会社
保持装置
29日前
トヨタ自動車株式会社
蓄電装置
1か月前
トヨタ自動車株式会社
バッテリ
26日前
ノリタケ株式会社
熱伝導シート
1か月前
トヨタ自動車株式会社
冷却構造
28日前
日東電工株式会社
積層体
1か月前
トヨタ自動車株式会社
蓄電装置
21日前
北道電設株式会社
配電具カバー
26日前
日本特殊陶業株式会社
保持装置
12日前
サクサ株式会社
電池の固定構造
1か月前
続きを見る
他の特許を見る