TOP
|
特許
|
意匠
|
商標
特許ウォッチ
Twitter
他の特許を見る
10個以上の画像は省略されています。
公開番号
2025144016
公報種別
公開特許公報(A)
公開日
2025-10-02
出願番号
2024043569
出願日
2024-03-19
発明の名称
汎用コンバイン
出願人
井関農機株式会社
代理人
弁理士法人新大阪国際特許事務所
主分類
A01D
65/02 20060101AFI20250925BHJP(農業;林業;畜産;狩猟;捕獲;漁業)
要約
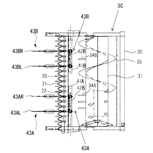
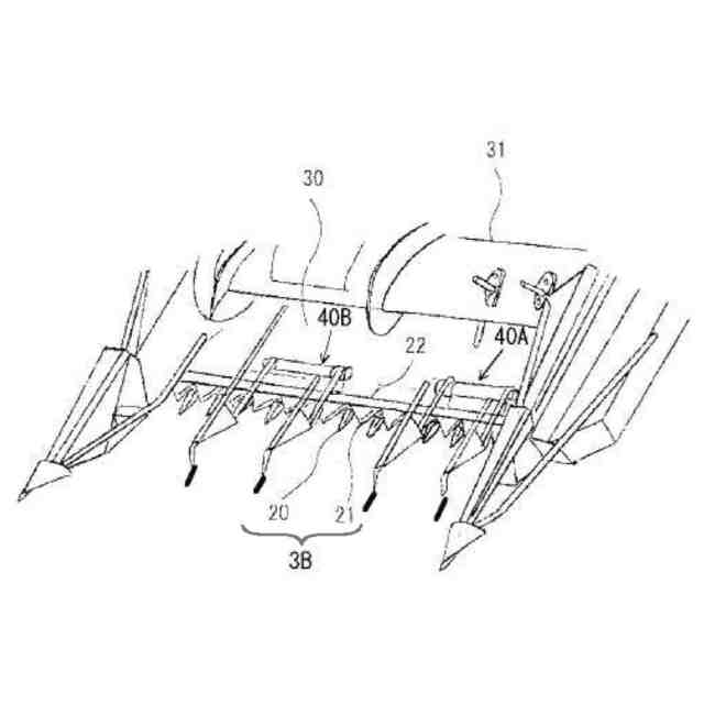
【課題】本発明は、汎用コンバインの刈取前処理装置に設けるピックアップ装置のリフタ先端が圃場面の凹凸に沿って昇降することでリフタ先端が地面に深く突き刺さることなく収穫作業を続けられるようにすることを課題とする。
【解決手段】脱穀装置4を搭載した機体フレーム1の前部に刈取前処理装置3を設けた汎用コンバインにおいて、刈取前処理装置3の掻込み装置3Aに刈刃装置3Bより前に張り出すリフタ43を昇降可能に支軸42で枢支して設け、該リフタ43の先端位置を調整する調整ボルト23をリフタ43から刈刃装置3Bの刈刃プレート22に当接して設けたことを特徴とする汎用コンバイン。
【選択図】図8
特許請求の範囲
【請求項1】
脱穀装置(4)を搭載した機体フレーム(1)の前部に刈取前処理装置(3)を設けた汎用コンバインにおいて、刈取前処理装置(3)の掻込み装置(3A)に刈刃装置(3B)より前に張り出すリフタ(43)を昇降可能に支軸(42)で枢支して設け、該リフタ(43)の先端位置を調整する調整ボルト(23)をリフタ(43)から刈刃装置(3B)の刈刃プレート(22)に当接して設けたことを特徴とする汎用コンバイン。
続きを表示(約 130 文字)
【請求項2】
調整ボルト(23)の前を覆うガイド板(24A)を設けたことを特徴とする請求項1に記載の汎用コンバイン。
【請求項3】
ガイド板(24A)の左右側面を前から後方に向けて側方へ拡げたことを特徴とする請求項2に記載の汎用コンバイン。
発明の詳細な説明
【技術分野】
【0001】
本発明は、小豆などの背丈が低くさらに圃場面に倒れ込んでいる作物を収穫する汎用コンバインに関する。
続きを表示(約 1,100 文字)
【背景技術】
【0002】
汎用コンバインは圃場に植生する作物を刈取前処理装置で刈り取って脱穀装置に取り込み脱穀した作物をグレンタンクに溜めて収穫するが、特開2010-104331号公報に記載の汎用コンバインでは、植生する背丈の低い作物を刈り取ると共に圃場面に倒れ込んでいる作物などもピックアップ装置で拾い上げて脱穀装置に送り込んで収穫するようにしている。
【先行技術文献】
【特許文献】
【0003】
特開2010-104331号公報
【発明の概要】
【発明が解決しようとする課題】
【0004】
前記汎用コンバインのピックアップ装置は、刈取前処理装置の刈刃装置前方に向けて突設したリフタ部で圃場面上の穀稈等を掬い上げるようにしているので、圃場の凹凸によって機体が前方へ傾くとリフタ部の先端が地面に深く突き刺ささって折れ曲がったり破損したりすることがあるので、細心な操縦操作を要する。
【0005】
本発明は、汎用コンバインの刈取前処理装置に設けるピックアップ装置のリフタ先端が圃場面の凹凸に沿って昇降調節可能にすることでリフタ先端が地面に深く突き刺さることなく収穫作業を続けられるようにすることを課題とする。
【課題を解決するための手段】
【0006】
上記本発明の課題は、次の技術手段により解決される。
【0007】
請求項1の発明は、脱穀装置4を搭載した機体フレーム1の前部に刈取前処理装置3を設けた汎用コンバインにおいて、刈取前処理装置3の掻込み装置3Aに刈刃装置3Bより前に張り出すリフタ43を昇降可能に支軸42で枢支して設け、該リフタ43の先端位置を調整する調整ボルト23をリフタ43から刈刃装置3Bの刈刃プレート22に当接して設けたことを特徴とする汎用コンバインとする。
【0008】
請求項2の発明は、調整ボルト23の前を覆うガイド板24Aを設けたことを特徴とする請求項1に記載の汎用コンバインとする。
【0009】
請求項3の発明は、ガイド板24Aの左右側面を前から後方に向けて側方へ拡げたことを特徴とする請求項2に記載の汎用コンバインとする。
【発明の効果】
【0010】
請求項1の発明で、支軸42に枢支したリフタ43は刈刃装置3Bの刈刃プレート22に当接する調整ボルト23でその先端を刈刃装置3Bの直前で地面上に接近するように調整することが容易に出来るので、リフタ部の先端が地面に深く突き刺ささって折れ曲がったり破損することを防止できる。また、圃場に倒れ込んでいる作物背丈の低い作物などをリフタ43で拾い上げて収集を効率的に行える。
(【0011】以降は省略されています)
この特許をJ-PlatPat(特許庁公式サイト)で参照する
関連特許
井関農機株式会社
作業車両
1か月前
井関農機株式会社
作業車両
18日前
井関農機株式会社
作業車両
1か月前
井関農機株式会社
作業車両
1か月前
井関農機株式会社
作業車両
26日前
井関農機株式会社
作業車両
26日前
井関農機株式会社
作業車両
18日前
井関農機株式会社
作業車両
18日前
井関農機株式会社
エンジン
18日前
井関農機株式会社
作業車両
18日前
井関農機株式会社
苗移植機
18日前
井関農機株式会社
作業車両
11日前
井関農機株式会社
農作業機
10日前
井関農機株式会社
作業車両
1か月前
井関農機株式会社
電動芝刈機
12日前
井関農機株式会社
水田作業機
1か月前
井関農機株式会社
圃場作業機
3日前
井関農機株式会社
屋外作業車
24日前
井関農機株式会社
野菜収穫機
10日前
井関農機株式会社
圃場作業機
1か月前
井関農機株式会社
根菜類収穫機
1か月前
井関農機株式会社
乗用型苗植機
1か月前
井関農機株式会社
収穫作業車両
4日前
井関農機株式会社
乗用型苗植機
1か月前
井関農機株式会社
自動精米洗米炊飯機
1か月前
井関農機株式会社
乗用作業車の操縦装置
1か月前
井関農機株式会社
エンドエフェクターおよび作業車両
19日前
井関農機株式会社
作業車両
5日前
井関農機株式会社
水田作業機
1か月前
井関農機株式会社
コンバイン
3日前
井関農機株式会社
営農管理システム
18日前
個人
産卵床
10日前
個人
平板植栽
11日前
個人
草刈り鋏
1か月前
個人
蠅捕獲器
1か月前
個人
釣り用錘
28日前
続きを見る
他の特許を見る